самодельные печки и схемы изготовления
Частный гараж – помещение специфическое, и в зимний период обычно очень холодное. Ни для человека, ни для автомобиля такой микроклимат совершенно не полезен. При этом использование стандартных электрообогревателей зачастую оказывается слишком дорогостоящим и малоэффективным.
Остается изготовить печь для гаража своими руками, выбрав один из подходящих вариантов. Мы предлагаем к рассмотрению четыре способа обустройства печного отопления, каждый из которых имеет свои особенности в создании и эксплуатации.
Наглядные схемы и видео-инструкции помогут определиться с конструкцией печи, выполнить сборку и подключение агрегата самостоятельно.
Содержание статьи:
Особенности отопления гаража
Капитальный гараж с утеплением доступен далеко не каждому автовладельцу. Чаще всего в распоряжении владельца транспортного средства оказывается металлическое строение, лишенное какого-либо утепления. Любая тепловая энергия покидает такое строение практически моментально.
При решении проблемы отопления гаражного помещения, не стоит оценивать его потребность в тепле, опираясь на аналогичный опыт с жилым домом. И дело не только в отсутствии теплоизоляции.
Существует так называемый закон квадрата-куба, который гласит, что когда размеры геометрического тела уменьшаются, отношение размеров поверхности этого тела к его объему увеличивается.

Для нормального хранения автомобиля в гараже температура внутри бокса не должна опускаться ниже +5º и подниматься выше +18º во время присутствия владельцев и выполнения ремонтных работ. Требования регламентированы СП 113.13330.2012
Это сказывается на размерах теплопотерь объекта, поэтому для обогрева одного кубического метра маленького помещения, например, гаража, необходимо больше тепла, чем при отоплении большого дома.
Если для двухэтажного строения может хватить и отопительного прибора мощностью 10 кВт, то на значительно меньший по размерам гараж понадобится агрегат с производительностью около 2-2,5 кВт тепловой энергии.
Для поддержания очень скромной рабочей температуры на уровне 16°С хватит и печки мощностью 1,8 кВт. Если же нужно поддерживать только оптимальную температуру для хранения автомобиля на стоянке – 8°С – подойдет агрегат на 1,2 кВт.
Получается, что расход топлива на обогрев единицы объема пространства гаража может в два раза превышать аналогичный показатель для жилого дома.
Чтобы тщательно прогреть весь гараж, его стены и пол, понадобится еще больше тепловой энергии, т.е. еще более мощный обогреватель. Но даже при наличии утепления тепло будет уходить из помещения слишком быстро. Поэтому рекомендуется осуществлять обогрев не всего гаража, а только так называемого рабочего пространства.

Эффективный обогрев гаража можно выполнить с помощью так называемой «теплой шапки», образуемой в процессе естественно-ограниченной конвекции теплого воздуха в помещении
Идея состоит в том, чтобы сосредоточить прогретый воздух по центру помещения и вокруг него таким образом, чтобы между стенами и потолком оставалась прослойка холодного воздуха. В результате техника и люди будут постоянно находиться в облаке воздуха комфортной температуры, а расход тепловой энергии заметно сократится.
Это явление специалисты называют теплой шапкой, оно возникает благодаря естественно-ограниченной конвекции. Интенсивный поток нагретого воздуха поднимается вверх, но немного не достигает потолка, поскольку его кинетическая энергия гасится более плотными холодными слоями.
Далее горячий поток распределяется по сторонам, слегка касаясь стен или на небольшом расстоянии от них. Почти весь гараж становится теплым, под воздействием конвекционных процессов прогревается даже смотровая яма.
Для достижения подобного эффекта подходят гаражные печи относительно небольшой мощности, создающие интенсивный, но не особенно плотный поток теплого воздуха.

Естественная конвекция воздушной массы в гараже обеспечивает формирование благоприятной для работ температуры даже в смотровой яме
Альтернативный вариант отопления гаража состоит в использовании различных инфракрасных обогревателей. Для гаража с металлическими стенками такое оборудование не особенно хорошо подходит. Инфракрасное излучение плохо отражается от металлических поверхностей, оно проникает сквозь них, в результате все тепло просто уйдет на улицу.
Для кирпичного гаража со стенками в полкирпича инфракрасный обогреватель специалисты также не рекомендуют. Этот материал не пропускает инфракрасные волны, но и не отражает их. Кирпич поглощает этот тип тепловой энергии и со временем ее отдает. К сожалению, на процесс аккумулирования энергии и ее возврат уходит слишком много времени.
Практичные рекомендации по выбору гаражного обогревателя приведены в .
Использование утеплителей: за и против
Гаражи эконом-класса практически никогда не утепляют снаружи по очень простой причине – это слишком дорого для помещения, которым постоянно не пользуются. Да это и не всегда возможно, например, в гаражных кооперативах строения ставят очень близко друг к другу, зазор не позволяет выполнить монтаж утеплителя.

Для утепления гаража можно использовать такие материалы, как ДВП, которые затухают при возгорании. Использование пластика в таком помещении недопустимо
Но и внутренняя теплоизоляция гаражного помещения может оказаться проблематичной. При монтаже утеплительного материала непосредственно на металлические стены в месте их контакта возникает так называемая точка росы, т.е. место скопления конденсата. Практически всегда при контакте с влагой утеплитель приходит в негодность довольно быстро.
Да и для самого строения такая ситуация может оказаться губительной. В металлическом гараже утепление можно поставить, но лучше установить подходящий материал на некотором расстоянии от стены, примерно в 20-50 мм.
От пола следует отступить на 50-70 мм. В качестве профиля лучше всего использовать шайбы, чтобы избежать создания замкнутых контуров под покрытием.
При таком варианте монтажа конденсат также будет появляться, но благодаря циркуляции воздуха под слоем утеплителя влага будет постепенно испаряться, не нанося ощутимого вреда строению.
Однако для гаража, который отапливается постоянно, этот вариант не подходит, поскольку влажность внутри помещения большую часть времени будет чрезмерно высокой. Это подвергнет риску как здоровье людей, так и состояние автомобиля.

При утеплении металлической конструкции между ней и утепляющим материалом необходимо оставить вентиляционный зазор для регулярного отвода конденсата
В качестве материала для такого “вентилируемого” утепления рекомендуется использовать плиты, например, ДВП, ДСП, то есть древесные материалы, самозатухающие при возгорании. Рекомендуемая толщина – около 5 мм.
Прекрасно подойдет плоский ондулин или его аналоги. Эти материалы обладают способностью отражать инфракрасное излучение, что обеспечивает эффективный обогрев.
А вот пластик, даже обладающий свойствами затухания, ставить в гараже категорически не рекомендуется. Такие материалы при возгорании выделяют ядовитые испарения, из-за которых избежавшие пожара люди могут просто отравиться. Запрещено использовать в качестве утепления также плиты, в составе которых имеется асбест.
При утеплении холодного кирпичного гаража рекомендуется сначала оштукатурить стены вермикулитовым составом, чтобы защитить их от влаги. Стены металлического гаража следует окрасить в два слоя, предварительно прогрунтовав основание.

Стены утепляемого гаража необходимо обработать водоотталкивающим составом, чтобы защитить постройку от разрушающего воздействия конденсата
Обзор возможных вариантов
Для гаража чаще всего используют следующие варианты самодельных печей:
- кирпичная дровяная печь;
- буржуйка;
- печь длительного горения;
- печь на отработке.
Каждый из этих вариантов печей для гаража, сделанных своими руками имеет определенные преимущества и недостатки. Некоторые агрегаты можно сочетать, чтобы расширить возможности по отоплению гаража и сделать этот процесс более удобным и выгодным.
#1: Кирпич – могут возникнуть проблемы
Печь из кирпича иногда делают в гараже, хотя это и не самый простой вариант. Устройство с основанием два на два с половиной кирпича справится с обогревом небольшого пространства.
Однако такая печь разогревается не слишком быстро, а потом длительное время отдает тепло. Поэтому она не очень хорошо подходит, если владелец заходит в гараж только на небольшой срок.

Кирпичная печка в стандартном гараже обычно имеет очень скромные размеры, для ее разогрева понадобится примерно час-полтора, разжигать такую печь следует заранее
Создать упомянутую выше теплую шапку с помощью дровяной печи практически невозможно, поскольку она не способна выдавать достаточно интенсивный поток теплого воздуха. Рекомендуется растапливать такую печь заранее, примерно за час до начала работ.
Чтобы сложить дровяную печь этого типа, понадобится огнеупорный и шамотный кирпич. В кладочный раствор следует добавить огнеупорную глину, а также шамотный порошок. Топливную камеру делают на уровне второго-четвертого рядов, которых в кладке обычно не больше девяти. Конечно, понадобится устроить дымоход.
Его также выполняют из огнеупорного кирпича, а внутрь ставят стальной вкладыш. Дымоход выводят через крышу, кладка должна быть аккуратной и ровной.
Выбирая для своего гаража кирпичную печь, следует помнить, что постоянные перепады влаги через некоторое время приведут к ухудшению вязкости кладочного раствора – устройство прослужит не слишком долго.
#2: Буржуйка – просто и надежно
Самый простой вариант самодельной печки в гараж – . Ее не сложно изготовить из подручных материалов. Подойдет и листовой металл, и старый газовый баллон, и отрезок трубы или ненужная бочка.
Главное, чтобы толщина металла была хотя бы 5 мм. Если используется предмет цилиндрической формы, то его сечение должно быть не менее 300 мм.

Классическая буржуйка состоит из корпуса с решеткой, зольником, загрузочной дверцей и дымоходом, который может быть вертикальным или боковым
На дымоход рекомендуется взять металлическую трубу с толщиной стенки 2-3 мм и сечением не менее 120 мм. Из металла или заготовки (баллона, трубы, бочки и т.п.) вырезают топочную камеру. На дне устраивают решетку для топлива, а под решеткой делают ящик для сбора золы. Для этого элемента подойдет и металл толщиной в 3 мм.
Вверху камеру закрывают и вертикально . Остается только приделать ножки из металлического уголка. Чтобы повысить эффективность обогрева, некоторые мастера приваривают к бокам буржуйки небольшие металлические “крылья”.
Это увеличит площадь соприкосновения воздуха с горячим металлом и ускорит прогрев помещения.

Буржуйка для гаража может иметь круглую или квадратную конфигурацию в зависимости от особенностей материала, из которого ее изготавливают
Для буржуйки следует приготовить ровное и прочное основание, покрытое огнестойкими материалами. Окружающие стены также следует защитить от возможного возгорания. Кроме того, в непосредственной близости от буржуйки не должны находиться никакие посторонние предметы.
Поверхность такой печки может нагреваться до очень высоких температур. Следует помнить об опасности получить серьезный ожог при случайном прикосновении к ней.
При изготовлении нужно проявить осторожность. Бывали случаи взрыва остатков газа при распиливании такой емкости. Специалисты рекомендуют предварительно наполнить баллон водой, чтобы вытеснить горючие остатки.
В этом ролике продемонстрирован опыт изготовления классической буржуйки:
#3: Печь на отработке – эффективно, недорого
Конструкция такого агрегата немного сложнее буржуйки, но его эффективность бьет многие рекорды. Отработанное масло найдется у каждого автолюбителя, а если его недостаточно, то приобрести такое топливо можно практически в любом автосервисе по более чем умеренной цене.
В отличие от буржуйки, такую печь делают из двух отделов, соединенных перфорированной металлической трубой.

Старый газовый баллон прекрасно подходит для изготовления различных видов самодельных печей для гаража. Резать такую емкость с помощью сварки следует крайне осторожно
В нижнем отделе сгорает отработанное масло, которое дает некоторое количество тепла и превращается в горючий газ. По трубе этот газ поступает во вторую камеру сгорания, попутно смешиваясь с небольшим количеством воздуха. Полученная газовая смесь при сжигании дает впечатляющее количество тепла.
Первая камера, в которой сгорает отработанное масло, может быть сделана из листового металла или подходящей металлической емкости квадратной, круглой или прямоугольной конфигурации.
Чтобы процесс горения протекал правильно, в этой емкости делают заслонку для регулирования количества поступающего в камеру воздуха.

Перед изготовлением печи на отработке не помешает найти и изучить чертеж такого устройства, хотя строгих требований к конфигурации и размерам нет (+)
Снизу нужно приделать ножки из уголка или толстой проволоки, главное, чтобы они были достаточно прочными, чтобы выдержать металлическую конструкцию. Сверху делают круглое отверстие и вставляют в него трубу с перфорацией.
Обычно эта труба служит опорой для верхней камеры, а также подвергается воздействию высоких температур от сгорающего масла.
Поэтому понадобится конструкция с достаточно толстыми стенками, чтобы выдержать и дополнительный вес, и температуру. В противном случае она очень скоро прогорит. Верхнюю камеру обычно делают в виде короткого и широкого цилиндра из толстого металла.
Сверху нужно поставить дымоход – боковое расположение трубы для удаления дымных газов в этом случае не допускается.

Печь на отработке состоит из двух отдельных камер, которые соединены перфорированной трубкой. В процессе горения из этих отверстий вырывается открытое пламя, что делает устройство пожароопасным
Требования к установке печи на отработке примерно такие же, как и для буржуйки: ровное и прочное основание, защита окружающего пространства от перегрева и возгорания. Сжигать в такой печи можно практически любые отработанные масла: соляру, трансмиссионные составы, мазут, дизельное топливо, керосин и т.д.
Следует воздержаться от экспериментов с составами, для которых характерно легкое и быстрое воспламенение, т.е. от сжигания в такой печи бензина или различных растворителей.
Незначительное количество бензина допускается использовать для розжига отработки. А бензин, пролитый непосредственно возле разогретой печи может привести к серьезному пожару.
Официально оформить разрешение на установку такой печи невозможно, это запрещено нормами пожарной безопасности. Владельцы частного гаража имеют право установить такой агрегат, но они несут полную ответственность за возможное возгорание.

Изогнутую перфорированную трубу используют в разновидности печи на отработке, которую можно также использовать как буржуйку, сжигая не только масло, но и дрова
Интересным решением может стать на отработке. Для этого камеру, в которой сжигают отработку, снабжают изогнутой перфорированной трубкой, а буржуйку делают двухкамерной, чтобы можно было сжигать в ней не только дрова, но и отработанное масло. Агрегат можно использовать для двух видов топлива в зависимости от ситуации.
Дополнительные варианты самодельных печей для гаража описаны в этих статьях:
Подробный обзор по изготовлению и эксплуатации печи на отработке представлен в видео:
#4: Печь длительного горения – высокий КПД
Принцип работы этой печи позволяет получить максимальное количество тепла при сжигании обычных дров. Топливо в большом количестве загружается в камеру сгорания, туда же подается умеренное количество кислорода. В таких условиях древесина не сгорает сразу, а медленно тлеет, выделяя при этом горючий газ.

Печь длительного горения обычно изготавливают из какой-нибудь цилиндрической емкости, но ее можно сделать и квадратной, если будут обеспечены условия для тления дров (+)
Этот газ сгорает в верхнем отделе топочной камеры при очень высокой температуре, чем и обеспечивается высокий КПД такого типа устройств.
Здесь показан процесс создания интересного варианта печи длительного горения:
Загружать топливо в печь длительного сгорания нужно не более двух раз в сутки, поэтому такие устройства больше подходят для постоянного обогрева гаража или для использования в течение длительного срока.
Проще всего изготовить печь длительного горения из металлической бочки с толстыми стенками. Емкость размером около 200 литров считается оптимальной для таких целей. Сверху нужно сделать крышку с дымоходом и отверстием для подачи свежего воздуха, необходимого для горения.

Дымоход печи длительного горения обычно выводят сбоку, а сверху делают отверстие для трубы, через который осуществляется приток воздуха
Сечение дымохода должно составлять около 150 мм, а трубы для воздуха – 100 мм. Важный элемент печи этого типа – груз, который придавливает тлеющие дрова. Для его изготовления понадобится металлический круг чуть уже, чем диаметр бочки, а также два куска швеллера, которые исполнят роль утяжелителя.
В этом элементе также проделывают отверстие для подачи воздуха, к которому потом приваривают трубу с сечением 100 мм. Она должна быть немного длиннее, чем высота корпуса печки.
Сбоку делают загрузочное отверстие для дров с дверцей, а снизу ставят решетку и емкость для золы, приваривают прочные ножки.

Для печи длительного горения лучше всего подходят сухие дрова, которые выделяют в процессе горения минимальное количество смолы
Дрова сгорают в печи длительного горения почти полностью, оставляя небольшое количество отходов, поэтому большой зольник здесь не нужен. Чтобы запустить такую печь, нужно сверху загрузить дрова, прижать их грузом, затем накрыть конструкцию крышкой, продев в соответствующее отверстие трубу для воздуха.
По мере тления количество дров будет уменьшаться, груз опустится. Для установки такой печи также необходимо прочное основание и безопасное окружение.
Можно – достойный пример печей длительного сгорания.
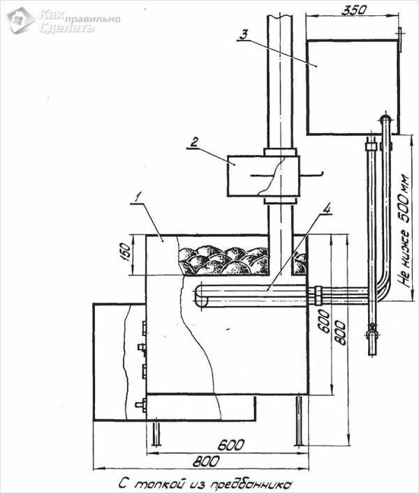
Обогрев от печи – далеко не единственный вариант отопления гаража. Об альтернативных способах теплообеспечения автомобильного бокса написано в .
Выводы и полезное видео по теме
Видео-презентация устройства в гараже автономной отопительной системы на основе печки:
Варианты самодельных печей достаточно разнообразны, и конструкции таких устройств не особенно сложные. Понадобятся навыки работы с металлом, сварочный аппарат и вполне доступные материалы. Правильно изготовленная печь работает эффективно и служит долго.
Подыскиваете эффективный способ обогрева гаража? Или есть опыт изготовления и использования печки? Оставляйте, пожалуйста, комментарии к статье и задавайте вопросы по теме.
sovet-ingenera.com
Буржуйки на дровах своими руками
И в частном дачном домике, и собственном гараже или мастерской всегда неплохо иметь мобильную или стационарную печку-буржуйку. На сегодняшний день в продаже представлено немало разных моделей этих отопительных приборов, но стоить они могут недешево. Поэтому, если есть опыт работы с металлом, подходящий материал и нужные инструменты, часто печки делают самостоятельно.

Буржуйки на дровах своими руками
Какую модель буржуйки на дровах своими руками выбрать – это решать мастеру, так как эти самодельные приборы могут иметь самый различный вид и изготавливаться как из нового материала, так и из подручных металлических предметов.
Народные умельцы научились приспосабливать для изготовления печек-буржуек металлические бочки со стенками, имеющими толщину в 2,5—3 мм, газовые или кислородные баллоны, трубы среднего диаметра, металлические листы и даже диски от больших автомобильных колес.
Содержание статьи
Инструменты для изготовления буржуйки
Для работы с металлом будут нужны специальные инструменты, некоторые из них имеются почти в каждом частном доме, а другие придется прикупить или же арендовать.
- Угло-шлифовальная машинка — «болгарка» и расходный материал в виде отрезных дисков и шлифовальных кругов.
- Аппарат для сварки, мощностью 200 А, и также расходный материал – электроды Ø 3 и 4 мм. Кроме этого, обязательно понадобится специальная маска и защитный костюм.
- Щетка металлическая.
- Молоток-шлакоотделитель.
- Измерительные инструменты — складной метр, длинная металлическая линейка, рулетка, мел или маркер.
- Плоскогубцы, молоток, зубило.
- Дрель со сверлами по металлу различных диаметров.
Выбор модели печки чаще всего зависит от того, где ее планируется расположить, так как для жилых помещений требуется более эстетичный внешний вид отопительного прибора и повышенная безопасность. Поэтому для установки в доме лучше всего подойдет вариант, изготовленный из металлических листов или отрезка трубы среднего диаметра.
Для гаража подойдет любая из существующих моделей, но лучше выбрать такую, которая поможет не только принести в помещение тепло, но и согреть воду.
Чтобы окончательно определиться с выбором, стоит рассмотреть разные варианты и ознакомиться с процессом их изготовления.
Печка из газового баллона
Выполнение монтажа буржуйки из баллона может проходить по-разному:
- С использованием одного баллона с вертикальным или горизонтальным его расположением;
- С использованием двух баллонов, которые устанавливают друг на друга перпендикулярно.
Вторая модель даст больше тепла, так как нагревающаяся площадь печи получается практически в два раза больше.
Баллон сам по себе имеет аккуратный вид, на нем можно сделать варочную поверхность, и если придать готовой печке достойную внешность, то ее можно установить даже в жилом помещении.
Материалы для изготовления
Для изготовления первой модели понадобится один баллон, для второй, соответственно, два, но кроме этого для изготовления печи потребуется:
- Стальной лист толщиной не менее 3 мм — из него будет изготовлена перемычка между топкой и зольником, а также варочная плита.
- Если хочется, чтобы печь выглядела более респектабельно, то нужно приобрести готовую чугунную дверцу с литым рисунком для топки и зольника.
- Если же внешний вид не столь важен, то дверцу можно изготовить из фрагмента металла, вырезанного из самого баллона или из стального листа.
- Труба для дымохода диаметром в 90 — 100 мм.
- Арматурный прут диаметром в 12 — 15 мм или стальной уголок для изготовления колосника и ножек. Колосник из чугуна также можно приобрести в специализированном магазине или колосником может послужить дно уложенного горизонтально баллона, в котором просверливают отверстия.
Любую из моделей можно изготовить не только из баллонов большого размера, но и из маленьких — это будет зависеть от места, которое для печи отведено.
Подготовка газового баллона
Перед началом работ баллон нужно подготовить, тем более, если емкость не новая, а уже была в эксплуатации. В этом случае, внутри баллона всегда может оставаться определенная концентрация газа, и при возникновении искры во время его резки возможен взрыв. Нельзя пренебрегать мероприятиями по соответствующей подготовке емкости, так как проводить работы будет крайне опасно.
Подготовка проводится в такой последовательности:
- Первым делом откручивается вентиль, который расположен сверху баллона, освобождается отверстие, в которое он установлен. Емкость оставляют на улице или в хозяйственном помещении примерно на сутки, заполнив ее до верха водой.
- По истечении этого времени вода из баллона сливается. При этом нужно учесть, что жидкость будет иметь неприятный запах, поэтому сливать ее нужно поодаль от жилья.
- Промытый баллон вполне может использоваться в работе, так как вместе с водой из него должны удалиться последние остатки газа.
Изготовление вертикальной печи из баллона
- Первым шагом подготовленный баллон размечается — на нем обозначаются расположение топки и зольника. Для этой процедуры понадобится маркер и гибкая измерительная рулетка — благодаря ее достаточно жесткой, но эластичной ленте можно вымерить и расчертить места расположения дверец.

Разметка газового баллона
- Следующим этапом идет аккуратное вырезание отмеченных частей с помощью «болгарки». Вырезанные фрагменты почти всегда используются для дальнейшей работы.
Вырезание проемов под дверцы топки и зольника
- Эти элементы обваривают, добавляя бортики, петли и задвижку-ручку, и из них получаются отличные дверцы.
- Далее измеряется внутренний диаметр баллона, и по этому замеру из толстой проволоки сворачивается кольцо, которое станет основой для приваривания арматуры. Таким образом, изготавливается колосник для топки.
- Затем, намечается уровень установки колосника. Решетка должна располагаться на 30 ÷ 50 мм ниже края вырезанного проема для дверцы топки. Колосник становится, таким образом, разделителем камеры зольника и топки. Арматурные прутки привариваются на расстоянии друг от друга 8 ÷10 мм.

Самодельный колосник из металлических прутков
- К одной из сторон отверстия топки привариваются петли, закрепленные на дверце. Очень важно точно выверить место установки, чтобы дверцы легко закрывались и открывались.

Окно топки с навешенной дверцей
- На противоположной стороне от петель закрепляется открытая сверху петля-крючок для задвижки. Она должна надежно держать дверцу закрытой в то время, когда топится печь.
- Таким же образом закрепляется и дверца на поддувале-зольнике.
- Рекомендовано срезать верхнюю часть баллона для приваривания сверху круглой металлической панели, которая будет исполнять роль варочной плиты.
- Дымовая труба может выводиться как через верхнюю часть баллона, так и через заднюю или боковую стенку печи. Если выбрать второй вариант, то верхняя варочная панель будет гораздо больше, так как будет освобождена от дымоотводной трубы.
Если баллон будет стоять вертикально, он займет гораздо меньше места, чем горизонтальный вариант, но нужно помнить и о том, что любая печь должна быть расположена на расстоянии 200 мм от стены, а сами стенки необходимо закрыть жаростойким материалом.
Эффективная буржуйка из двух газовых баллонов

Оригинальная конструкция эффективной буржуйки из двух баллонов
Для изготовления такой буржуйки понадобится два баллона, которые, нагреваясь, способны намного быстрее протопить помещение. Кроме этого, при желании, в вертикальной части печи вполне возможно устроить водогрейный бак, если внутрь установить герметично заваренную емкость, вывести наружу кран и врезать патрубки для подачи и отбора воды.
- Первым шагом идет подготовка баллона, который будет стоять горизонтально. С него срезается верхняя часть, так чтобы получилось круглое отверстие диаметром примерно на 30 – 35 мм меньше внутреннего диаметра баллона.

Круглый проем для дверцы топки
- В донной части будущей топки несколькими линиями высверливаются отверстия диаметром 10 — 12 мм, которые будут в данном случае служить своеобразной колосниковой решеткой.

Отверстия в стенке баллона будут играть роль колосниковой решетки
- Под этим «колосником» приваривается металлический короб — это будет зольник-поддувало. На него затем необходимо установить плотно закрывающуюся дверцу, предотвращающую выпадение углей и золы наружу. В качестве регулятора поступления воздуха она использоваться в данной модели не будет.
- Рядом с зольником привариваются ножки из уголков или арматуры.

Баллон устанавливается на приваренные ножки. Снизу крепится камера-зольник
- Сверху горизонтально расположенного баллона, со стороны, противоположной дверце топки, вырезается круглое отверстие, на которое будет устанавливаться вертикальная часть печи.

Окно топки закрывается дверцей. Вырезается отверстие для монтажа вертикального узла буржуйки
- Устанавливается дверца, которую лучше всего будет изготовить из оголовка другого баллона. В центре вырезается отверстие, в которое вваривается патрубок диаметром порядка 76 мм. Этот патрубок оснащается задвижкой, с помощью которой можно регулировать поступление воздуха в топку, а значит – и интенсивность горения дров. Дверные петли рекомендовано расположить сверху – под действием своей тяжести крышка будет надежно закрывать окно топочной камеры и минимизировать подсасывание воздуха.
Далее переходят к работе над подготовкой второго баллона.
- Самым сложным в подготовке верхней, вертикальной части буржуйки является процесс разметки и вырезания определенной формы, которая идеально подойдет для надевания и приваривается к горизонтальному корпусу.
- В данном случае в вертикальной части печи устроена камера дополнительного теплообмена, т.е. дым, попадая в этот отдел, не сразу уходит в трубу, а задерживается в устроенной камере.

Внутри корпуса вертикального баллона устанавливаются перемычки с противоположно расположенными отверстиями
- Для этого внутри вертикального корпуса ввариваются на определенном расстоянии, которое может варьироваться от 250 до 400 мм, металлические пластины с отверстиями. Отверстия должны быть вырезаны ближе к краю металлической круглой детали. При их установке, отверстие на первой перемычке должно быть расположено на противоположной стороне от отверстия на второй перемычке и так далее. Оптимальным вариантом в данном случае будет монтаж трех подобных перемычек, расположенных равноудалённо друг от друга.
- Вертикальный узел с уже смонтированными перегородками устанавливается и приваривается сверху к горизонтально установленному корпусу. На верхний баллон приваривается патрубок для подключения дымохода.
Видео: буржуйка их двух газовых баллонов
Буржуйка из баллона, установленного горизонтально
Этот вариант буржуйки изготавливается из одного баллона, а технология ведения работы во многом схожа с вариантом, описанным выше. Поэтому стоит рассмотреть лишь отличие некоторых элементов.

Буржуйка из газового баллона
- Вместо вертикального узла в задней верхней части баллона вваривается только патрубок для присоединения дымоходной трубы.

Внутреннее устройство не отличается сложностью
- Для топочной дверцы вырезается прямоугольное отверстие – его вполне можно подогнать по размеру к готовой чугунной дверцы. Если она будет приобретаться в магазине, то стоит обратить внимание на дверцы, предназначенные для поддувальных отверстий кирпичных печей — иногда они идеально подходят для буржуйки из баллона.

Можно подобрать готовую чугунную дверцу
- Можно сделать дверцу и из вырезанной из баллона прямоугольной части. Она по размеру сторон хорошо подойдет для получившегося отверстия, но посередине нее останется отверстие от вентиля. Его необходимо будет заварить вырезанной из металлического листа заплаткой.
- И в предыдущем, и в этом варианте может быть добавлена варочная плита. Для этого, например, из стального прутка, толщиной в 5 — 8 мм, сгибается прямоугольник, который приваривается на емкость, создавая небольшую, но достаточно ровную поверхность.
- Можно вместо проволоки использовать две стальные полосы, привариваемые с двух сторон баллона на всю его длину.
Буржуйка из бочки
Буржуйка, изготовленная из бочки, более объемна и занимает намного больше места, чем печь из баллона. Именно поэтому она способна обогреть помещение с большей площадью. Такая печь также может быть горизонтальной или вертикальной, но как первый, так и второй вариант применяют для обогрева не только хозяйственных и технических помещений, но и жилья.

Вертикальная буржуйка из бочки или трубы большого диаметра
Для изготовления этой буржуйки, понадобится металлическая бочка, стальной лист и дымоходная труба диаметром 100—150 мм.
Вертикальная буржуйка
- Бочку измеряют и размечают на ее поверхности места расположения дверец поддувала и топки, а также место разреза. Оно должно проходить ниже края топки на 30 ÷ 50 мм.
- Затем бочка разрезается на две части, и с каждой из них работа вначале ведется отдельно.
- Из стального листа вырезается круглая пластина, равная по диаметру размеру бочки. В ней предусматривается отверстие для прохождения патрубка дымохода.
- В верхней части бочки также вырезают отверстие таким образом, чтобы его можно было совместить с отверстием на круглой детали, которая станет варочной панелью.
- Патрубок дымовой трубы вваривается в отверстие в бочке, а затем сверху, через отверстие на трубу продевается и укладывается варочная панель, которая приваривается к бортикам бочки. Созданное между ними воздушное пространство, составляющее высоту бортика, поможет на более долгий срок сохранить варочную панель горячей.
- Далее к нижней стороне верхней части также приваривается круглая металлическая деталь с прорезанными в ней отверстиями — колосник. Другой вариант — приварить два полукруглых кронштейна под готовый чугунный колосник. На фото хорошо видно, как выглядят и расположены эти элементы.
- Когда дно и верхняя панель этой части печи готовы, можно по сделанным ранее разметкам, вырезать отверстие для дверцы топки.
- Вырезанная часть обваривается вокруг металлическими полосами, на дверцу закрепляются петли и ручка с вертикальной задвижкой.
- Далее петли для дверцы и крючок для задвижки привариваются к корпусу. Этот процесс нужно выполнять очень аккуратно, точно рассчитывая расстояния для установки, так как дверь должна легко открываться и закрываться, а задвижка свободно входить в устроенный крючок держатель.
- В нижней части бочки прорезается проем для поддувала-зольника. Готовится и навешивается дверца – так же, как и в случае с топочной камерой.
- После этого обе части соединяются в единую конструкцию сварным швом.
Горизонтальная буржуйка из бочки
Процесс изготовления горизонтального варианта буржуйки из бочки проводится почти таким же образом, что и из баллона.

Простейшая буржуйка их металлической бочки
- В верхней плоскости размечается и вырезается окно, на которое будет установлена дверца, изготовленная из вырезанного куска металла. Соединения дверцы с петлями и петель с корпусом производятся с помощью заклепок.

Окно топки с установленной дверцей. Штатное отверстие бочки будет служить поддувалом.
- Штатное отверстие для сброса давления в бочке, диаметром 20 мм, используется в качестве поддувала. Отдельной дверцы на зольник не предусматривается.
- Рекомендовано сразу изготовить подставку для размещения будущей печки. Ее делают из обрезков труб или уголка, так, чтобы полки обеспечивали устойчивость уложенной на них бочки, без люфта.

Колосниковая решетка
- Следующим этапом идет изготовление колосника из металлического листа толщиной в 3—4 мм. Сначала осуществляется замер площади и по полученным данным вырезается нужного размера панель, в которой высверливаются отверстия для подачи воздуха. Готовый колосник укладывается на дно бочки с таким расчетом, чтобы в самой высокой точке, по центру, расстояние между колосником и внутренней поверхностью бочки составляло порядка 70 мм. Колосник не фиксируется жестко – он должен легко сниматься для очистки печки от накопившейся золы.

Фигурный разрез для заклепочного крепления патрубка дымохода
- Для дымоходной трубы в задней верхней части делается специальный соединительный узел. После разметки под нужный диаметр шлифмашинкой прорезаются диаметральные щели под углом 15 º одна от другой – итого получится 12 разрезов. Получившиеся «зубья» отгибаются наверх – вставленный затем патрубок дымохода будет крепиться к ним с помощью заклепок.
Видео: простейшая горизонтальная буржуйка из бочки
Буржуйка из колесных дисков

Буржуйка из трубы и колесных дисков
Печку-буржуйку также можно изготовить из двух дисков от больших колес и отрезка трубы большого диаметра — ее нужно подобрать под диаметр подготовленных дисков. Высота отрезка может варьироваться в зависимости от предпочтений мастера и устойчивости конструкции, но обычно ограничиваются 300 – 450 мм.

Материалы для изготовления печки
В схеме и процессе изготовлении этого варианта буржуйки нет ничего сложного, но она скорее подойдет для технических и хозяйственных помещений, чем для жилых.
- Подготавливаются отдельные элементы будущей печки — два диска, отрезок трубы, металлический лист и труба для дымохода.
- Все три детали свариваются между собой в единую вертикальную конструкцию. Для облегчения подгонки диаметра трубы под диски допустимо срезать с последних по окружности крайнее ребро, с одной стороны.

Исходные детали свариваются в общую вертикальную конструкцию
- Далее, на трубе размечается проем под топку и вырезается шлифмашинкой.
- Вырезанную часть обваривают по периметру, устанавливают на нее задвижку и петли, получая тем самым необходимую дверцу.
- Затем, нужно сделать отверстие для поддувала, иначе огонь в печи просто не будет гореть. Для этого в нижнем диске вырезается окно размером в 100—120 мм по ширине и высоте.

Установленная дверца топки
- С задней части верхнего диска прорезается отверстие для дымохода и туда вваривается патрубок.
- Рекомендовано на верхний диск сделать варочную панель из стального листа толщиной в 4 — 5 мм. Она наглухо приваривается к кромке верхнего диска, становясь, таким образом, еще и дополнительным теплообменником.
- То же самое проделывают и с дном печи, чтобы устроить полноценный зольник и повысить безопасность эксплуатации буржуйки.
По сути, такая буржуйка представляет собой, скорее, огороженный металлом костер, и не отличается ни экономичностью, ни удобством использования. Впрочем, для гаражных нужд и при условии бесплатности исходных материалов — это вполне приемлемый вариант.
Видео: пример эффективной буржуйки из колесных дисков
Буржуйка «Гном»
Одной из самых популярных из всех самодельных буржуек является компактная печь, изготовленная из листового металла. Она смотрится аккуратно и может быть предназначена для установки в любом помещении. Эта буржуйка хорошо подойдет по размеру для небольших дачных домиков, так как не занимает много места и является незаменимым помощником в приготовлении пищи и обогреве комнат.

Одна их самых распространенных моделей — буржуйка «Гном»
Подобную модель буржуйки можно оснастить внутренними перегородками — пластинами, тогда она получит свойства дополнительного теплообмена, а можно изготовить самый обычный корпус с разделением на топку и зольник.
Первый вариант печи долго будет удерживать тепло в помещении, а это очень важно, если дачники живут за городом с ранней весны до поздней осени, когда ночи бывают холодными.
Для того, чтобы сделать такую буржуйку, нужно приобрести стальной лист, толщиной 3 — 4 мм, дымоходную трубу, уголок 40 × 40 или 50 × 50 мм. Для конфорки крышку можно изготовить самостоятельно или купить в готовом виде.

Базовый чертеж для ее изготовления
- Опираясь на чертеж, на металлических листах вычерчивают детали буржуйки: панели всех стенок, колосник и две пластины для закрепления их внутри конструкции.
- В передней панели вырезаются прямоугольные отверстия для топки и поддувала. Вырезанные куски металла используются для изготовления дверец. Они обвариваются уголком и на них сразу же закрепляются задвижки и навесные петли. Затем, дверцы крепятся на передней панели.
- На эту же панель, только с внутренней ее стороны на расстоянии 150 ÷ 160 мм от верха приваривают одну из пластин, которые будут регулировать выход нагревшегося воздуха. Пластины должны быть на 80 ÷ 100 мм короче длины боковых стенок корпуса.
- После этого на заднюю стенку, на расстоянии в 70 — 80 мм от верха, приваривается вторая пластина. В комплексе две этих пластины образуют для дыма при горении печи зигзагообразный лабиринт. Благодаря этому будет прогреваться каждый из уголков корпуса буржуйки.
- В варочной панели вырезаются два отверстия — для конфорки и для дымовой трубы.
- К нижней стенке корпуса приваривают ножки из толстой арматуры или уголка. Можно выбрать вариант рамы из уголка, в которую входят ножки и основа для закрепления на ней дна и нижних ребер боковых панелей.
- Прежде чем приваривать боковые части на раму или к донной панели, на них необходимо разметить и приварить уголки на всю длину панели, они должны быть приварены на одном уровне, так как их роль – служить кронштейнами для укладки колосниковой решетки.
- В панели, приготовленной для колосника, высверливаются в шахматном порядке отверстия диаметром 12 ÷ 15 мм, на расстоянии 30 ÷ 40 мм друг от друга. Другим вариантом колосника может стать сваренная из арматурных прутьев решетка. Не следует сбрасывать со счетов и возможность приобретения готовой чугунной колосниковой решетки.
- Производятся монтаж и сварка всех стенок буржуйки. Главное – добиться полной герметичности сварных швов, поэтому иногда становится нелишней установка снаружи металлического уголка 30 × 30 мм. Это слегка утяжелит общую конструкцию, но придаст ей дополнительную прочность и надёжность.
- Приваривается верхняя крышка с дымоходным патрубком и варочной конфоркой.
- Чтобы печь выглядела респектабельно, нужно зачистить все сварочные швы и покрыть ее поверхность жаростойкой краской.
Есть смысл по боковой и задней поверхностям дополнительно установить экран, который повысит безопасность эксплуатации печи и создаст мощный конвекционный поток горячего воздуха, значительно ускоряющий прогрев помещения. Панели экрана монтируют на стойки таким образом, чтобы они отстояли от корпуса печки на расстоянии от 30 до 50 мм.
Видео: мастер-класс по изготовлению буржуйки из стального листа
Что следует учесть при установке буржуйки
Сделанная самостоятельно буржуйка будет приносить в дом или хозяйственные постройки тепло и уют, не доставляя при этом проблем, только в том случае, если при ее установке будут соблюдены правила техники безопасности.

Установка буржуйки требует соблюдения определенных правил безопасности
- Поверхность, на которую устанавливается печь, должна быть жесткой и огнестойкой. Это может быть, например, кирпичная кладка или керамическая плитка. Можно также использовать лист асбеста, который сверху покрывается металлическим листом.
- Вокруг печи на стены устанавливают жаростойкий гипсокартон или листы асбеста. Также подойдет облицовка стен керамической плиткой или кирпичом.
- Запрещено рядом с печью, недалеко от топки располагать горючие материалы и составы.
- Дымовая труба также должна быть изолирована от горючих поверхностей при проходе через стену или чердачное перекрытие.
- Очень важно для безопасности обустроить надежную вентиляционную систему, для того, чтобы в комнате не смог скопиться угарный газ.
- Чтобы печь работала долго и эффективно для ее изготовления нужно выбирать только качественный материал.
- Перед установкой буржуйки на ее постоянное место обязательно проводят уличные испытания, обращая особое внимание на качество сварных швов и точность подгонки всех деталей.
stroyday.ru
Пошаговая инструкция +Чертежи и Видео
Прекрасный бюджетный вариант отопительно-варочной печки — буржуйка. Она невероятно удобна и проста в устройстве и эксплуатации. Такое устройство хорошо иметь на даче, в мастерской, в гараже и много где еще. Водяная буржуйка может отопить несколько комнат. В продаже сегодня имеется множество самых разных моделей, от непритязательных функциональных до изысканных ретро. Но цену их нельзя назвать низкой. Поэтому умельцам, обладающим некоторым опытом, имеющим инструменты и подходящий металл, можно попробовать сделать эффективную буржуйку своими руками.
Выпиливаем из баллонаПростейший вариант буржуйки можно выполнить из подручных материалов. Подойдет для этого толстостенная бочка, старый промышленный бидон или газовый баллон (конечно, пустой).
Находчивые народные умельцы пускают в дело трубы подходящего диаметра, диски от габаритных колес и листы металла.
При выборе исходного средства для работы следует учесть, что слишком тонкий металл при сильном нагревании деформируется, и изделие из него потеряет форму. Оптимальная толщина материала составляет 3-4 мм.
Необходимые инструменты
Для удобной и эффективной работы по изготовлению даже маленькой буржуйки своими руками потребуется следующее:
Печки буржуйки бывают разных видов, но суть одна- Болгарка – угло-шлифовальный инструмент, а также специальные расходный материал к ней – шлифовальные круги и отрезные диски.
- Металлическая щетка.
- Сварочный аппарат с электродами, защитная маска и костюм для работы.
- Молоток для отделения шлака.
- Инструменты для измерения: рулетка, маркер, мел, линейка из металла, складной метр.
- Зубило, плоскогубцы, молоток.
- Дрель по металлу с набором сверл.
Выбор конкретной модели зависит от многих составляющих: место будущего размещения, его размер, назначение печи. Для жилых помещений она должна иметь более эстетичный вид, поэтому для комнатного размещения лучше предпочесть вариант из отрезка трубы или из металлических листов.
Аккуратная буржуйка своими рукамиВ гараже или сарае можно установить любую модель, главное, чтобы она была способна не только отопить помещение, но и нагреть воду.
Чтобы легче было сделать выбор, надо ознакомиться с различными вариантами буржуек длительного горения, и способами их изготовления.
Газовая буржуйка
Буржуйка из газового баллонаСделать такую печь можно различными способами:
- Из двух газовых баллонов, установленных перпендикулярно, один на другой;
- ИЗ одного баллона, расположенного горизонтально либо вертикально.
Первая модель способна генерировать больше тепла, ведь нагревающаяся и отдающая тепло площадь у нее фактически в два раза больше.
Баллон из-под газа выглядит довольно аккуратно. А если оснастить изделие из него варочной панелью, красиво отделать внешнюю часть буржуйки, то она послужит достойным украшением любого помещения.
Необходимый материал
Прежде всего, в зависимости от выбранной модели, понадобятся пустые баллоны из-под газа, один или два.
Кроме них будут нужны:
- Лист стали от 3 мм, для обустройства перемычки между зольником топкой, а также варочная плита.
- Чтобы печь выглядела более солидно, потребуется готовая дверца из чугуна с литым рисунком.
- Если внешний вид изделия не принципиален, то на дверку годится фрагмент металла. Его можно вырезать из стального листа или из самого баллона.
- Труба дымохода. Ее диаметр должен составлять 9-10 см.
- Для колосника и ножек потребуется стальной уголок или арматурный прут d (диаметр) 1,2-1,5 см.
- Готовый чугунный колосник можно купить в специализированном магазине. Также его роль может выполнить дно (в нем просверливают отверстия) лежащего горизонтально баллона.
Что одну, что вторую модель можно сделать из большого баллона, а можно из маленького. Соответственно, результатом станет большая или маленькая буржуйка из баллона. Все зависит, для какого типа и размера помещения она предназначается.
Подготовка баллона
Так как недавним содержимым баллона был газ, надо предусмотреть возможность того, что внутри осталась некоторая его концентрация. Если начать работу с таким баллоном, то любая маленькая искра может стать причиной взрыва. Поэтому необходимыми процедурами по подготовке пренебрегать не стоит.
Последовательность:
Заполняем водой и оставляем на сутки- Полностью откручивается кран, который находится на самом верху баллона. Он заполняется водой и оставляется в таком виде в подсобном помещении или на улице, где-то на одни сутки.
- Спустя означенное время жидкость удаляется. Она обладает неприятным запахом, поэтому не рекомендуется делать это вблизи от жилища.
- Баллон готов к использованию.
Буржуйка вертикальная из газового баллона
Размеры разметкиЗаготовка размечается: определяется расположение зольника и топки. Нужны будут рулетка и маркер. Болгаркой вырезаются намеченные фрагменты (они пригодятся для последующей работы). Их обваривают, снабжают петлями, бортиками и задвижкой – получаются замечательные дверцы.
По внутреннему d сворачивают кольцо из толстой проволоки. Это основа, к которой приваривается арматура. Получается колосник. Наносится уровень его установки. Решетка должна быть на 3-5 см ниже проема для дверки. Колосник будет разделителем топки и камеры зольника. Прутки арматуры варятся через 0,8-1 см один от другого.
К отверстию топки (с одной стороны) приваривают петли дверцы, которая должна свободно открываться и закрываться. Напротив делают задвижку, которая будет фиксировать дверь в закрытом положении при топке. На поддувале-зольнике дверца крепится таким же способом.
Верхняя часть баллона срезается, сверху на роль варочной плиты приваривается металлическая панель.
Дымовую трубу допускается вывести через боковую или заднюю стенку печи, или же через самый верх. В первом варианте варочная панель получится большего размера, что для кого-то может быть принципиальным.
Вертикально стоящий баллон занимает значительно меньше площади по сравнению с горизонтально расположенным. В любом случае, от буржуйки на дровах до стены должно быть не менее 20 см. Стену должен закрывать любой жаропрочный материал.
Из пары баллонов – самая эффективная буржуйка
Естественно, что два баллона способны быстрее нагреть в комнате воздух, чем один. К тому же, в верхней части такого устройства можно вварить водогрейный бак, и оснастить его краном и патрубками для воды. Сначала готовится «горизонтальный» баллон, с которого срезается верхняя часть.
Мероприятия с баллоном №1
В донце потенциальной топки (боковина баллона) сверлится несколько рядов отверстий, которые буду играть роль своего рода колосниковой решеткой. По ней располагается зольник поддувало – в нашем случае короб из толстого металла. Он должен быть оснащен герметичной дверцей, не позволяющей золе и горячим углям оказываться наружи.
По сторонам от зольника следует приварить ножки конструкции. Сверху лежащего баллона делается круглое отверстие.
На него встанет вертикальная часть буржуйки. Дверцу удобно сделать из оголовка второго баллона; в не вваривается патрубок с задвижкой — для регуляции интенсивности горения. Если петли дверцы расположить вверху, то крышка под своей тяжестью будет плотно прилегать к отверстию топки, что уменьшит подсасывание воздуха до минимума.
Мероприятия с баллоном №2
Самое ответственное здесь – вырезание по разметке такой формы, которая точно оденется на первый баллон: соединяются сваркой. В этой части печи (вертикальной) будет дополнительная камера теплообмена. Попадая в нее, дым задерживается, не уходя сразу в трубу, а циркулируя некоторое время.
Пластины из металла со сделанными отверстиями ввариваются внутри вертикальной полости на расстоянии 25-40 см. Отверстия находятся ближе к краю окружности перемычки, и соответствуют отверстиям на соседних пластинах.
Оптимальный вариант – три равноудаленные перемычки. Вертикальный баллон с перемычками сверху приваривается к горизонтальному, и оснащается патрубком для дымохода (с помощью сварки).
Печь буржуйка из бочки
Печка из бочки объемнее прочих, и места ей тоже требуется больше. Но и обогреть она способна гораздо более просторное помещение.
Как и первая модель, печка-буржуйка из баллона, она может быть выполнена как в горизонтальном, так и в вертикальном варианте.
И тот и другой подойдут для обогрева технических, хозяйственных и жилых помещений. Для работы необходимы: труба для буржуйки 10-15 см, лист металла и сама бочка.
Модель вертикальная
На поверхности заготовки отмечают будущее расположение дверец топки и поддувала, место разреза.
Бочка режется напополам, с каждой частью предстоит отдельная работа. Из листа стали выкраивается круг по диаметру бочки, в котором проделывается отверстие для патрубка дымохода.
В верхней части самой заготовки делают отверстие для совмещения с аналогичным у варочной панели.
Патрубок дымохода вваривается в приготовленное для него отверстие в бочке, через отверстие вверху продевается и устанавливается варочная панель. Ее приваривают к бортикам самой бочки. Воздушное пространство между ними позволит варочной панели дольше сохранять тепло, не остывая.
Колосник (заготовленная круглая деталь с отверстиями) приваривается снизу верхней части. Когда верхняя панель и дно этой половины готовы, можно вырезать отверстие для топки (ее дверцы). Проем обваривается полосами металла, дверца оснащается ручкой с задвижкой и петлями.
Они аккуратно привариваются к бочке таким образом, чтобы дверца легко ходила взад и вперед, а задвижка подходила к держателю крючку. В самом низу бочки делается проем для зольника (поддувала). Изготавливается и навешивается дверца аналогично как для топки. Обе половины вновь соединяются в одно целое посредством сварки.
Модель горизонтальная – процесс ее изготовления почти полностью аналогичен изготовлению горизонтальной печки из баллона.
Легко своими руками: печь буржуйка «Гном»
Компактная печь, сделанная из толстых металлических листов, является одной из наиболее популярных самодельных печек такого типа. Она выглядит по заводскому, интеллигентно и аккуратно, и прекрасно впишется в дизайн любого помещения. По размеру это замечательная буржуйка для дачи: она займет мало места, при этом замечательно обогревая помещение и используясь для готовки.
Можно изготовить обычный, простейший корпус, делящийся на зольник и топку. Если же оснастить его внутри пластинами-перегородками, она приобретет дополнительные теплообменные свойства. Такое устройство позволит дольше удерживать тепло, а иногда это является крайне необходимым.
Чертеж печки «Гном»Для изготовления данной модели нужен толстый лист стали (0,3-0,4 см), трубу из стали, подходящий по размеру уголок 5/5 или 4/4 см. Крышку для конфорки можно отыскать в профильном магазине, а можно изготовить своими руками.
Мы предоставляем вам чертежи, ориентируясь на которые, можно приступать к работе. На заготовки наносят очертания будущих деталей печки. Это ее будущие стенки, пластины для помещения внутрь, колосник. В передней панели делаются отверстия для поддувала и топки (прямоугольные).
Из получившихся в процессе металлических кусков изготавливаются дверцы: обвариваются уголком, оснащаются петлями и задвижками, крепятся на лицевой панели. На нее же, но изнутри, приваривают одну из заготовленных пластин. По размеру она должна быть на 10 см меньше, чем боковые стенки изделия.
Вторая из пластин приваривается на заднюю стенку, в 7-8 см от верха. Обе пластины при горении служат своеобразным лабиринтом для дыма.
Это обеспечит отличный прогрев всех уголков устройства. В варочной панели проделываются отверстия для трубы и конфорки. Внизу печки сваркой крепятся ножки из уголка или толстой арматуры.
На боковых частях, на одном уровне, привариваются уголки.
В дальнейшем они будут служить для укладки решетки колосника. В колоснике высверливаются отверстия; по-другому его можно изготовить из прутьев арматуры с помощью сварки. А можно и просто купить уже готовый элемент.
Собираются и соединяются сваркой все стенки печи. Для обеспечения герметичности швов снаружи можно установить уголки 3/3 см. Конструкция приобретет больший вес, но вместе с тем и большую надежность. К устройству приваривается крышка с конфоркой и патрубком.
Чтобы облагородить получившиеся изделие, все сварочные швы на нем зачищаются, после чего поверхность покрывается жаропрочной краской.
Специальный экран, панели которого устанавливаются по задней и боковым поверхностям, не только увеличит эксплуатационную безопасность системы, но и, благодаря образованию дополнительного конвекционного потока, заметно усилит ее производительность.
ТОП 9 магазинов, где я выгодно закупаюсь
ТОП 7 по товарам и мебели для дома:
7 лучших строительных и мебельных магазинов!
- Akson.ru- это интернет-гипермаркет строительных и отделочных материалов!
- homex.ru- HomeX.ru предлагает большой выбор качественных отделочных, материалов, света и сантехники от лучших производителей с быстрой доставкой по Москве и России.
- Instrumtorg.ru – это интернет – магазин строительного, автомобильного, крепежного, режущего и другого инструмента, необходимого каждому мастеру.
- Qpstol.ru – “Купистол” стремится предоставить лучший сервис своим клиентам. 5 звёзд на ЯндексМаркет.
- Lifemebel.ru- гипермаркет мебели с оборотом более 50 000 000 в месяц!
- Ezakaz.ru- Представленная на сайте мебель изготавливается на собственной фабрике в Москве, а так же проверенными производителями из Китая, Индонезии, Малайзии и Тайваня.”
- Mebelion.ru- – крупнейший интернет-магазин по продаже мебели, светильников, интерьерного декора и других товаров для красивого и уютного дома.
domsdelat.ru
Буржуйка для гаража своими руками
Печь-буржуйку для обогрева помещений начали широко использовать еще лет сто назад. После того как появилось центральное отопление, металлические буржуйки перекочевали из квартир и домов на дачи и в гаражи.
Одним из самых существенных недостатков буржуйки, можно считать условия ее теплоотдачи. Ее тепло ничем не аккумулируется и почти все уходит через трубу наружу. Такая печь эффективна только вблизи места установки и только во время горения топлива.
Для того чтобы повысить эффективность работы буржуйки, нужно использовать теряемое тепло. Максимальные потери происходят через дымоход, который при работающей буржуйке раскаляется.
Дымоход можно превратить в нагревательный элемент, изменив его прямую форму на ступенчатую, благодаря чему увеличивается площадь теплоотдачи.
В данной статье мы расскажем как сделать буржуйку для гаража своими руками из различных материалов. Самый простой выход – это взять за основу старый газовый баллон (в котором развозили газ пропан). За неимением баллона можно использовать 40-литровую молочную флягу или любую другую металлическую заготовку.
Из газового баллона

Начинать работы нужно с чертежа, но не на бумаге, а на самом баллоне. Маркером размечается будущая дверца топки и поддувало. Дверца должна быть расположена по центру баллона, а поддувало – в его нижней части. Расстояние между ними выдерживается не более 10 см, и по середине проводится замкнутая линия. По ней болгаркой баллон разрезается на две части.
Из 16-миллиметровой арматуры сваривается решетка, которая приваривается к нижней половине, после чего обе части баллона снова стыкуются.
В местах, предназначенных для петель, делаются надрезы. Затем там привариваются петли, и вырезается дверца. Такая же операция проводится и с поддувалом.
Остается обустроить дымоход. Для этого болгаркой срезается вентиль, а на его место приваривается металлическая труба, диаметр которой должен быть 80-90 мм. Дымоход врезается в систему гаражной вытяжки или выводится через стену наружу.
Из баллона
Из молочной фляги
Схема буржуйки из фляги
Металлический бидон – отличная вещь в хозяйстве, пригодная для хранения красок, моторных масел, горючего. Конструкция фляги идеально подходит для изготовления из нее печки-буржуйки, но в качестве отопительного прибора она окажется не настолько долговечной как хотелось бы, стенки у нее недостаточно толстые. С уверенностью можно сказать, что ее хватит на 2-3 сезона.
Как самостоятельного изготовления буржуйки нужно выполнить несколько операций.
Для начала надо разметить, а потом вырезать в нижней части бидона, почти у самого дна, отверстие для дымохода. В завершающей стадии работ труба прихватывается сваркой. Диаметр дымохода выбирается от 8 до 12 см. Удлиняется дымоход после того, как печь будет изготовлена и установлена.
Крышка бидона – это уже готовая дверца печи с удачной защелкой, в ней остается только просверлить несколько поддувальных отверстий, диаметр которых может быть 15-18 мм. Делается это в нижней части крышки.
Из уголка или обрезков труб изготавливаются 4 ножки равной длины, которые затем симметрично привариваются к нижней части бидона. Перед дверцей можно постелить металлический лист, чтобы случайно упавший уголек не попал на легковоспламеняющийся материал.
Ручки фляги – удобная штука для переноски буржуйки с места на место, взявшись за них можно легко вытряхнуть накопившуюся в печке золу. Именно для этой операции дымоход лучше сделать разъемным.
Ну, вот и все, остается только испытать новую печку.
Установка

Использование буржуек, сделанных в домашних условиях, равно как и любых других отопительных установок, требует четкого соблюдения техники безопасности. Изначально следует осуществить выбор места для установки буржуйки. Этот агрегат, как показывает практика, лучше устанавливать в углу, а именно возле стен, противоположных по расположению к воротам гаража.
Не устанавливайте буржуйку ближе чем на 1,5 м к месту расположения автомобиля. Стоит учесть, что все быстровоспламеняющиеся материалы и изделия должны быть расположены в удалении от буржуйки также минимум на 1,5 м.
Печку лучше обложить со всех сторон кирпичными стенками. Так, будет исключена вероятность прикосновения к раскаленной печи, а также будет аккумулироваться тепло, вырабатываемое от ее топки. Таким образом, вы увеличите КПД устройства в несколько раз.
Увеличение КПД печи
Если стены гаража выполнены из дерева, то между ними и печкой должно быть определенное расстояние, а именно не меньше 100 см. Кроме того, во избежание воспламенения постройки, стены возле буржуйки следует обложить асбестовыми листами/кирпичом или иными огнеупорными материалами.
В качестве основания под буржуйку можно использовать лист из стали, имеющий толщину 1–2 см. Еще вариант – залейте бетонную стяжку. Благодаря этим действиям вы сможете предотвратить распространение огня, если вдруг из топки выпадут угольки/искры и т. д.
Для использования буржуйки в гараже следует предварительно сделать в нем качественную приточную вентиляцию. Свежий воздух должен поступать сюда в достаточном объеме, что обеспечит нормальное горение огня. В качестве вентиляции вполне может служить небольшой зазор между землей и гаражными воротами. В противном случае вам придется делать специальный канал для своевременного притока воздуха в гараж, что не очень выгодно с экономической точки зрения.
Буржуйка сильно раскаляется при горении в ее топке огня, поэтому нельзя оставлять около нее легковоспламеняющиеся материалы, такие как древесина, масла и смазки, бензин и т. д. Это может привести к катастрофе.
С конфоркой
Если оснастить буржуйку баком для воды, то печь можно будет использовать для ее подогрева. Установив на ней конфорки, у вас будет возможность осуществлять также подогрев еды.
На всю работу по изготовлению печи-буржуйки уйдет не более 2 часов, а радоваться результатам своего труда можно будет несколько сезонов.
Видео
Удачный пример создания буржуйки из подручных средств в видеоформате:
Чертежи
Предложенные нами чертежи и схемы помогут вам разобраться в принципе изготовления буржуйки для обогрева гаража:
Схема ракетной буржуйки
Схема-чертеж буржуйки из газового баллона
Схема буржуйки двойного дожига
Пиролизная






kakpravilnosdelat.ru
Печка буржуйка своими руками: схема самодельного агрегата
Часто домовладельцы предпочитают собирать простые и полезные самоделки из подручных и ненужных материалов, вместо того, чтобы купить готовое. И буржуйка – одно из таких полезных приспособлений.
Главная особенность буржуйки заключается в том, что, что она так же быстро нагревается, как и остывает. Поэтому сфера ее использования сужена в основном до тех помещений, где необходимо обеспечить быстрый нагрев, при этом внешний вид устройства для пользователя часто совершенно неважен.
Изготовлена может быть печка-буржуйка своими руками, а при желании модернизирована для достижения более эффективной теплоотдачи.
Вы тоже задумались о сборке такой самоделки и не знаете с чего начинать? Мы поможем вам в реализации задачи – в статье рассмотрен порядок сборки различных вариантов печи-самоделки, приведены чертежи и схемы.
Также подробно разобраны способы усовершенствования самодельной буржуйки, в результате чего КПД печки станет заметно выше.
Содержание статьи:
Как сделать буржуйку: устройство и схемы
Выбор конструкции печи зависит от того, какой материал применяется в качестве топлива. Каждый пользователь сам определяет степень его доступности и экономической целесообразности.
Именно горючий материал, который имеет разную температуру и характер горения, диктует принципы создания разных модификаций устройства.
Форма буржуйки может быть разная, часто она зависит от наличия подходящего материала. Это может быть старый бидон, газовый баллон, металлическая емкость — все, что найдется под рукой. Главное, при ее выборе — толщина металла и форма, которая требует минимум переделок.
Галерея изображений
Фото из
Самодельная печь-буржуйка из бочки
Экономический эффект самоделки
Газовые баллоны для изготовления корпуса
Печка буржуйка из старой фляги
Сварная металлическая конструкция
Преимущества компактных размеров
Основной недостаток печки буржуйки
Кирпичи для снижения теплопроводности
Печка на отработанном масле
Отработанное машинное масло является многокомпонентным слабо воспламеняющимся веществом, которое чтобы сжечь, нужно сначала расщепить на простые составляющие. Для этого применяется метод пиролиза или пламенного разделения, при котором нагревают и испаряют горючее.
Для этого разжигают огонь с помощью ветоши, смоченной в бензине или керосине. Топливо, нагреваясь, расщепляется на более простые легковоспламеняющиеся вещества. Дальше процесс пиролизного горения поддерживает сам себя.

Желание применить использованное масло в качестве топлива привело профессионалов и умельцев к появлению специальной печки. Ее конструкция создает условия для горения слабо горючих масел и обеспечивает безопасность пользователя
Поэтапное описание работ
Изготовление буржуйки на отработанном масле проводят в такой последовательности:
- Берут два отрезка трубы высотой 100 и 115 мм, диаметром 350 мм — они послужат основой для создания двух камер.
- К кольцу с большей высотой приваривают днище и крышку с отверстиями: первое диаметром около 100 мм под трубу; второе — небольшого размера, для поступления воздуха. Для поддувала делают заслонку из кружка чуть большего диаметра.
- В трубе, которая закрепляется сверху на топливном отсеке, высверливают равномерно по всей длине отверстия.
- Изготавливают вторую камеру с отверстиями под дымоход и трубу вторичного сгорания топлива. Внутри ее делают перегородку из прямоугольного листа металла.
- Сверху устанавливают дымоходную трубу, к основанию приваривают ножки.
Конструкция цилиндрического двухобъемного котла на отработке обеспечивает высокую температуру и полное сгорание топлива. Вместо цилиндрических можно использовать прямоугольные камеры.

Такое устройство буржуйки часто встречается как в самодельных конструкциях, так и в изделиях промышленного производства
Принцип работы печи
В нижний резервуар буржуйки заливают топливо через небольшое отверстие. Одновременно он служит испарителем и камерой первичного горения. Небольшое отверстие на крышке предназначено также для розжига, подачи воздуха и регулировки его притока (с помощью заслонки).

Обезопасить процесс доливки топлива можно, если использовать трубку, ведущую из отдельно стоящей емкости, в которую будет заливаться масло во время горения печки
Труба с отверстиями, установленная на первом отсеке служит камерой вторичного дожига — в ней происходит пиролизное разложение горючего, которое испаряется вследствие нагрева в первой камере.
Следующая цилиндрическая емкость снабжается внутренней перегородкой для снижения скорости при движении продуктов горения, обеспечивая увеличение степени окисления соединений азота. Одновременно она служит и инфракрасным и конвекционным нагревателем.

Заводская схема работающей на отработанном масле печки-буржуйки может включать в себя водяную рубашку или контур. Такую усовершенствованную печь-буржуйку можно использовать для отопления и обеспечения дома горячей водой
Именно в буржуйках для гаража чаще всего используют отработку в качестве топлива. Из всех отопительных устройств она является одной из самых опасных.
Если уж кто-то решается нарушать правила пожарной безопасности и изготавливать печь самостоятельно, лучше все-таки выделить отдельное помещение под котельную или отгородить ее кирпичным простенком.
На нашем сайте есть и другие материалы по изготовлению печек на отработанном масле:
Устройство печки под твердое топливо
Дрова, кирпич, уголь — это пока самый доступный и экономичный топливный материал. Его использование наименее безопасно, а значит и печь, работающую на таком топливе, сделать проще всего.
Вариантов различных модификаций буржуек, сделанных своими руками чрезвычайно много. Рассмотрим самые распространенные модели.
Печь-буржуйка из баллона и бочки
Старый газовый баллон из толстостенного металла подойдет для любых видов топлива, в том числе угля. Простая конструкция справится с задачей быстрого прогрева помещения, но как только поступление топлива прекратится, она будет быстро остывать.
Самодельная печь из баллона компактная, имеет аккуратный вид. Такую буржуйку используют для дачи, времянки, гаража.

Перед тем как разрезать газовый баллон, из него обязательно стравливают газ, сливают конденсат. Затем баллон полностью наполняют водой — она вытеснит остатки газа, омоет внутренние стенки
Чтобы из газового баллона получилась печь, в корпусе необходимо вырезать отверстия для дверки и под дымоход. Вырезанные участки металла послужат дверцами, после того, как к ним приварят завесы и запирающий механизм. Для поступления воздуха в топку дверку внизу сверлят насквозь.
Подробное описание процесса изготовления самодельного дымохода для буржуйки мы рассмотрели .
В нижней части камеры размещают колосник из решетки (он может быть сварен из арматуры), под которым будет скапливаться зола. Можно также организовать варочную поверхность. Сделать это легче на горизонтально расположенном баллоне, приварив на нем с двух сторон уголки.

Хорошо, если бочка изначально имеет ножки. Если нет, нужно приварить их или установить печь на кирпичи.
Буржуйку из газового баллона можно использовать также как основу для дальнейшего сооружения водогрейной колонки, как ее еще называют — «Титан». Для этого поверх печки устанавливают нержавеющую емкость, сквозь которую проходит труба дымохода.
Вода в дровяном бойлере нагревается быстро, а дров используется мало — в летнее время достаточно одной закладки в небольшую топку.

Печь из бочки имеет ту же конструкцию, что и из баллона. Выбирать нужно емкость из толстого металла
Для буржуйки подойдет также металлическая емкость со стенками, толщиной не менее 3 мм. Открытый верх емкости закрывают кругом из металлического листа и заваривают.
В крышке или стенке вырезают отверстие под дымоход. Его диаметр должен составлять не менее 100—150 мм. Верх в такой буржуйке будет нагреваться настолько, что на нем можно будет готовить пищу, греть воду.
У нас на сайте есть также более подробная инструкция со схемами и чертежами по изготовлению .
Особенности буржуйки на опилках
Если в хозяйстве нет недостатка в опилках, то такой вид топлива вполне оправдает свое использование. Такая буржуйка не требует частой загрузки — утрамбованные опилки внутри не горят, они медленно тлеют, выделяя тепловую энергию постепенно и обеспечивая теплом длительное время.
Рекомендуем вам посмотреть информацию о том, как своими руками.

Буржуйка на опилках, изготовленная своими руками, работает по принципу длительного горения. Медленный процесс горения позволяет экономить ресурсы — тепло не вылетает моментально в трубу, отапливая атмосферу
Основой печи может послужить металлическая бочка с открытым верхом (если емкость герметична, то верхушку срезают) или труба диаметром от 300 до 600 мм.
Затем из листа, толщиной в три или больше миллиметров, вырезают металлический круг, который должен быть меньшим чем внутренний диаметр бочки. В его середине прорезают отверстие диаметром 100 мм под конус для трамбовки опилок.
Заготовку приваривают к стенкам бочки. С помощью этого круга отгораживают зольник — в нем, с помощью стружки или щепок, будет проводиться розжиг. Высота зольника должна быть 100—200 мм.

Чтобы буржуйка не пропускала дым, между крышкой и внешним цилиндром делают песчаный затвор
Ниже приваренного круга вырезают окошко, которое будет служить как поддувало. К вырезанному кусочку металла приваривают завесы, делая дверцу для того же отверстия.
В крышке емкости делают выход к дымоходу. Крышка должна плотно одеваться на буржуйку и быть из достаточно толстого листа, иначе быстро прогорит.

Чтобы опилки могли гореть постепенно, нужно обеспечить ограниченную подачу кислорода в топливный отсек. Для этого внутрь топки вставляют конусообразный сердечник, вокруг него засыпают опилки и утрамбовывают. Конус осторожно вынимают, прокручивая, на бочку надевают крышку
Улучшить эту же модель можно, добавив дополнительный цилиндр. В этом варианте опилки будут находиться во внутренней камере, а пространство между двумя отсеками послужит для дожига газов и увеличения площади нагрева. В таком варианте выход дымных газов устраивают в нижней части печки.
Как можно усовершенствовать буржуйку?
Обычная буржуйка имеет массу положительных качеств, но также имеет и много существенных недостатков. Она неспособна аккумулировать тепло и отапливает помещение пока горит огонь. Требует непрерывной подачи топлива, в среднем — каждые 30—40 мин.
Кроме того, большое количество тепла вылетает через дымоход в атмосферу, не принося пользы. Именно поэтому работа над усовершенствованием буржуйки ведется не прекращаясь.
Стандартная конструкция печки-буржуйки имеет множество модернизированных конструкций, которые позволяют:
- сэкономить топливо;
- повысить КПД печки;
- увеличить теплоемкость;
- уменьшить частоту закладки топлива.
Самые распространенные методы повышения эффективности работы буржуйки — создание режима медленного горения, системы дожига газов, установка жаропрочной облицовки внутренних стенок.
Улучшить качественные показатели печки можно также путем увеличения площади теплоотдачи с помощью приваренных труб и установленного вентилятора, который будет прогонять через них потоки воздуха.
Промышленная модель такой буржуйки называется «Булерьян», но, кроме нее, существует еще множество различных конструкций, изготовленных кустарным способом. Рекомендуем посмотреть подробный мастер-класс по самодельному изготовлению .
Увеличить время теплоотдачи можно, если обложить печь кирпичной кладкой. Такая буржуйка будет медленнее нагреваться, но и дольше отдавать тепло, поддерживая температуру в помещении еще некоторое время после затухания огня.
Вас заинтересовала кирпичная кладка? У нас на сайте есть подробное руководство по своими руками со схемами и чертежами.
Вариант #1 – печь с увеличенной закладкой топлива
Эта модель разработана с целью увеличения КПД и времени беспрерывного горения. За основу берут горизонтальную прямоугольную буржуйку на массивных, устойчивых ножках и дополняют ее кассетой из глухого герметичного цилиндра. Такие конструктивные дополнения значительно повышают ее эффективность.
К цилиндру-кассете высотой около 400 мм приваривают фланец. После установки цилиндра в конфорочное отверстие его край должен опускаться на 5— 10 мм ниже печной плиты. Чтобы цилиндр было удобно устанавливать и снимать, к его корпусу приваривают ручки.

Цилиндр заполняется дровами таким образом, чтобы между ними оставалось некоторое пространство и при установке его на печку они смогли сразу опуститься на горящие угли
Как работает буржуйка:
- Нижняя часть дров, опустившись на угли подготовительного розжига, разгорается. При этом верхняя часть, находящаяся в кассете, гореть не будет из-за нехватки кислорода, зато будет сушиться под действием горячего дыма.
- Под весом собственной массы и по мере сгорания дрова постепенно опускаются в топку.
- Горячий газ, находящийся некоторое время в цилиндре, отдает ему тепло, увеличивая тем самым площадь теплоотдачи в помещении. При этом крышка цилиндра может служить варочной поверхностью.
- Одновременно снижается температура выходящего дыма, а значит, растет теплоемкость и КПД буржуйки.
В результате такой модернизации увеличивается временной интервал между закладкой дров и повышается эффективность использование печи.
Вариант #2 – буржуйка длительного горения «Бубафоня»
Низкий КПД обычной буржуйки — давно известный и проверенный многими пользователями факт.
Один из методов его повышения — замедление процесса горения путем ограничения поступления в топочную камеру воздуха. Это усовершенствование можно встретить в таких печках, как «Бубафоня», «Филиппинка».
Используют эту модель буржуйки в нежилых помещениях — мастерских, теплицах, других хозяйственных постройках. Для работы в течение 9—12 часов достаточно бывает одной закладки мелких дров, щепок, опилок. В этой модели отопительного устройства нельзя использовать крупно наколотые и сырые дрова.
Буржуйку можно создать из любого металлического резервуара. Чаще всего используют бочку из-под горюче-смазочных материалов или старый баллон.
Изготовление проводят в такой последовательности:
- Из доступной цилиндрической емкости готовят топочную камеру, в верхней части которой вырезают отверстие под дымоход.
- Из металла (не менее 10 мм в толщину), вырезают круг, чуть меньший, чем внутренний диаметр бочки.
- В центре круга делают отверстие диаметром 100—150 мм (точный размер зависит от диаметра используемой трубы для стержня).
- На одну из плоскостей круга приваривают ребра высотой до 50 мм.
- К центру круга приваривают трубу. Ее длину рассчитывают таким образом, чтобы поршень в опущенном состоянии возвышался над крышкой резервуара приблизительно на 100 мм. Если оставить трубу длиннее, чем необходимо, в ней будет возникать тяга, она начнет дымить.
- Далее, сооружают крышку, которая будет плотно одеваться на бочку и прорезают в ней отверстие, подходящее под трубу поршня
Еще больше повысить эффективность этой модели можно, организовав поступление в топку воздуха с улицы. Таким образом, подогретый воздух из помещения не будет вылетать в дымоход.

В печке происходит процесс пиролиза: дрова, сгорая, выделяют горючий газ, который поднимается над поршнем, и там происходит его дожиг
Вариант #3 – печь со вторичным дожигом «Филиппинка»
В работе печи использованы два способа увеличения ее эффективности, основанные на принципах длительного горения и пиролиза. Для ее изготовления понадобятся два газовых баллона, которые послужат камерами для первичного и вторичного горения.
Последовательность действий по изготовлению буржуйки такова:
- Баллоны подготавливают к работе, выпуская из них остатки газа и заполняя их водой. Без этой процедуры разрезать их категорически нельзя, иначе искры, которые образуются при работе болгарки, могут спровоцировать взрыв газа, некоторое количество которого всегда остается в баллоне.
- В первом баллоне, который послужит камерой для топки и зольника, снимают кран и отрезают верхушку (ее используют для изготовления дверцы), вырезают отверстие под установку дымовой трубы.
- Напротив отверстия под дымоход приваривают трубу, другой конец которой не должен упираться в крышку второй камеры, оставляя свободное пространство для выхода дыма.
- На выходе трубы из первого баллона приваривают металлическое кольцо, оно послужит опорой для установки верхнего баллона. В нем просверливают отверстия.
- Ко второму баллону в месте среза верхушки также приваривают металлическое кольцо, в котором отмечают места для отверстий, ориентируясь на уже сделанные отверстия в первом кольце.
- Прежде, чем окончательно устанавливать второй баллон, в него заводят трубу для подачи воздуха.
- Надевают верхнюю камеру на трубу, совмещая отверстия, между кольцами наматывают термостойкий жгут, закрепляют соединение винтами.
- Выход дымохода делают снизу камеры вторичного дожига.
Чтобы получить устойчивую конструкцию, к нижней камере приваривают надежные ножки. Устанавливают дверку на навесы. Ее можно дополнительно усовершенствовать, добавив возможность регулировать поступающий в топку воздух.

Верхний баллон (камеру вторичного дожига) можно установить в горизонтальном положении, но тогда нужно продумать дополнительные крепления для его надежной фиксации
В первой камере буржуйки сгорают дрова, выделяя при этом горючий газ. Горячие дымовые газы, попадая во вторую камеру и перемешиваясь с воздухом, загораются и полностью сгорают.
С помощью поддувала регулируется тяга, которую, после того как дрова хорошо разгорелись, можно уменьшить до минимума, чтобы снизить скорость движения газов и потери тепла.
Выводы и полезное видео по теме
Как максимально использовать потенциал буржуйки на отработанном машинном масле:
Усовершенствованная печь-буржуйка из газового баллона с камерой вторичного дожига:
Конструкция и правила использования печи «Бубафоня» длительного горения:
Изготавливая самодельную буржуйку, не следует забывать о мерах предосторожности. Ее конструкция должна максимально защищать от распространения огня.
Пренебрежение правилами пожарной безопасности может сыграть злую шутку с желающими сэкономить на покупке промышленной модели.
Вы используете самодельную буржуйку уже не первый год? Расскажите, какую схему вы применили и что было самым сложным при сборке печки.
Возможно вы усовершенствовали свою буржуйку по одному из способов, рассмотренных в статье? Поделитесь своим опытом и снимками печки-самоделки в комментариях к этой статье – ваши успехи вдохновят на эксперименты других пользователей.
sovet-ingenera.com
Буржуйка своими руками для отопления дачи или гаража: чертежи, конструкция, изготовление
Поскольку самодельные дровяные печки остаются простейшими средствами обогрева гаражей и дач, в данной статье мы рассмотрим изготовление буржуйки своими руками. С помощью наших инструкций и чертежей вы сможете сделать отопитель из доступных материалов – газового баллона, стальной трубы и даже колесных дисков.
Изготовление печи из баллона
Из старых пропановых баллонов объемом 50 л домашние мастера наловчились делать несколько разновидностей буржуек на дровах:
- простая вертикальная печка;
- агрегат длительного горения Бубафоня, где топливо сжигается сверху вниз;
- горизонтальные печи — обычные и со вторичной пиролизной камерой.

Примечание. Из бывшего газового резервуара, установленного в вертикальное положение, можно сварить печь-капельницу на масляной отработке и солярке. Как это правильно сделать, описывается в другом нашем материале.
Простейшие конструкции дачных и гаражных буржуек разбирать бессмысленно – подобных чертежей в интернете хватает. Предлагаем рассмотреть более эффективные, а значит, экономичные модели с доработками, увеличивающими теплоотдачу и КПД железных печей.
Указания по разборке сосуда из-под газа
Горючая пропан-бутановая смесь, заправляемая в газовые баллоны, по весу тяжелее воздуха. Чтобы безопасно разрезать резервуар под изготовление печки-буржуйки, остатки смеси необходимо вытеснить водой.Правильная технология разборки выглядит так:
- Открутите вентиль, пользуясь двумя трубными ключами — №2 и 3. Третьим номером ухватитесь за горловину и уприте ручки в землю, а вторым вывинчивайте кран, как показано на фото.

- Доверху заполните сосуд водой.
- В отверстие забейте деревянный чоп либо вкрутите вентиль обратно и уложите емкость горизонтально.
- Болгаркой выполните аккуратный надрез по заводскому шву в верхней части. Углубляйте сквозной паз в нижнем направлении, пока не побежит вода.
Когда резервуар частично опорожнится, продолжайте работу и отделите крышку. Какую бы конструкцию печи — самоделки вы ни выбрали, баллон придется разрезать, так что процедура заполнения водой обязательна.
Вертикальная модель с воздушной камерой
Устройство буржуйки – экономки на дровах показано ниже на схеме. Модернизация заключается в добавлении отдельной камеры с теплообменником в виде стальных ребер, продуваемого воздухом через 2 патрубка в верхней части отопителя. Повышение эффективности достигается за счет принудительной подачи воздуха вентилятором, что позволяет быстро прогреть помещение.

Важный момент. Изолированная от топливника дополнительная камера может служить и водяным контуром, подключаемым к регистрам или радиаторам отопления. Одно предостережение: эта недорогая версия котла для дачи или гаража должна обязательно работать с принудительной циркуляцией теплоносителя от насоса.
Для изготовления понадобятся дополнительные материалы из перечня:
- листовой металл толщиной 3 мм на дверцы и перегородку камеры;
- обрезки толстого железа для теплообменника;
- арматура Ø16—20 мм на колосники;
- куски труб диаметром 40—50 мм на подключение воздуха и Ø100 мм для дымохода;
- асбестовый шнур, готовые ручки.

Чертеж отопительной буржуйки вертикальной конструкции
Если пропанового баллона нет в наличии, изготавливайте буржуйку из большой трубы диаметром 300—500 мм с толщиной стенки до 5 мм. Технология сборки в обоих случаях одинакова:
- В отрезанной крышке резервуара выполните 2 отверстия и приделайте штуцеры из труб Ø40 мм, как изображено на фото.

- Прорежьте в корпусе проемы дверок топливника и зольника. Сварите обрамление, позволяющее плотно прикрывать дверцы.
- Изготовьте из арматуры колосниковую решетку круглой формы.

- Сделайте дверцы под размеры проемов и установите их на петли, уплотнив притворы асбестовым шнуром.
- Поместите колосники внутрь топки, а сверху герметично приварите круг, вырезанный из металла 3—4 мм в толщину. К нему прикрепите сваркой ребра из толстого железа, как показано на чертеже.

- Поставьте обратно отрезанную крышку с патрубками. Эффективная печка готова.
Примечание. При изготовлении печи из трубы Ø300—500 мм потребуется установка днища зольника (сталь 2 мм), а воздушная камера получится цилиндрической.
Чтобы отопительная печь буржуйка не дымила в помещение, смонтируйте дымоход высотой не менее 4 м (считая от колосников). Если планируется сжигать опилки, то расстояние между прутьями колосниковой решетки стоит сделать минимальным.

Благодаря малым габаритам и принудительной подаче нагретого воздуха печку удобно использовать для разнообразных целей – отапливать гараж, дачу либо теплицу. Технология сборки подобного отопителя своими руками продемонстрирована на видео:
Горизонтальная двухкамерная печка
В данном случае усовершенствование конструкции состоит в установке дополнительной камеры с перегородками для дожигания пиролизных газов, выделяющихся в топливнике при медленном тлении дров. Упор сделан на долгое горение, поэтому полезный объем топки не отнимается зольником – он вынесен наружу.
Чтобы повысить КПД и теплоотдачу буржуйки, корпус снаружи оснащается плоскими теплообменными ребрами, что и отражено на чертеже. По принципу работы отопитель схож с печами типа Булерьян: перед выходом наружу дымовые газы огибают 2 перегородки во вторичной камере, отдавая тепло железным стенкам.

Помимо двух высоких 50-литровых баллонов или стальной трубы диаметром до 500 мм, для изготовления вам потребуется:
- металл 3 мм на зольник и дверцы;
- стальные полосы 2 мм на ребра;
- любой подходящий металлопрокат для ножек;
- труба диаметром 10 см и длиной 15 см на дымоходный патрубок;
- арматура для усиления решетки;
- шнур асбестовый на уплотнение дверок.

Обрезка и стыковка пропановых сосудов, установка обрамления дверцы и зольника
Изготовление печи начинается традиционно – с разборки баллонов. У одного отрезается донная часть, а во втором делается проем под дверки и щелевидные отверстия в боковой стенке – будущие колосники. Чтобы продукты горения проходили во вторичную камеру, с другой стороны выполняется круглое отверстие диаметром около 10 см. Дальнейший порядок работ такой:
- Чтобы от высокой температуры прутья колосников не прогибались, подварите снизу усиление из арматуры периодического профиля.
- Сделайте на торце обрамление и поставьте дверцу, уплотнив ее асбестом.
- Сварите зольную камеру с дверцей и установите ножки.
- На втором баллоне вырежьте стенки с таким расчетом, чтобы состыковать его с горизонтальным топливником под углом 90°. Внутри закрепите сваркой 2 перегородки согласно чертежу.
- Соедините вторичную камеру с топкой, тщательно проварив стыковочный шов.
- Поставьте дымоходный патрубок и наружные теплообменные ребра.

Совет. Перегородки в вертикальной камере лучше сделать из полукруглых кусков, вырезанных из боковин второго резервуара. Это увеличит отбор теплоты у дымовых газов.
Получившаяся буржуйка для дачи вполне способна обеспечить обогрев различных хозяйственных помещений, в том числе парилки в бане. Ее нетрудно приспособить для приготовления пищи, изготовив сверху топливника плоскую варочную поверхность из металла 4—5 мм.
Отопитель из автомобильных дисков
Преимущество колесных дисков – приличная толщина металла. Если из них смастерить буржуйку, она долго не прогорит, хотя красивым подобное изделие не назовешь. Дадим несколько рекомендаций по изготовлению:
- Чем больше в вашем распоряжении старых колес от машины одинакового размера, тем объемнее получится топка печи. Только у дисков нужно вырезать среднюю часть (желательно – газовым резаком, болгаркой действовать неудобно).

- Горизонтальную печь изготовить проще – сварите несколько колес с вырезанной сердцевиной и поставьте конструкцию на ножки. Спереди приделайте дверцу, а сзади – глухую стенку с дымоходным отверстием.
- Для удобства очистки горизонтальной модели уложите в топку подовый лист металла.

- Вертикальный вариант делается таким же образом, только дверца вырезается в боковой стенке корпуса, а дымоотвод – с противоположной стороны.
Если в хозяйстве обнаружилось только два колесных диска, можно собрать комбинированный вариант буржуйки, вставив между ними секцию стальной трубы подходящего диаметра. Как изготавливается подобная печка, смотрите на видео:
Классическая стальная буржуйка
Из железных листов толщиной 3—4 мм мы предлагаем сварить дровяную печку, показанную на фото. Внешне она похожа на классическую прямоугольную буржуйку с низким КПД (до 40%), но внутри конструкция подверглась модернизации. Чтобы сделать ее экономнее, над камерой сжигания устроены два дымовых зуба, как у кирпичных каминов.

Перегородки внутри корпуса, показанные на чертеже, перекрывают сечение топливника в горизонтальной плоскости и оставляют для продуктов горения маленький проход шириной 10 см. Течение нагретых газов по двум дымооборотам дает увеличение теплоотдачи на 5—10%, что гораздо лучше заводских чугунных печек.
Совет. Габариты отопительного агрегата, указанные на чертеже – не аксиома, вы можете их менять на свое усмотрение. Главное, — выдержать размер (высоту) газоходов. Мы не перечисляем потребные материалы, поскольку их список очевиден – листовой металл, обрезки труб на дымоход, да металлопрокат для колосников и ножек.

Порядок изготовления следующий:
- Сварите корпус буржуйки, начиная с подового листа. Первичная сборка деталей выполняется прихватками.
- Вырежьте и установите 2 перегородки. Для нижней, находящейся над пламенем, стоит взять железо потолще – 5—6 мм.
- Изготовьте колосниковую решетку и поставьте ее на опоры из уголков, приваренных изнутри к боковым стенкам топливника.
- Приделайте крышку и патрубок дымохода, смонтируйте простые дверцы с запорами.
- Окончательно проварите все швы.
Если вы рассчитываете топить буржуйку мелкими фракциями угля либо опилками, изготовьте колосниковую решетку из стальных уголков, развернутых профилем книзу. Расстояние между ними сделайте минимальным – 5 мм.
Заключение
Дровяную гаражную печку не обязательно мастерить из баллона или дорогостоящих стальных листов. Если в домашнем хозяйстве их нет, пустите на буржуйку старую железную бочку либо сложите отопитель из кирпича прямо на бетонном полу. Технология печной кладки подробно описывается в другой статье.
qustu.com
как сделать в гараже, чертежи
Буржуйка своими руками — это печь, сделанная из подручного материала с металлическим дымоходом, выходящим на улицу из окна городской квартиры. Она воспета еще в революционные времена. В народе она получила меткое прозвище — буржуйка. После революции буржуйка была вытеснена из наших квартир центральным отоплением и газовыми печками. Но, когда во время отечественной войны опять пришла беда и газовое отопление отключили, буржуйка вернулась в квартиры, чтобы спасти ее обитателей.

В эти тяжелые для всей страны времена буржуйки изготовлялись кустарным методом из того материала, что был под рукой. Грели они людей и в блиндажах, и в землянках, и в вагонах-теплушках, которые в это время были основным железнодорожным транспортом.
После войны буржуйки перекочевали из квартир в садовые домики и гаражи. Топятся эти чудо-печки и сегодня, в основном для обогрева хозяйственных подсобных помещений площадью до 20 кв.м. В гаражах, дачных домиках, теплицах и прочих подобных помещениях буржуйка продолжает быть незаменимым отопительным прибором. Чертежи буржуек можно найти в интернете и различных журналах.
Достоинства и недостатки
Буржуйка, как и любой прибор, не только отопительный, обладает своими не только неоспоримыми преимуществами, но и того же рода недостатками.
К положительным качествам относятся:
- Недорогой материал для топки. Сгодится все, что может гореть, начиная с пропанового топлива, дров и торфа и заканчивая любыми отходами. При этом никаких переделок для перехода на другое топливо не потребуется.
- Буржуйка своими руками обойдется недорого по сравнению с более капитальными печами.
- Компактный размер буржуйки позволяет отказаться от фундамента и капитального дымохода.
Недостатки буржуйки обусловлены ее достоинствами:
- Необходима эффективная вентиляция отапливаемого помещения.
- Конструкция агрегата не предусматривает накопления тепла, поэтому как только прекращается поступление топлива, печка моментально остывает.
- Высокий расход топлива.
Учитывая подобные особенности, использовать буржуйку в качестве постоянного отопительного прибора в жилых помещениях вряд ли получится — слишком дорого. Существует довольно большое количество конструктивных доработок, способных увеличить КПД работы печи. Организация эффективного теплообмена печи с кирпичным экраном поможет вам экономить топливо.
Конструкция буржуйки
Буржуйка изготовляется из чугуна и стали и представляет собой топку с дверцей. Обязательным элементом является дымоходная труба. Некоторые варианты могут быть оборудованы варочной поверхностью. Самодельная буржуйка обязательно должна быть оснащена отверстиями, достаточными для поступления воздуха для горения.
Самостоятельно изготовить буржуйку можно из чего угодно, лишь бы ее размер вас устраивал. Например, буржуйка из кирпича своими руками, которую можно изготовить из молочного бидона, объемом в 40 л:
- Зубилом следует сделать щель для поддувала немного ниже горловины.
- Дно бидона пробиваем и вставляем через патрубок изогнутую дымоходную трубу. Патрубок можно купить готовый, а можно сварить его самостоятельно, если обладаете подобным навыком.
- Делаем змееподобный колосник из толстой стальной проволоки и вставляем его в бидон через горловину.
- Экспериментально растягиваем колосник до нужного размера. От этого будет зависеть эффективность горения топлива.
- Делаем опору для печки, вставляем дымоходную трубу и выводим ее на улицу. Буржуйка готова.
Чем более длинной получится у вас дымоходная труба, тем меньше тепловых потерь будет у вашей печи. Чем лучшую герметичность соединений вы обеспечите, тем меньше дыма будет у вас в помещении.
Буржуйка из бочки. Особой популярностью у народных мастеров пользуется 200 л бочка из-под топлива. Из нее выходит отличная буржуйка. Диаметр бочки в 600 мм позволяет вписать в нее шестиугольник со стороной 314 мм, что удовлетворяет условиям, предписываемым припуски при установке стандартных отопительных приборов. Также буржуйка может быть изготовлена из газового баллона или из трубы.
Казалось бы, печка готова, но коэффициент полезного действия подобного прибора будет где-то в районе 15%, чего однозначно недостаточно для печи. Если печь экранировать, то срок ее службы недопустимо уменьшится. Причина такой дилеммы кроется в габаритах бочки — она слишком высокая. Практика показывает, что высота топки не должна превышать полтора размера ее глубины.
Чтобы исправить эту проблему, можно пойти двумя путями:
- Замуровать бочку на треть или наполовину в кирпич.
- В лишней части пространства печи устроить из огнеупора некое подобие духовки, через которое пропустить дымовую трубу.
- В обоих случаях проблема будет решена только частично, поэтому следует искать другой выход.
Оригинальным вариантом решения вопроса отопления гаража станет буржуйка из газового баллона. Отлично подойдет обыкновенный бытовой пропановый баллон, если положить его боком и использовать его горловину для подсоединения дымовой трубы. Но буржуйка из газового баллона с высоким КПД таким образом не получится — дымоход по правилам нужно оборудовать в дальней части топки, а в баллоне такого не получится.
Поэтому для длительного горения такая печь будет мало приспособлена. Про экономичность тоже не стоит упоминать, так как геометрия внутренней поверхности баллона рассчитана так, что огонь будет слишком быстро отдавать тепло в трубу, не успев до конца догореть.
Инструкция по изготовлению буржуйки на отработке
Как сделать буржуйку в гараж? Безопасная печь для гаража — мечта многих автовладельцев, но буржуйка из кирпича для гаража своими руками — не выход. Нужно оригинальное решение, как сделать буржуйку своими руками именно для гаража.
Схему решения вопроса подсказал автомобиль. В любом автотранспорте периодически меняют масло. Отработанное масло нужно как-то утилизировать. А почему бы им не топить печку?
Схема изготовления подобного аппарата достаточна простая:
Для того, чтобы сделать печь в гараж своими руками, вам понадобятся:
- 2 резервуара;
- соединение из трубы и дымоход;
- толщина металла должна быть порядка 4мм;
- верхняя крышка резервуара сверху должна быть немного толще — 6 мм;
- диаметр соединительной трубы должен быть не меньше метра, а ее длина порядка 40 см.
По всей длине трубы делаются отверстия диаметром 9 мм, в количестве не менее 50 шт. Труба, соединяющая резервуары, выполнена из жаростойкого металла и размещается над верхней емкостью.
Дымоход должен быть от 4 м, учитывая специфику гаража.
Сварить буржуйку нужно по определенной схеме.
Использование подобной конструкции обладает многими преимуществами, но все они перечеркиваются недостаточной пожарной безопасностью подобного устройства для гаража.
Но буржуйка для гаража своими руками требует минимальных материальных и временных затрат, что делает ее востребованной для использования.
tvoygarazh.ru





