Ремонт температурных швов
Дата публикации .
Многолетний опыт работы с предприятиями ЖКХ показал необходимость периодического объяснения различных технологий обслуживания зданий и системы функционирования различных конструктивных элементов зданий.
Виды деформационных швов
Деформационные швы подразделяются по своему назначению на температурные, усадочные, осадочные, компенсационные и сейсмические и представляют собой сквозной разрез здания на отдельные блоки для снижения нагрузки на элементы конструкции в местах различных деформаций.
В нашем климатическом поясе чаще всего встречаются первые два типа. Температурные швы можно увидеть на домах длиной более четырех подъездов, а иногда и чаще, и служат они для повышения упругости здания в межсезонье, когда меняется температура окружающей среды, а значит и здания.
Усадочные швы применяются в первую очередь в домах, состоящих из секций разной этажности, а значит и усадку после строительства они дают разную.
Иными словами, температурные и усадочные швы нужны, чтобы здание не треснуло от колебаний температуры и во время усадки здания.
Разумеется, деформационный шов должен быть защищен от попадания в него снега, влаги, грязи, и образования сквозняков внутри него. Для этого шов утепляют и герметизируют. Выбор материала для утепления зависит в первую очередь от ширины шва, а способ герметизации шва зависит от планового срока службы и имеющихся денежных средств для его ремонта.
Наиболее очевидным кажется заполнить шов вилотермом и заштукатурить, как реализовано на многих новостройках. Данный способ насколько прост, настолько же и недолговечен, поскольку штукатурка в деформационном шве не способна выдержать возложенную на него нагрузку и неизбежно сначала трескается, а потом и выкрашивается.
Вилотерм же показал свою недолговечность при отсутствии комбинирования его с монтажной пеной.
Варианты утепления швов
Разберем возможные варианты утепления и герметизации в зависимости от ширины шва.
При небольшой ширине оптимальным будет использование классической монтажной пены, в защищенном от солнечных лучей состоянии она уступает по долговечности только пенополистиролу.
При ширине шва от 30 до 50мм оптимальным будет сочетание монтажной пены и вилотерма. Вилотерм обеспечит экономию пены и добавит пластичности соединению, а пена создаст запас прочности и не позволит вилотерму принять постоянную форму во время смещения частей здания, а значит не допустит появления щелей в температурном шве.
При ширине шва от 50 мм и более рекомендуется использовать пенополистирол в сочетании с монтажной пеной.
Закономерен вопрос – почему нельзя полностью заполнить шов монтажной пеной?
Во-первых, при проектируемой ширине шва более 30мм учитывается и значительное смещение элементов здания по отношению друг другу, а значит возникает необходимость обеспечить должную пластичность утеплителю.
Во-вторых, пена гораздо дороже пенополистирола и вилотерма, и, как следствие, при полном заполнении шва только монтажной пеной стоимость погонного метра существенно возрастет.
Варианты герметизации швов
Герметизация температурно-усадочного шва производится либо двухкомпонентным герметиком, либо зашивается оцинкованным деформационным компенсатором.
Герметик можно использовать на швах небольшой и средней толщины. Важно использовать именно двухкомпонентный полиуретановый герметик, поскольку он более пластичен в отличие от акриловых герметиков и более долговечен. Минусом способа является относительная неэстетичность, поскольку двухкомпонетный герметик невозможно нанести идеально ровным слоем в силу его свойств. Плюсом – стоимость устройства шва, поскольку нанесение герметика менее трудоемко, чем установка компенсатора.
Использование герметика наиболее оправдано для усадочных швов, особенно для новостроек, где смещение элементов здания друг относительно друга еще не прошло свою наиболее активную стадию. Герметик со временем потрескается, но без ущерба для фасада здания, особенно, если здание утеплено широко используемым в настоящее время «мокрым фасадом».
Наиболее долговечным способом герметизации температурного шва является зашивка стыка оцинкованным компенсатором. Крайне важно использовать не просто оцинкованный лист, а использовать металлический профиль с армированием деформационным швом. Срок службы его ограничен только старением металла. Если же использовать простую оцинковку без деформационного сгиба, то со временем ее вырвет из стены из-за отсутствия минимальной эластичности на разрыв.
Температурные швы в бетонных конструкциях: назначение и виды
Любые строительные конструкции, независимо от того из какого материала они изготовлены (кирпич, монолитный железобетон или строительные панели) при изменении температуры меняют свои геометрические размеры. При понижении температуры они сжимаются, а при повышении, естественно, расширяются. Это может привести к появлению трещин и значительно снизить прочность и долговечность как отдельных элементов (например, цементно-песчаных стяжек, отмосток фундаментов и так далее), так и всего здания в целом.
Для предотвращения этих негативных явлений и служит температурный шов, который необходимо обустраивать в соответствующих местах (согласно нормативным строительным документам).
Вертикальные температурно-усадочные швы зданий
В зданиях большой протяженности, а также строениях с разным количеством этажей в отдельных секциях СНиП-ом предусмотрено обязательное обустройство вертикальных деформационных зазоров:
- Температурных – для предотвращения образования трещин из-за изменения геометрических размеров конструктивных элементов здания вследствие перепадов температур (среднесуточных и среднегодовых) и усадки бетона. Такие швы доводят до уровня фундамента.
- Осадочных швов, препятствующих образованию трещин, которые могут образовываться из-за неравномерной осадки фундамента, вызванной неодинаковыми нагрузками на его отдельные части. Эти швы полностью разделяют строение на отдельные секции, включая фундамент.
Конструкции обоих видов швов одинаковы. Для обустройства зазора возводят две спаренные поперечные стены, которые заполняют теплоизолирующим материалом, а затем гидроизолируют (для предотвращения попадания атмосферных осадков).
Ширина шва должна строго соответствовать проекту здания (но быть не менее 20 мм).
Шаг температурно-усадочных швов для бескаркасных крупнопанельных зданий нормируется СНиП-ом и зависит от материалов, примененных при изготовлении панелей (класса прочности бетона на сжатие, марки раствора и диаметра продольной несущей арматуры), расстояния между поперечными стенами и годового перепада среднесуточных температур для конкретного региона. Например, для Петрозаводска (годовой перепад температур составляет 60°С) температурные зазоры необходимо располагать на расстоянии 75÷125 м.
В монолитных конструкциях и зданиях, построенных сборно-монолитным методом, шаг поперечных температурно-усадочных швов (согласно СНиП) варьируется в пределах от 40 до 80 м (в зависимости от конструкционных особенностей здания). Обустройство таких швов не только повышает надежность строительной конструкции, но и позволяет поэтапно отливать отдельные секции здания.
На заметку! При индивидуальном строительстве обустройство таких зазоров применяют крайне редко, так как длина стены частного дома обычно не превышает 40 м.
В кирпичных домах швы обустраивают аналогично панельным или монолитным постройкам.
Температурные швы перекрытий
В железобетонных конструкциях зданий размеры перекрытий, как и размеры остальных элементов, могут меняться в зависимости от температурных перепадов. Поэтому при их монтаже необходимо обустройство компенсационных швов.
Материалы для их изготовления, размеры, места и технология укладки заранее указывают в проектной документации на строительство здания.
Иногда такие швы конструктивно делают скользящими. Для обеспечения скольжения в тех местах, где плита перекрытия опирается на несущие конструкции, под нее укладывают два слоя оцинкованного кровельного железа.
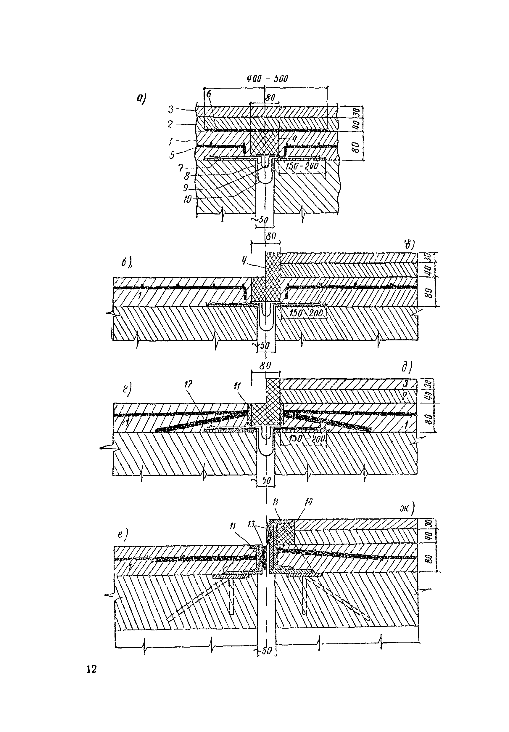
Температурно-компенсационные швы в бетонных полах и цементно-песчаных стяжках
При заливке цементно-песчаной стяжки или обустройстве бетонного пола необходимо изолировать все строительные конструкции (стены, колонны, дверные проемы и так далее) от соприкосновения с заливаемым раствором по всей толщине.
Этот зазор выполняет одновременно три функции:
- На этапе заливки и схватывания раствора работает как усадочный шов. Тяжелый мокрый раствор сжимает его, при постепенном высыхании бетонной смеси размеры залитого полотна уменьшаются, а материал заполнения зазора расширяется и компенсирует усадку смеси.
- Он препятствует передаче нагрузок от строительных конструкций бетонному покрытию и наоборот. Стяжка не давит на стены. Конструктивная прочность здания не изменяется. Сами конструкции не передают нагрузки на стяжку, и она не растрескается в процессе эксплуатации.
- При перепаде температур (а они обязательно происходят даже в отапливаемых помещениях) этот шов компенсирует изменения объема бетонной массы, что препятствует ее растрескиванию и увеличивает срок эксплуатации.
Для обустройства таких зазоров обычно используют специальную демпферную ленту, ширина которой несколько больше, чем высота стяжки. После отвердевания раствора ее излишки обрезают строительным ножом.
Когда обустраивают в бетонных полах усадочные швы (в случае, если финишное напольное покрытие не предусмотрено), полипропиленовую ленту частично удаляют и производят гидроизоляцию паза при помощи специальных герметиков.
В помещениях значительной площади (либо когда длина одной из стен превышает 6 м) согласно СНиП необходимо производить нарезку продольных и поперечных температурно-усадочных швов глубиной ⅓ от толщины заливки. Температурный шов в бетоне производят с помощью специального оборудования (бензинового или электрического швонарезчика с алмазными дисками). Шаг таких швов не должен быть более 6 м.
Внимание! При заливке раствором элементов теплого пола усадочные швы обустраивают на всю глубину стяжки.
Температурные швы в отмостках фундаментов и бетонных дорожках
Отмостки фундаментов, предназначенные для защиты основания дома от вредоносного влияния атмосферных осадков, также подвержены разрушениям вследствие значительных перепад температур в течение года.
Чтобы этого избежать обустраивают швы, компенсирующие расширение и сжатие бетона. Такие зазоры изготавливают на этапе строительства опалубки отмостки. В опалубке по всему периметру крепят поперечные доски (толщиной 20 мм) с шагом 1,5÷2,5 м. Когда раствор немного схватится, доски извлекают, а после окончательного высыхания отмостки пазы заполняют демпфирующим материалом и гидроизолируют.
Все вышеперечисленное относится и к обустройству бетонных дорожек на улице или парковочных мест возле собственного дома. Однако шаг деформационных зазоров можно увеличить до 3÷5 м.
Материалы для обустройства швов
К материалам, предназначенным для обустройства швов (независимо от вида и размеров), предъявляют одинаковые требования. Они должны быть упругими, эластичными, легко сжимаемыми и быстро восстанавливающими форму после сжатия.
Демпферная лента
Она предназначена для предотвращения растрескивания стяжки в процессе ее высыхания и компенсации нагрузок от строительных конструкций (стен, колонн и так далее).
Широкий выбор размеров (толщиной: 3÷35 мм; шириной: 27÷250 мм) этого материала позволяет обустроить практически любые стяжки и бетонные полы.
Уплотнительный шнур
Популярным и удобным в применении материалом для заполнения деформационных зазоров является шнур из вспененного полиэтилена. На строительном рынке представлены его две разновидности:
- сплошной уплотнительный шнур Ø=6÷80 мм,
- в виде трубки Ø=30÷120 мм.
Диаметр шнура должен превышать ширину шва на ¼÷½. Шнур устанавливают в паз в сжатом состоянии и заполняют ⅔÷¾ свободного объема. Например, для заделки пазов шириной 4 мм, нарезанных в стяжке, подойдет шнур Ø=6 мм.
Герметики и мастики
Для заделки швов применяют различные герметики:
- полиуретановые;
- акриловые;
- силиконовые.
Они бывают как однокомпонентные (готовые к применению), так и двухкомпонентные (их готовят путем смешивания двух составных частей непосредственно перед применением). Если шов небольшой ширины, то достаточно заполнить его герметиком; если ширина зазора значительная, то этот материал наносят поверх уложенного шнура из вспененного полиэтилена (либо другого демпфирующего материала).
Разнообразные мастики (битумные, битумно-полимерные, составы на основе сырой резины или эпоксидные с добавками для придания эластичности) используют в основном для герметизации наружных деформационных зазоров. Их наносят поверх уложенного в паз демпфирующего материала.
Специальные профили
В современном строительстве температурные швы в бетоне с успехом заделывают, применяя специальные компенсационные профили. Эти изделия имеют самые различные конфигурации (в зависимости от области применения и ширины шва). Для их изготовления применяют металл, пластик, резину или комбинируют несколько материалов в одном устройстве. Некоторые модели данной категории необходимо устанавливать уже в процессе заливки раствора. Другие же можно устанавливать в паз уже после окончательного затвердевания основания. Производители (как иностранные, так и отечественные) разработали широкий модельный ряд таких приспособлений, как для наружного применения, так и для установки внутри помещений. Высокая цена профилей компенсируется тем, что такой метод заделки зазоров не требует их последующей гидроизоляции.
В заключении
Правильное обустройство температурных, компенсационных, деформационных и осадочных швов значительно повышает прочность и долговечность любого здания; парковочных мест или садовых дорожек с бетонным покрытием. При использовании высококачественных материалов для их изготовления они прослужат без ремонта долгие годы.
Температурный шов в кирпичном многоэтажном доме
Кирпичный дом — это надежное и прочное жилье. Однако его стены склонны к деформациям, обусловленными колебаниями температур. Температурный шов в кирпичной кладке способствует значительному сокращению или предотвращению возможных растрескиваний стен, сохранению их целостности. Такие швы снижают нагрузку на элементы конструкции и делают кладку более устойчивой к колебаниям температуры воздуха.
Что это такое?
Деформационный шов в кирпичной кладке — это специальный зазор по периметру конструкции, который делит стену на отдельные отсеки, что придает зданию упругость. Его делают для того, чтобы предотвратить трещины в строительной конструкции при расширении и сужении стройматериалов под воздействием перепада температур, а также для дополнительной защиты стен от деформации во время усадки дома.
Размер зазора зависит от вида кладки и температуры окружающей среды в разное время года с учетом климатических условий региона. В многоэтажных домах температурный шов бывает:
- Вертикальный. Он проходит по высоте всего дома, за исключением фундамента, ширина 20—40 мм.
- Горизонтальный. Его делают на уровне всех перекрытий шириной 30 мм.
Вернуться к оглавлениюСоприкосновение температурного шва в кирпичной кладке с фундаментом здания недопустимо.
Виды температурных швов в кирпичном многоэтажном доме
В группе таких швов существует осадочный тип.Помимо температурных, в кладке существуют другие виды деформационных швов, такие как:
- усадочные;
- осадочные;
- сейсмические.
Все виды специальных зазоров защищают от разрушения каждый конструктивный узел дома и предотвращают образование трещин в несущих и других стенах. Температурные и усадочные пустоты делают во всех без исключения кирпичных домах.
Осадочные выполняют защитную функцию от разрушений при высоких нагрузках и нужны в многоэтажных строениях и домах с пристройкой. Их делают начиная с фундамента, но устройство выполняют по принципу вертикальных температурных зазоров, поэтому возможно их объединить в термоусадочные и создать в одной прошивке. Сейсмические пустоты целесообразно делать только на территориях с повышенной сейсмической активностью.
Варианты изоляции и утепления
С целью защиты от воздействий окружающей среды и предотвращения возникновения сквозняков внутри здания, все без исключения деформационные зазоры утепляют. Для этого создают защитный герметичный слой, используя упругие материалы. Выбор утеплителя зависит от размера температурного шва. При этом используется один вид материала или их сочетание. В таблице указан вид утеплителя в зависимости от ширины температурного промежутка в кирпичной кладке:
| Ширина шва, мм | Утеплитель | |
|---|---|---|
| до 30 | Монтажная пена | |
| свыше 30 | Вилатерм | Монтажная пена |
| Пенополистирол | ||
Для герметизации утепленных швов используют:
- двухкомпонентный герметик;
- оцинкованный деформационный компенсатор.

Герметик применяют полиуретановый, поскольку у него долгий срок службы и высокий уровень гибкости герметизирующего слоя. Укрепление и зашивка стыка оцинкованным компенсатором с деформационным сгибом прослужит более длительный период. Ее долговечность определяется сроком старения металла. В случае повреждения герметичности температурного шва или его утеплителя выполняют ремонтные работы.
Герметизация межпанельных и деформационных швов. Причины и методы устранения
На ее целостность и подвижность воздействует масса факторов: сезонные и суточные перепады температур, влажности, ремонтно-эксплуатационные работы, случающиеся аварии на водопроводных, отопительных, канализационных сетях, затопление подвалов, пожары в отдельных квартирах, и многое другое.
Часто результатом такого воздействия является взаимное перемещение конструкционных плит-панелей.
Пусть оно обычно незначительное, не сразу заметное глазу, но происходящее постоянно и неуклонно, со временем может приводить к весьма существенным изменениям. В итоге, межпанельные швы стремительно теряют герметизирующую прокладку, нанесенную при строительстве, оголяются, между ними появляются где тонкие миллиметровые, а где и более серьезные, измеряемые сантиметрами, деформационные щели.
Если ситуацию пустить на самотек, с течением времени она будет только усугубляться. В появившиеся мелкие щели станет проникать и накапливаться влага, в зимнее время в результате ее морозного расширения материал железобетонных панелей будет подвергаться водной эрозии, крошиться и рассыпаться.
В любом виде истончение герметизации межпанельного шва, появление в нем сквозных деформационных щелей приводит к:
- появлению мостиков холода, которые в отопительный сезон стают причиной серьезных потерь тепла, ощутимого снижения температуры в квартире, повышения затрат на отопление;
- просачиванию атмосферной влаги сквозь наружную стену, в результате чего в жилых помещениях наблюдается повышенная влажность (сырость), на внутренней отделке выступают грязные разводы, появляется и разрастается плесневой грибок.

Как с этим бороться
К сожалению, процесс щелеобразования по межпанельным швам панельных домов – практически неизбежен, мер по его предотвращению (профилактике) фактически не существует.
К счастью, с ним можно успешно бороться путем проведения периодической наружной герметизации межпанельных швов, которую целесообразно проводить один раз в 7-10 лет, в зависимости от типа фасада и применяемых материалов. Рекомендованная периодичность проведения работ по герметизации швов обуславливается ограниченностью сроков службы применяемых герметиков, постепенной потерей ими адгезии и эластичности, а также тем, что конструкция панельного дома продолжает «дышать», и деформационные трещины между конструкционными панелями со временем могут появляться в новых местах.
Технологии и материалы
Согласно сложившейся практике, в Украине применяются следующие основные, и наиболее эффективные (по соотношению цена/качество) технологии герметизации межпанельных швов. Которые практикуются в том числе и в нашей строительной компании «Веста».![]()
Поверхностная двухслойная герметизация. Является основным вариантом герметизации швов при отсутствии крупных деформационных щелей между ними, а также при необходимости выполнения больших объемов работ (как правило, на объектах панельной постройки). Включает в себя операции:
- очистка шва от пыли, грязи, каменной крошки, остатков старой герметизации;
- нанесение на шов первого слоя герметика;
- армирование шва полимерной сеткой по незастывшему герметику;
- нанесение поверх армирующей сетки второго слоя герметика.
Капитальный ремонт межпанельного шва с его глубокой заделкой. Как правило, применяется при обнаружении глубоких (сквозных) деформационных щелей средней и большой ширины. Включает в себя операции:
- очистка щели (шва) от пыли, грязи, каменной крошки на глубину до 50мм.;
- глубокое «задувание» шва клей-пеной или закладка теплоизоляционного шнура «вилатерм»;
- окончательная заделка щели штукатуркой, выравнивание вровень с наружной поверхностью стены;
- поверхностное накладывание на шов первого слоя герметика;
- армирование первого слоя герметика полимерной сеткой;
- накладывание второго слоя герметика.

В первой и второй технологиях в качестве герметиков применяются:
- Гермобутил стыковой 2М-У на основе бутилкаучука – для герметизации межпанельных швов с глубокими несквозными и сквозными щелями среднего и крупного размера, при необходимости выполнения больших объемах работ. Гермобутил 2М-У характеризуется отличной адгезией к твердым, в т.ч. пыльным поверхностям, высокой эластичностью, водо- и воздухонепроницаемостью, хорошими гидроизоляционными свойствами, которые сохраняются на протяжении до 20 лет. Он может эксплуатироваться в широком диапазоне погодных условий и температур, от – 30°С до +80°С.
- Двухкомпонентные (отверждающиеся, безусадочные) полиуретановые герметики – для герметизации тонких (узких) щелей на межпанельных швах, стенах, а также монтажных отверстий, по периметру оконной коробки, и т.д.
- Герметизация межпанельного шва совместно с его утеплением. Технология заключается в том, что прямо на межпанельный шов (с большим запасом по ширине) монтируются пенопластовые теплоизоляционные плиты, которые надежно прикрепляются к стене дюбелями.
В дальнейшем пенопластовые плиты заделываются защитной штукатуркой (классическая технология утепления наружных стен здания). Фактически, на межпанельный шов накладывается широкая и толстая «теплая» накладка.
Конечно, в сравнении с «поверхностной», и даже «капитальной» технологиями, «теплая» технология не отличается дешевизной. Но она позволяет кардинально решить проблему долгосрочной (многолетней) герметизации межпанельного шва, вне зависимости от возможных в будущем взаимных смещений панельных плит, которые допускаются конструкцией дома. Данная технология наиболее применима для «утепленной» герметизации межпанельных швов наружных стен отдельных квартир.
Осторожно!
После ознакомления с основными эффективными технологиями герметизации межпанельных швов, следует также знать о повсеместно существующей практике их «замазывания» герметиком в один слой. Часто это делается даже без тщательной очистки шва и образовавшихся щелей от пыльной и сыпучей фракций.
Естественно, качество такой герметизации не выдерживает никакой критики, а срок ее службы вряд ли выдержит хотя бы один осенне-зимний сезон. Но тем не менее, видимость проделанной работы она позволяет создавать, а значит, позволяет подрядчику требовать оплаты от заказчика.
Данная «технология» однослойной замазки межпанельных швов практикуется некоторыми безответственными строительными компаниями, которые стремятся с помощью подобной халтуры демпинговать в данном сегменте рынка.
Если нет возможности заранее проверить, по какой технологии фирма, предлагающая очень низкую демпинговую цену, намеревается выполнять заказ на герметизацию межпанельных швов, следует проявить осторожность. Более благоразумным станет заказ услуги герметизации у зарекомендовавшей себя компании, предлагающей среднюю цену по рынку, но которая предоставляет при этом документальные гарантии по качеству работ (договор) и портфолио в виде положительных отзывов.
1104 Просмотров
Герметизация межпанельных и деформационных швов
Рейтинг: 5.0 из 5 Голосов: 8 Оцените, пожалуйста, эту статью!
Заделка температурных швов | Герметик для швов, шовник, шовный герметик Sika, герметизация швов Зика, заделка швов
Трудно переоценить значение деформационных швов в строительстве. Ведь именно благодаря им здания имеют возможность спокойно двигаться по время усадки, не разрушаясь и не давая трещины на самой постройке.
Температурный шов, иначе еще называется шов сжатия и расширения главным образом предназначен для свободного расширения и сжатия бетона под действием перепадов температур. В этом случае бетонные плиты, образующие основания не связаны арматурой. Обычно место температурного шва назначается в соответствии с коэффициентом расширения бетона при различных температурах. Температурные швы обычно чередуются в карте бетонирования с усадочными.
Заделка температурных швов
Заделка температурных швов
Заделка температурных швов должна происходить обязательно материалами, которые предназначены для таких процедур. Обычно с целью герметизации бетона используются или полиуретановые герметики или гидроизоляционные мастики. Это составы, которые образуют прочный для механических воздействий и в то же время прочный на разрыв шов.
Так гидроизоляционные герметики представляют собой идеальное сочетание с точки зрения технологии применения и свойств при эксплуатации. Запрещается применение герметика во влажных или склонных к большой влажности помещениях. Полиуретановый продукт наносится на предварительно очищенное, максимально обеспыленное, а, главное, абсолютно сухое основание. Герметик наносится при помощи шпателя или методом налива, выбор способа нанесения во многом зависит от площади герметизируемой поверхности. После нанесения герметика образуется эластичный резиновый шов, который к тому же показывает высокую устойчивость к смене температур от минусовых до плюсов и, что немаловажно, переходам через «0». Окончательную прочность покрытие температурных швов приобретает в течение 5-7 суток, все зависит от влажности окружающей среды.
Заделка температурных швов
Гидроизоляционная мастика также представляет собой продукт для герметизации и полной защиты от влажности температурных швов, дабы предотвратить их преждевременное разрушение. Мастики бывают холодного нанесения, а могут наноситься только предварительно разогретыми до высокой температуры. Этот способ заделки стыков бетона считается более экономичным, нежели аналогичный только с полиуретановым герметиком.
Ремонт межпанельных швов в домах — LiveJournal
За какой срок необходимо устранить течь в межпанельных стыках жилого дома?
Кому положено делать ремонт межпанельных стыков?
Если жилищная контора не выполняет своих обязанностей по заделке швов в панельном доме, какая ответственность предусмотрено законодательно?
Вопрос 1. Какие законодательные методы воздействия можно применить к УК, чтобы она занялась восстановлением межпанельных швов?
Всем подъездом подали коллективную заявку на заделку межпанельных стыков, после этого коммунальные работники обследовали панели. И пришли к выводу, что в ремонте нуждается только несколько квартир. Если сделают частичный ремонт, во время дождя всех жильцов подъезда ждет потоп, так как со швов высыпался весь герметик. Как, с помощью законов, заставить УК сделать полноценный ремонт стыков?
Ответ: В соответствии с «Правилами и нормами технической эксплуатации жилищного фонда» заделкой межпанельных стыков занимаются при текущем ремонте здания, в обязательном порядке, и эта работа оплачивается жильцами дома, за счет ежемесячных платежей. Воспользуйтесь следующими статьями:
· 4.2.3.1 – в соответствии с ней управляющая компания обязана устранять все разрушения в швах непосредственно после их появления, для предотвращения усугубления ситуации.
· 161 – в соответствии с ней УК обязана обеспечивать безопасность и комфортность проживания в многоквартирном доме;
· 162 – содержит требования к УК по содержанию общедомового имущества в надлежащем порядке;
· 4.2.1.7. – описывает требования к качеству стыков между панелями.
Заявление в управляющую компанию пишется в произвольной форме. При составлении заявления ссылайтесь на вышеуказанные статьи. Если после этого реакции со стороны УК не последует, необходимо написать жалобу в Государственную жилищную инспекцию.Вопрос 2. Входит ли в обязанности квартиросъемщика заделка балконных швов?
Было подано заявление о восстановлении фасадных стыков, в зоне балкона, но управляющая компания отказала в ремонте, аргументировав это тем, что швы являются частной собственностью. Права ли управляющая контора, или она все-таки должна сделать такой ремонт?
Ответ: Согласно официальным документам, швы в панельных домах не делятся на прилегающие или неприлегающие к балкону. Согласно этим же документам, балконы принадлежат к общедомовому имуществу, и содержание его оплачивается владельцем квартиры. То есть, техническое содержание, отделка балкона – обязанность жильца. Но ремонт швов, прилегающих к балкону – работа управляющей компании, и она должна выполнять заделку стыков, как общедомового имущества, в ходе текущего ремонта дома. И нет разницы, остеклен балкон или нет.
Вопрос 3. УК отказала в ремонте межпанельных швов. Правомерно ли это?
Была подана заявка в УК на ремонт стыков, но в ней было отказано. Компания ссылается на то, что такой ремонт не предусмотрен в текущем году. Но стыки в стенах не заделаны, после дождя в квартире сразу появляются подтеки, в квартире холодно. С какой регулярностью компания должна проводить проверку швов, и входит ли их ремонт в состав текущего?
Ответ: Не предусмотрено срока годности для стыков между панелями, так как надежность их заделки зависит от качества материалов, работы. И очень часто ремонт стыков бывает необходим уже через 5 лет после постройки дома. В вашем случае УК обязана провести ремонт, в соответствии с такими правилами эксплуатации жилого фонда:
· 2.6.5. – в соответствии с этой статьей, неисправности фасадов и стен устраняются при проведении подготовки к зимнему периоду;
· 4.2.3.1. – локальные повреждения герметизации стыков устраняются по мере их появления, до того, как они усугубятся.
В соответствии с теми же правилами, текущим ремонтом являются плановые работы, в ходе которой проводится частичная починка неисправностей. Пункт 2 Правил гласит, что герметизация стеновых и фасадных стыков входит в текущий ремонт здания.
Вопрос 4. Имеет ли право УК откладывать заделку швов на следующий сезон?
Жильцы нашего дома подали заявку на заделку швов в декабре 2015 года. Управляющая компания согласилась на ремонт, но работы не были включены в зимний график, и компания пообещала провести заделку летом. Допустимо ли такое откладывание ремонта, и есть ли законодательные ограничения в плане сезонности работ по герметизации швов?
Ответ: Составление графика подобных работ проводится заранее, вместе с расчетом сметы и планированием бюджета. Законодательством предусмотрен осмотр дома два раза в год, весной и осенью, по результатам осмотров и составляются планы. Управляющая компания ставит дату осмотра, исходя из климатических особенностей. Заделка швов разрешена в любое время года, но сроки проведения работ зависят от степени их срочности и возможностей коммунальных служб. Нужно отметить, что заделка в теплое время года обеспечивает более качественную герметизацию.
Вопрос 5. Каким образом принудить УК компенсировать мои расходы по герметизации стыков?
Был выполнен срочный ремонт стыка внешней стороны дома, своими усилиями. Входит ли в обязанности управляющей компании компенсация моих расходов?
Ответ: В данном случае с вашей стороны работа была спланирована с нарушениями. Дело в том, что ремонт фасада относится к ремонту общедомового имущества, и выполнять его должна УК. Самостоятельно заделывать швы можно было после официального обращения в компанию и отказа в срочном ремонте. Тогда можно было бы заключить с компанией оглашение, в письменном виде, о компенсации ваших расходов.
Вы можете обратиться в суд за взысканием. Но придется собрать документы, подтверждающие срочность, важность ремонта, квитанции на затраченные материалы. И в этом случае вы вряд ли получите полную компенсацию, так как сумма расходов не была заранее оговорена с УК, и не факт, что выполненные вами работы будут признаны текущим ремонтом.
Вопрос 6. Текут стыки между плитами, куда обращаться?
В нашем доме швы между плитами нуждаются в срочном ремонте. Стены текут, в квартирах постоянно сквозняк и холод, а УК ничего не делает. Как заставить компанию выполнить ремонт?
Ответ: К сожалению, очень часто УК и ЖЕК игнорируют свои обязанности по ремонту межпанельных швов. Вам нужно оформить свои требования в форме коллективного заявления, от тех квартир, где есть проблемы со швами.
Вопрос 7. Как составляется и подается заявление в управляющую компанию на ремонт швов между панелями?
Ответ: Первое, что вам нужно сделать – доказать, что ремонт необходим. Для этого требуйте проведения обследования дома сотрудниками УК. Работники компании обязаны проверить состояние швов между плитами, состояние самой квартиры, замерить в ней температуру. После этого специалисты составляют заключение о необходимости ремонта стыков, и это заключение отдать вам на руки.
После составляется заявление, образец должен быть в УК. В заявлении обязательно укажите свои ФИО и адрес. Кратко описывается суть проблему, формулируется просьба проведения проверки швов и наказания для тех, кто допустил их текущее состояние. При регистрации заявления указывайте дату его подачи.
Далее документ относится в УК и регистрируется. После этого компания обязана направить к вам домой своего специалиста для обследования. Он оценит степень промерзания швов во время отопительного сезона, составляет акт, на основании которого квартиру ставят в очередь на ремонт.Вопрос 8. Можно ли проводить заделку швов в зимнее время?
С наступлением зимы в квартире промерзают стены, из-за нарушения герметичности швов между панелями. Обратились в УК, но в ремонте стыков было отказано, до наступления теплого периода. Обязана ли компания проводить ремонт зимой?
Ответ: Управляющая компания берет на себя всю ответственность за состояние стыков, в соответствии со ст. 2.6.2 Правил эксплуатации жилого фонда. И именно с нее нужно требовать проведение работ. Но основанием для них служат:
· Промерзание стен;
· Почернение углов в квартире;
· В углах более низкая температура;
· От стен идет сквозняк или явно холодный воздух.
Технически зимний ремонт возможен, тем более, если утепление требуется экстренно. Но низкая температура снижает качество герметизации, а при температуре -15 монтажная пена просто замерзает – повторять ремонт придется летом. А морозостойкие материалы, как правило, УК не используются, в силу дороговизны.
Кроме того, в мороз сложнее проводить альпинистские работы, и их качество будет низким. Поэтому идеальный вариант – зимой провести обследование квартиры, выявить уровень промерзания стен, а летом сделать герметизацию стыков.
Вопрос 9. За какой срок УК должна устранить течь межпанельных швов?
Было подано заявление о ремонте стыков в панельном доме, но прошло два месяца, а результатов нет. В квартире на стенах уже грибок. Насколько оперативно УК обязана реагировать на заявки?
Ответ: В правилах эксплуатации нет конкретных сроков проведения герметизации швов, но по факту, у УК есть 45 дней на проведение ремонта, с момента получения заявки от жильцов. Если в квартире холодно, промерзают стены или есть сырость, обязательно подавайте заявление.
Как это работает:
· В соответствии с пунктом 4.10.2.9 УК обязана следить за герметичностью швов;
· Около половины ежемесячной квартплаты идет на содержание, ремонт дома;
· При невыполнении УК своих обязанностей подается жалоба в Государственную жилищную инспекцию;
· Если выявляются нарушения в работе УК, ей грозит штраф;
· Лучше проводить ремонт стыков летом, но технически возможно проводить работы в любое время;
· Для проведения самостоятельного ремонта необходимо согласование с компанией;
· Для ускорения процесса заявку на ремонт лучше оформлять коллективно, в письменном виде.
Как пишется заявление в УК, Дэз, ЖСК или ТСЖ
В верхнем правом углу пишется ФИО заявителя, адрес его проживания или адрес квартиры, где требуется ремонт. Там же указываются контакты (телефон, электронная почта).
Ниже, посредине пишется «Заявление».
С новой строки: «Прошу произвести работы по герметизации межпанельных швов…». В тексте коротко описывается проблема, в конце заявления формулируется просьба о проведении проверке швов, наказании виновных.
Ниже текста пишется фамилия заявителя, дата подачи заявления, ставится подпись.
Типичные случаи проблем из-за межпанельных швов – советы эксперта
В процессе строительства панельных зданий между плитами образуется пустой промежуток – деформационный межпанельный шов, который необходим для обеспечения устойчивости и маневрирования дома во время его усадки.
С течением времени, когда происходит осадка фундамента и деформация швов, объем межплиточного пространства изменяется. Как следствие, в шов между панелями попадает влага и прохладный уличный воздух, а в помещениях возникают грибок и плесень.
Не менее неприятное последствие дефектной разгерметизации швов в жилых домах – невозможность оградить помещение от воздействий окружающей среды. Поэтому, когда из межпанельного шва дует, в комнатах образуется сквозняк. По этой же причине в холодное время года на месте дефекта образуется конденсат и наледь.
Нарушенная герметизация и деформация швов может проявляться в виде холода, поскольку тепло не задерживается в комнате, а улетучивается через стыки. При этом не обязательно ощущать сквозняки или находить на стенках конденсат и наледь.
Плесень в квартире: почерневшие обои, мокрые стены, грибок на стенах
Одной из самых распространённых проблем является появление в доме сырости, плесени, грибков. Благоприятная зона для размножения грибка – теплые и влажные места. Пораженные зоны темнеют, покрываются тонким налетом и пятнами. Плесень и грибок не только портят обои, стены, мебель и обезображивают помещение, но и вредят здоровью жильцов, вызывая аллергические реакции.
При попадании споров плесени в человеческий организм развивается множество болезней, которые сложно диагностировать и вылечить.
Протечки в окнах и швах стеклопакетов
Производители стеклопластиковых окон зачастую некорректно выполняют установку, как правило, стыки стеклопакета со стеной заливают монтажной пеной. Вследствие данной халатности, при нарушении панельного шва пена намокает и рушится, появляются щели между окном и стенкой, в них попадает влага и задувает ветер.
Плесень на стенах
Основные источники заражения – споры и мицелии, которые присутствуют в воздухе чуть ли не с момента появления жизни на Земле. Поэтому полностью удалить грибок и плесень очень сложно. Плесени довольно комфортно при комнатной температуре и чрезмерно высокой влажности, которые стимулируют рост колоний микроорганизмов.
Причины появления плесени на стенах
- Промерзание стен. Низкая эффективность системы отопления, значительные перепады температур в соседних помещениях, наличие «мостиков холода» в результате дефекта герметизации межблочных швов – это основной повод для появления плесневых и грибковых отложений на стенках.
- Влажность. Борьба с плесенью и грибком в помещениях начинается и после возникновения сырости в здании. В этом случае причиной выступает повышенный уровень влажности, из-за недостаточной герметизации здания вследствие проведения некачественной внешней гидроизоляции стен и швов.
- Неэффективная вентиляция. Возникает по причине плотно размещенных предметов мебели, установкой герметичных пластиковых окон при отсутствующей принудительной вентиляции. Нельзя отметать и фактор риска загрязнения вентиляционных каналов. Тогда прежде, чем решать вопрос, как вывести черноту со стен в своей комнате, необходимо очистить засор.
Устранение плесени
Плесневые грибы разрастаются по поверхности стен и микроскопическими нитями проникают даже глубоко внутрь, поэтому вывести их очень сложно. Решать проблему необходимо комплексно – физического удаления налета недостаточно, необходимо в обязательном порядке устранить непосредственную причину.
Устранение плесени происходит в несколько этапов:
- Механическая чистка грибка.
- Обработка специальным средством всей пораженной поверхности с захватом ближайших метров.
- Сушка поверхности.
- Проветривание помещения.
- Герметизация межпанельных швов.
- Профилактика образования грибка контролем влажности и циркуляции воздуха.
Решить проблему можно, обратившись в компанию «Строй МД». Профессиональные альпинисты за короткий срок качественно выполнят герметизацию межпанельных швов в сооружениях панельного типа, в жилых и производственных помещениях.
Навыки и снаряжение специалистов нашей компании позволяют подобраться к любому участку фасада и не привлекать дополнительную громоздкую технику. Заказать выезд альпинистов, уточнить условия сотрудничества и процесс подписания договора на обслуживание вашего дома можно на официальном сайте компании. Оператор примет заявку и подробно ответит на все вопросы.
Building Movement Joint Solutions – представители Pace
EMSEAL гордится наличием высококачественных, инновационных и долговечных материалов для использования в герметизации и перекрытии малых и больших строительных компонентов и структурных компенсаторов в фундаментах, настилах, стенах и перекрытиях. Успешно реализованные проекты компании в равной степени объясняются ее подходом к обработке деформационных швов.
Многие прорывы EMSEAL, от SEISMIC COLORSEAL до SJS, DSM и EMSHIELD, QUIETJOINT и QUICKCOVER, были обусловлены упрощением систем, удалением посторонних компонентов, снижением растягивающих напряжений на линиях скрепления и внутри материалов, устранением инвазивного крепления и включением нескольких функций. в один продукт.
Стены | Палуба | Разделенная плита | Пожарная безопасность | Крыша | 9000 Интерьер | Погруженный | Ниже класса | Акустический |
Что такое компенсатор?
В строительстве компенсационный шов представляет собой разделение в середине конструкции, предназначенное для снятия нагрузки на строительные материалы, вызванной движением здания, вызванным:
– тепловым расширением и сжатием, вызванным изменениями температуры,
– колебанием, вызванным ветром ,
– сейсмические события и др.
Поскольку стык разделяет всю конструкцию пополам, он обозначает разрыв во всех конструкциях здания – стенах, полах, крышах, настилах, плантациях, площадях и т. Д. Этот промежуток необходимо заполнить для восстановления гидроизоляции, противопожарной защиты, звукоизоляции воздушный барьер, кровельная мембрана, проходимая поверхность и другие функции строительных элементов, которые она разделяет.
Системы деформационных швов используются для устранения разрыва и восстановления функций сборки здания с учетом ожидаемых перемещений.
Термин «деформационный шов» получил широкое распространение, а не «деформационный шов», поскольку он более уместно охватывает тот факт, что движение здания приводит как к сжатию, так и к расширению уложенного материала.
Например, когда конструкция нагревается, строительные материалы, из которых она построена, расширяются. Это вызывает закрытие «компенсатора», тем самым сжимая систему компенсатора, установленную в зазоре.
И наоборот, когда температура падает, материалы охлаждаются, вызывая размыкание стыка. Это требует, чтобы материал компенсационного шва расширялся, чтобы следовать за движением шва.
Размер шарнира в зависимости от требований к перемещению:
Ширина подвижного соединения и его требования к перемещению не обязательно напрямую связаны.Размер шва – это просто базовая ширина шва при его средней температуре эксплуатации. (например, 2 дюйма). Требования к перемещению – это то, насколько сустав будет увеличиваться и / или уменьшаться по сравнению с его базовой шириной (например, от -1 “до +1”) в соответствии с критериями перемещения по проекту. Учитываются три основных критерия перемещения. при определении требований к совместному перемещению; термическое, деформационное и сейсмическое. Если размер стыка составляет 2 дюйма, а требования к общему перемещению сустава составляют от -1 до +1 дюйма, то общее перемещение сустава составляет 2 дюйма, и считается, что он имеет 100% движение на +/- 50%.Если у вас есть шарнир размером 4 дюйма с такими же требованиями к перемещению от -1 “до +1”, считается, что соединение имеет 50% -ное перемещение при +/- 25%. При детализации решений подвижного соединения очень важно выбрать подвижный шарнир. решения, которые могут удовлетворить требования к перемещению в зависимости от желаемого размера стыка.
Анкеровка:
Винты и распорные анкеры обычно используются для крепления рельсов, пластин и других систем, предлагаемых для герметизации и перекрытия компенсаторов.По своей природе винты либо самонарезающие, либо требуют просверливания отверстий, а затем саморезов. На хрупких основаниях, таких как бетон, кладка или кирпич, сверление часто приводит к растрескиванию основания и неправильному захвату. Обычно при установке под углом к поверхности стыковочной основы процесс завинчивания часто бывает неточным, что приводит к дальнейшему повреждению основы, срезанию крепежных элементов и ослаблению крепления стыковой системы. При применении внутренних углов, обычно при добавлении или изменении строительной плоскости, невозможно установить дрель или отвертку для установки анкеров в основание напротив внутреннего угла.Это часто игнорируемое условие приводит к тому, что соединительная система устанавливается на ненадежный клей или вообще не закрепляется.
Соединительные системы EMSEAL исключают инвазивное механическое закрепление в пользу неинвазивного противодавления предварительно сжатой пены в сочетании с чувствительной к давлению адгезивной пропиткой.
Трехмерное проектирование, детализация, строительство, изготовление, установка:
Деформационные швы исторически рассматривались и детализировались в двухмерных поперечных сечениях.Любой может сделать компенсационный шов водонепроницаемым в поперечном сечении. Однако стыки протекают при изменении плоскости, направления и в местах пересечения разнородных материалов стыков.
Успешные проекты с компенсаторами, которые не протекают, характеризуются совместным обязательством команды A / E, генерального подрядчика, производителя стыка и субподрядчика по гидроизоляции думать, проектировать, детализировать, определять, строить, изготовить и установить трехмерные решения.
Если этот совместный и дисциплинированный подход не будет принят в качестве основной философии любого проекта любого масштаба, будь то стадион, больница, школа, правительственное здание или аэропорт, он может быть Ожидается, что возникнут утечки воды и воздуха в компенсаторах, что приведет к затратам на техническое обслуживание и головным болям владельца.
Типы бетонных соединений и советы по размещению
Бетонные швы используются для компенсации расширения или усадки бетона при изменении температуры. Бетонные швы обычно используются для предотвращения трещин при усадке бетона путем создания форм, инструментов, распиловки и установки швов. Запланированные трещины обеспечат более качественную отделку бетонного изделия и будут сформированы в определенных местах, где эти трещины можно будет отслеживать. Иногда из-за материала и ширины или пролета бетонных швов требуется улучшить характеристики материала и позволить материалам расширяться / сжиматься или перемещаться, не повреждая другие конструкции.
Бетонные усадочные швы
Предназначен для создания ослабленного участка в бетоне и регулирования места появления трещин, обычно по прямой линии. Усадочные швы следует размещать так, чтобы панели были как можно более квадратными и никогда не превышали отношение длины к ширине от 1 ½ к 1. Швы обычно располагаются на расстоянии, равном от 24 до 30 толщине плиты.
Расстояние между стыками, превышающее 15 футов, требует использования устройств передачи нагрузки.Усадочные швы могут быть врезаны в бетонную поверхность во время укладки. В затвердевшей бетонной поверхности также можно пропилить стыки. Важно понимать, что чем дольше откладывается распиловка, тем выше вероятность образования трещин до завершения распиловки.
Бетонные деформационные швы
Бетонные компенсаторы используются для отделения плит и бетона от других частей конструкции. Деформационные швы обеспечивают независимое движение между соседними элементами конструкции, сводя к минимуму растрескивание, когда такие движения сдерживаются.Он допускает тепловое расширение и сжатие, не вызывая напряжения в системе.
Зачем они нужны?
Строительные швы используются в случаях, когда встречаются две последовательные укладки бетона. Строительные швы обычно закладываются в конце рабочего дня или когда бетонная заливка была остановлена дольше, чем начальное время схватывания бетона. Строительные швы должны проектироваться и уточняться инженером-строителем. Вы также можете добиться сцепления и продолжить армирование через строительный шов.Если в конце рабочего дня имеется достаточное количество PCC, строительный шов может быть размещен на запланированном поперечном сужающемся шве.
Размещение наконечников
Следует соблюдать следующие рекомендуемые советы:
- Максимальное расстояние между стыками должно быть в 24–36 раз больше толщины плиты.
- Соединения должны располагаться на расстоянии от 10 футов до 15 футов.
- При использовании канавок для усадочных швов глубина шва должна быть не менее толщины плиты.
- Распиленные швы следует выполнять в течение 4–12 часов после завершения бетонной отделки.
- Шпоночные соединения не рекомендуются для промышленных полов.
- Швы, обработанные сухим способом, следует выполнять через 1–4 часа после завершения отделки.
- Предварительно отформованный заполнитель швов следует использовать для отделения плит от стен или фундаментов здания. Поместите 2 дюйма песка поверх опоры, чтобы предотвратить прилипание к опоре.
- Если плита содержит проволочную сетку, рекомендуется разорвать сетку поперек усадочных швов.
- Расстояние между стыками также следует выбирать так, чтобы бетонные секции были приблизительно квадратными.
- Рекомендуется иметь бетонные швы вдоль линий колонн, пропиленные или шпоночные.
- Металлические дюбели следует использовать в плитах, которые несут большие нагрузки.
- Спланируйте точное расположение всех соединений, включая время распиловки пилой.
- Используйте изоляционные стыки между плитами и колоннами, стенами и фундаментами, а также там, где бордюры или тротуары встречаются с другими бетонными конструкциями.
- Материалы, используемые для бетонных швов, должны быть достаточно гибкими, чтобы поглощать или деформироваться по мере необходимости, а затем возвращаться в исходное состояние.
- Всегда ищите материалы, которые проницаемы и могут сцепляться с бетоном.
Инструменты
Следующие инструменты обычно используются для создания бетонных швов, хотя эти инструменты могут различаться в зависимости от размера и объема проекта. Вот наиболее часто используемые инструменты:
- Канавка для руки или шагающая канавка: в зависимости от размера плиты вы можете выбрать один из этих двух.
- Аккумуляторный инструмент для управляющих шарниров: идеально подходит для малых и средних проектов.
- Пила по бетону: идеально подходит для резки бетона пилой, но не забудьте знать, какой глубины должен быть этот разрез. В противном случае вы можете создать другие проблемы.
Подсказка
Шлифовальный станок с ножом по камню можно использовать вместо пилы по бетону для резки швов в сухом бетоне.
Правила проектирования усадочных швов
Усадочные швы (иногда называемые контрольными швами) используются в неармированных и слегка армированных плитах на земле, чтобы свести к минимуму случайное растрескивание.
Создавая прямолинейные ослабленные плоскости в бетоне, усадочные швы «контролируют» место образования трещин, вызывая трещины в заранее определенных местах. По мере того, как плиты усаживаются из-за охлаждения и высыхания, начинают образовываться усадочные или растягивающие напряжения, и в усадочных швах образуются трещины, потому что в этих местах бетон становится слабее или тоньше. (Рис. 1, ниже).
Рис. 1. Распил создает ослабленную плоскость, вызывающую трещину под пропилом. Ким Башам
Щелкните здесь, чтобы загрузить бесплатную инфографику по этим правилам на ForConstructionPros.com / 21415569.AC Business Media
Усадочные швы обычно устанавливаются с помощью инструментов для стыковки, пока бетон еще пластичный, или путем пиления после того, как бетон был закончен либо пилой для мокрой резки, либо, что чаще, сухой резкой на начальном этапе. пила. Для любого метода следуйте этим правилам соединения, чтобы свести к минимуму риск случайного растрескивания или растрескивания вне стыка.
Компоновка
За проектирование стыков, включая компоновку, отвечает проектировщик перекрытий. В конкретном проекте инженер или архитектор отвечает за проектирование совместной компоновки, но для неуказанных работ проектировщиком обычно становится подрядчик по бетону.
Правило №1: Панели, образованные усадочными соединениями, должны быть как можно более квадратными. Схема стыков должна разделять большую плиту на относительно небольшие панели квадратной формы. Избегайте длинных и узких панелей, L-образных и T-образных панелей. Длинная сторона никогда не должна быть больше короткой стороны более чем в 1-1 / 2 раза. Для лучшего контроля за трещинами ограничьте длину длинной стороны в 1-1 / 4 раза больше короткой стороны (рис. 2).
Рис. 2. Сохраняйте соединяемые панели как можно более квадратными и ограничивайте длину длинной стороны примерно до 1.25 x короткая сторона для лучшего контроля трещин, но не более 1,5 x короткая сторона. Ким Башам
Правило № 2: Усадочные швы должны быть непрерывными, не смещенными или смещенными. Из-за концентраций напряжений, возникающих в местах окончания стыков (т. Е. Трещин), трещины будут продолжаться в несвязанном бетоне. Если нельзя избежать прерывистых швов, вставьте два или три арматурных стержня # 4 x 3 фута в следующую плиту, чтобы перекрыть трещину, которая будет расти из прерывистого шва (рис.3). Используйте арматурные стулья, чтобы удерживать стержни на месте в верхней 1/3 плиты.
Рис. 3: Избегайте прерывистых соединений. Если это неизбежно, используйте 2 или 3 # 4 x 3 фута для перехвата и контроля прерывистых трещин в стыках. Ким Бэшем
Правило № 3: Выявление и устранение повторяющихся углов. Если входящие углы неизбежны, расположите усадочные соединения, чтобы контролировать растрескивание, которое начинается во входящих углах, или поместите «угловые» арматурные стержни по диагонали перед входящими углами, чтобы перекрыть трещины (рис. 4).Угловые арматурные стержни должны плотно удерживать входящие угловые трещины и предотвращать их перемещение по всей плите.
Рис. 4: Избегайте повторного входа в углы. Если это неизбежно, используйте арматуру 2 или 3 # 4 x 3 фута для перехвата и контроля повторной трещины. Ким Бэшем
Правило № 4: Устанавливайте усадочные швы в местах, где плиты обычно трескаются. Для реализации этого правила требуется опыт или проверка существующих плоских работ. Прогуливаясь по городу, осматривайте бетонные плиты на предмет трещин.Со временем станет очевидным лучшее понимание типичных мест расположения трещин. Например, разместите усадочный шов примерно в трех футах от конца плиты треугольной формы, потому что именно в этом месте обычно возникают трещины (рис. 5).
Рисунок 5: Поместите усадочные швы там, где вероятно возникновение усадочных трещин. Ким Бэшем
Максимальное расстояние между швами
Исторически максимальное рекомендованное расстояние или расстояние в футах между стыками было в два-три раза больше толщины плиты в дюймах.Для плиты толщиной 6 дюймов эта рекомендация дает максимальное расстояние между стыками от 12 до 18 футов. В целом, если толщина плиты в два-три раза больше рекомендованной толщины, это дает приемлемые результаты, если допускается некоторое растрескивание панели. Фактически, до трех процентов панелей перекрытий, сформированных в результате сочетания распиловки и строительных швов, могут треснуть не только в усадочных швах, но и в других местах.
Правило № 5: Для лучшего контроля трещин сохраняйте максимальное расстояние между суставами в ногах от 2 до 2.5-кратная толщина плиты в дюймах. Для плиты толщиной 6 дюймов максимальное расстояние между стыками должно быть ограничено от 12 до 15 футов. Превышение расстояния между стыками 15 футов для плиты толщиной 6 дюймов увеличит вероятность случайного или неправильного расположения швов. совместное растрескивание. Как правило, уменьшение расстояния между стыками или размера панели снижает риск случайного растрескивания.
Кроме того, уменьшение расстояний между стыками приведет к уменьшению ширины трещин в усадочных стыках, что увеличивает сцепление заполнителя. Увеличение блокировки заполнителя улучшает способность передачи нагрузки и помогает поддерживать лучшее вертикальное выравнивание по стыкам.
Правило № 6: На тротуарах и проездах оставляйте поперечные усадочные швы с интервалами, примерно равными ширине плиты. Для тротуаров толщиной 4 дюйма и проездов шириной более 10 футов добавьте продольный шов по центру и сохраняйте панели как можно более квадратными.
Глубина шва
Усадочные швы должны быть достаточно глубокими, чтобы гарантировать, что они действительно являются ослабленными плоскостями, которые растрескиваются до того, как произойдет случайное или несвязное растрескивание. Если существуют ослабленные плоскости или тонкие секции плиты, отличные от усадочных швов, может возникнуть случайное растрескивание.
Правило № 7: Для соединений с инструментами или пазами глубина усадочного соединения должна составлять 1/4 толщины плиты. Для внутренних полов укажите радиус кромки 1/8 дюйма для вершины канавки или стыка. Укажите радиус кромки от 1/4 до 1/2 дюйма для внешних перекрытий.
Правило № 8: Для швов, пропиленных мокрым распилом, глубина усадочного шва должна составлять 1/4 толщины плиты или минимум 1 дюйм. Чтобы обеспечить активацию шва или растрескивание, иногда глубина пропила составляет 1/3 толщина плиты указана.Однако при более глубоком стыке будет меньше совокупной блокировки. Допуск по глубине для соединений с пропилом составляет ± 1/4 дюйма.
Правило № 9: Для соединений, установленных с помощью пилы для сухой резки с ранним входом, глубина соединения должна составлять 1-1 / 4 дюйма с . ± Допуск 1/4 дюйма для плит толщиной до 9 дюймов Для более толстых плит глубина пропила должна увеличиваться, чтобы обеспечить активацию стыка. Кроме того, для плит, армированных волокном, обычно увеличивается глубина пропила.Волокна увеличивают предел прочности неразрезанного бетона под пропилами, поэтому для создания ослабленной плоскости обычно требуются более глубокие пропилы. Для плит, армированных волокном, обратитесь к техническому представителю по волокну для получения информации о рекомендуемой глубине пропила, чтобы обеспечить активацию стыка.
Время пропила
Помимо глубины усадочных швов, время пропила имеет решающее значение для минимизации случайного растрескивания. В общем, стыки с пропилом следует устанавливать, как только бетон станет достаточно твердым, чтобы противостоять разрыву и растрескиванию, и до того, как произойдет случайное растрескивание.
Пилы для сухой резки с ранним началом более популярны, потому что соединения можно установить раньше (от одного до четырех часов после отделки), чем соединения, установленные с помощью пил для мокрой резки (от четырех до 12 часов после отделки). Пилы для сухой резки с ранним входом позволяют устанавливать усадочные швы до того, как бетон начнет остывать, и до того, как усадочные напряжения станут слишком большими или превысят предел прочности бетона на растяжение.
Правило № 10: Начинайте резку пилой, как только исчезнет расслоение стыка (потеря частиц заполнителя). Однако допустимо небольшое растрескивание кромок, чтобы обеспечить установку стыков до того, как усадочные напряжения бетона станут слишком большими.
Ссылки
Публикация рабочей тетради для мастеров CP-10 (10), Американский институт бетона, www.concrete.org
ACI 302.1R-15 Руководство по бетонным перекрытиям и перекрытиям, Американский институт бетона, www.concrete.org
ACI 360R-10 Руководство по проектированию перекрытий на земле, Американский институт бетона, www.concrete.org
Эта статья была первоначально опубликована 17 апреля 2018 г.
Контрольные, компенсирующие и холодные соединения в бетоне
Без надлежащего типа швов в бетоне он может потрескаться неприглядным или случайным образом, что приведет к повреждению и в некоторых случаях может привести к опасности споткнуться.
В основном есть 3 типа соединений:
- Управляющие шарниры
- Расширительные швы
- Холодные соединения
1. Управляющие шарниры
Подрядчики по бетону часто говорят: «Есть два типа бетона; бетон с трещинами и бетон с трещинами.«Поскольку известно, что большая часть бетона потрескается, подрядчики любят контролировать, где он будет трескаться; это уменьшает случайное растрескивание. Они делают это, вставляя контрольные суставы, иногда называемые сужающимися суставами.
Контрольные швы обычно встречаются в бетоне:
- Этажи гаража
- Проездные
- Тротуары
- Патио
- Цокольные этажи
- Плиты для дома
При первой укладке бетона он слегка усадится в процессе твердения или затвердевания.20-футовый квадрат недавно уложенного бетона будет давать усадку примерно на 1/8 – четверть дюйма в процессе отверждения. Эта усадка создает напряжение в новом бетоне, и в нем появляются трещины. Эти трещины называются усадочными.
Вместо того, чтобы позволить этим трещинам появляться где угодно, поскольку они выглядят некрасиво, подрядчики ослабят плиту в разных местах. Ослабляя плиту, она имеет тенденцию треснуть в самых слабых местах, а именно там, где она самая тонкая. Они достигают этого в основном тремя способами.
Когда и как устанавливаются контрольные соединения
Контрольные швы обычно помещаются в бетон в процессе отделки или в течение 24 часов после заливки.
- Пила для резки плиты по шаблону (обычно сразу после того, как бетон немного затвердел)
- Ручная установка пластмассовых контрольных швов во время заливки бетона
- Использование ручного фуганка для проточки стыков в процессе чистовой обработки
Важна глубина шарнира управления
Если контрольный стык слишком неглубокий, он не ослабит бетон настолько, чтобы он растрескался в том месте, где был установлен контрольный стык.Это часто происходит рядом с ослабленным участком или в другом месте, где это было нежелательно. (на фото показан контрольный шов, который не был прорезан достаточно глубоко, поэтому бетон треснул случайным образом)
Основное правило, которому следует следовать при оценке глубины контрольного шва, состоит в том, что он должен составлять примерно 1/4 глубины бетона. Если бетонная плита имеет толщину 4 дюйма, глубина контрольного шва должна составлять 1 дюйм. В большинстве случаев глубина, на которую финишеры устанавливают контрольные соединения, меньше, чем обычно рекомендуется.
Форма / расположение управляющих шарниров
Контрольные швы в бетонных плитах, которые заливаются на уровне (поверх земли), размещаются так, чтобы бетон имел квадратную или прямоугольную форму или форму. В форме прямоугольника отношение длины к ширине редко превышает отношение длины к ширине 1,5: 1.
Расстояние между суставами обычно составляет от 10 до 15 футов максимум, однако иногда оно может быть меньше или больше в зависимости от обстоятельств. Они являются рядом подрядчиков, которые используют эмпирическое правило для размещения швов: они размещают швы в 24–30 раз больше толщины плиты.Другими факторами, которые могут определять расстояние, является армирование бетона и рекомендации инженеров.
2. Компенсаторы
Деформационные швы позволяют движение без повреждения бетона
Изменения температуры
Бетон, как и многие другие материалы, расширяется при нагревании и сжимается при охлаждении. Бетонная подъездная дорога может испытывать перепады температур от 20 градусов ниже нуля до более 100 градусов жарким летом.Подъездная дорога длиной 100 футов расширится на 5/8 до 3/4 дюйма при разнице температур в сто градусов.
Движение почвы
Когда почва смещается, оседает или поднимается вверх из-за проблем с почвой и ее движения, участки бетона, лежащие на почве, также будут перемещаться.
Если два куска бетона прилегают друг к другу и один из них двигается или сдвигается, то угол или край бетона могут расколоться или отколоться. Обычно, если у вас есть два твердых и хрупких куска материала, и они с силой трутся друг о друга, край может треснуть или расшататься.Слишком предотвращайте прямое трение двух твердых кусков бетона друг о друга; подрядчик кладет между ними кусок более мягкого материала, чтобы предотвратить прямой контакт.
Вот почему подрядчики устанавливают компенсатор между проезжей частью и полом гаража. Это помогает предотвратить растрескивание и растрескивание бетона. Не все подрядчики делают это, но это хорошая практика строительства. Обратите внимание: если компенсатор отсутствует и в бетоне есть трещины на стыке, это не обязательно означает, что бетон слабый или дефектный.
Бетонные настилы бассейнов
В домах, у которых есть бетонный настил напротив ограждения бассейнов или участков соединительной балки, могут появиться трещины в корпусе бассейна или повреждение ограждения из-за отсутствия компенсационного шва. Без надлежащего компенсатора бетонный настил может оказывать огромное давление на бассейн, что может вызвать трещины и повреждения. (Узнайте о проблемах с площадкой бассейна и о повреждении бассейнов)
3. Холодные стыки
Покупатели часто путают холодный стык бетона с трещиной и не обязательно встревожены
Холодные швы иногда выглядят как трещины, но они возникают, когда подрядчик заливает бетон до определенной высоты или точки, а затем останавливается.Затем залитый бетон схватывается и затвердевает. Позже, возможно, через день, неделю или месяц подрядчик заливает бетон поверх ранее залитого бетона или рядом с ним.
После того, как вторая заливка застынет и затвердеет, вы увидите линию, которая выглядит как трещина между двумя заливками. Это называется холодным швом, и это обычная строительная практика, которую делают намеренно. Это не признак проблемы или дефектного бетона.
Итог
Если в бетонной плите нет надлежащих контрольных швов, бетон часто будет беспорядочно трескаться, создавая непривлекательный вид и вызывая у покупателя опасения по поводу наличия структурных проблем.Кроме того, обычно существует ряд мест, где вы можете захотеть закрыть трещины, чтобы вода не могла проникнуть через трещины и создать другие проблемы; гораздо проще загерметизировать контрольный стык, чем заделать случайные трещины.
Если нет надлежащих компенсаторов, бетонные секции, прилегающие к другим бетонным секциям, могут быть повреждены. Наличие деформационных швов позволяет бетону немного сдвигаться из-за движения почвы или изменений температуры без повреждений.
Покупатели и домовладельцы часто ошибочно принимают холодный стык за трещину, поскольку неподготовленному глазу он действительно похож на трещину. Однако холодные швы – это нормальное явление при строительстве, и, как правило, не о чем беспокоиться.
стыков в бетонных плитах | JLC Онлайн
Q : Мои клиенты хотят иметь готовый подвал в своем новом доме и надеются использовать бетонную плиту в качестве готового пола. Как я могу детализировать плиту, чтобы минимизировать растрескивание?
A : Персонал JLC отвечает : Один мудрый человек однажды сказал, что нет ничего определенного, кроме смерти и налогов, но, возможно, к этому списку можно добавить трещины в бетоне.Простая правда заключается в том, что трещины в бетоне неизбежны, особенно когда бетон уложен относительно тонким слоем, как в плите. Национальная ассоциация готовых бетонных смесей (NRMCA) опубликовала отличную серию статей под названием «Бетон на практике». В одной из этих статей, «CIP 6 – Соединения в бетонных плитах по уклону», подробно объясняется, как и почему трескаются бетонные плиты, а также как контролировать это растрескивание. Большая часть этого ответа взята из этой статьи.
Бетон перемещается – расширяется и сжимается – при изменении влажности и температуры, а также в процессе отверждения.Он слаб при растяжении, и по мере его усадки напряжения становятся больше, чем его предел прочности, что приводит к трещинам. Это растрескивание происходит даже в том случае, если плита армирована проволочной сеткой, которая не предотвращает растрескивание, но обеспечивает плотное закрытие трещин. Предоставленный самому себе, плита будет неконтролируемо треснуть, образуя неправильные узоры, и именно этого ваши клиенты пытаются избежать.
Мы можем контролировать трещины в бетоне, используя два разных типа швов: компенсационные (или изолирующие) швы и усадочные (или контрольные) швы (см. Иллюстрацию ниже).
Тим Хили Правильные стыки в плите могут предотвратить неконтролируемое растрескивание. Усадочные швы, прорезанные в поверхности, дают плите более слабую точку растрескивания, поскольку она сжимается в процессе отверждения. Деформационные швы позволяют плите перемещаться по горизонтали и вертикали, не контактируя с частями конструкции, такими как фундаментные стены, опоры или несущие колонны. Полосы сжимаемого пенопласта или асфальтобетонного покрытия создают хорошие деформационные швы, а 2-дюймовый слой песка может изолировать плиту от основания.Деформационные швы отделяют плиту от таких конструкций, как фундаментные стены, опоры и несущие колонны, и позволяют плите свободно перемещаться как по горизонтали, так и по вертикали. Эти стыки могут быть полосами пропитанного асфальтом листового материала, сжимаемой пены или других материалов, которые кладут на место перед заливкой плиты. Слой песка толщиной не менее 2 дюймов также может служить для изоляции плиты от основания. Для колонны NRMCA рекомендует сформировать коробку вокруг ее основания из соединительного материала.В нем говорится, что нужно повернуть коробку на 45 градусов в ромбовидную конфигурацию, а затем усадочные соединения пересечься с остриями ромба. Ящик остается на месте во время заливки и затем заполняется отдельной заливкой.
Усадочные швы – это линии, вырезанные или сформированные в плите, которые создают слабое место в профиле плиты, создавая место для возникновения трещин. Другими словами, когда вы врезаете усадочный шов в плиту, растрескивание должно происходить под швом, где плита наиболее слабая.Думайте об этих стыках как о надрезах на плите, как о надрезании гипсокартона, чтобы контролировать, где он ломается.
Усадочные швы можно сформировать в плиту с помощью инструмента для соединения швов на ранних этапах процесса отделки. Эти стыки также можно разрезать на плиту с помощью дисковой пилы с лезвием для резки бетона. Стыки распилом следует делать через 4–12 часов после отделки. Другой вариант – вставить полоски из ДВП или пластика в поверхность плиты, когда бетон еще влажный. Усадочные швы должны составлять одну четвертую глубины бетона, поэтому для плиты толщиной 4 дюйма усадочный шов должен иметь глубину 1 дюйм.
Для пола в готовом подвале цель состоит в том, чтобы как можно больше контролировать растрескивание, делая стыки как можно более незаметными. Деформационные швы вдоль фундаментных стен, скорее всего, будут закрыты любым стеновым каркасом, который вы устанавливаете. Если плита будет использоваться в качестве готового пола, хорошим выбором для усадочных швов будут швы, пропиленные распилом, которые, вероятно, наименее заметны из возможных. Если ваш клиент намеревается разделить готовый подвал на комнаты, вы можете скрыть некоторые или все усадочные швы под перегородками.
Перед нанесением бетона найдите все усадочные швы на готовом плане подвала. NRMCA предлагает несколько практических правил расположения суженных суставов. Во-первых, швы должны располагаться не более чем в 24–36 раз больше толщины плиты; Например, для 4-дюймовой плиты усадочные швы должны находиться на расстоянии от 8 до 12 футов. Далее NRMCA заявляет, что расстояние не должно превышать 15 футов.
Разложите узор усадочного шва так, чтобы панели были близки к квадрату.Длина каждой панели не должна превышать ширину более чем в 1,5 раза. Если подвал имеет L-образную форму, используйте суживающий шов, чтобы изолировать ногу L. При тщательном творческом планировании вы сможете скрыть большую часть швов в готовом подвале, а правильно расположенные швы должны почти полностью исключить любые нерегулярные и неконтролируемые трещины в плите.
Правильное применение контрольных швов в кирпичной кладке:
Правильное применение контрольных швов в кирпичной кладке:
Последствия неэффективного проектирования
Фил Бреартон, П.Eng., LEED-AP, Stephenson Engineering Ltd.
Первоначально опубликовано в весеннем дополнении OBEC «Pushing the Envelope Canada»Правильное применение контрольных швов в кирпичной кладке – не новая тема. Однако, судя по частоте отказов кирпичной облицовки, с которыми сталкивается Stephenson Engineering, есть архитекторы, специалисты по ограждающим конструкциям и строители, которые могут рассматривать это как полезное напоминание о принципах проектирования швов в кирпичной облицовке и последствиях неэффективного проектирования.Контрольные швы в облицовке кирпичом особенно важны для больших и сложных коммерческих зданий, поскольку они, как правило, имеют более крупные стеновые панели и более жесткие конструкции.
КИРПИЧНЫЙ ШПОН ВЕРТИКАЛЬНЫЙ ШРУС НАЗНАЧЕНИЕ
Контрольный шов облицовки кирпича – это непрерывный зазор в системе облицовки, который позволяет расширяться и сжиматься соседним панелям. Термин «управляющий стык» обычно используется в Онтарио, хотя некоторые эксперты предпочитают использовать «компенсатор».
Несмотря на то, что большинство перемещений на стыке произойдет в течение 18 месяцев после строительства, дальнейшее перемещение будет продолжаться с изменениями температуры фасада и циклами смачивания.
ОТВЕТСТВЕННОСТЬ ЗА ПРОЕКТИРОВАНИЕ УПРАВЛЯЮЩЕГО СОЕДИНЕНИЯ КИРПИЧНОГО ШПОНА
Управляющие стыки могут быть неправильно обработаны, потому что строители ошибочно полагают, что это роль инженера-строителя, или они делегировали проектирование подрядчику. Архитектор отвечает за обеспечение неструктурных деформационных швов и контрольных швов для защиты неструктурных элементов здания. Инженер-строитель отвечает за проектирование структурных деформационных швов для защиты здания от осадки, землетрясений, динамических и статических нагрузок здания.
Изогнутая кирпичная панель из-за недостаточной конструкции контрольного шва.
КОНСТРУКЦИЯ ВЕРТИКАЛЬНОГО УПРАВЛЯЮЩЕГО СОЕДИНЕНИЯ КИРПИЧНОГО ШПОНА
Контрольный зазор проходит только через кирпичную облицовку, тогда как все остальные компоненты стены остаются сплошными (например, изоляция, слой воздушного барьера, структура, внутренняя отделка). Панели из кирпичного шпона с каждой стороны контрольного стыка требуют независимых боковых опор (т. Е. Кирпичных шпонов в пределах восьми дюймов от контрольного стыка).
Конструкция вертикального контрольного шва в кирпичной кладке состоит из зазора в кирпичной кладке сверху вниз панели. Стержень подложки (то есть непрерывный пенопласт) с внешним диаметром на 25% больше ширины контрольного шва затем вставляется в зазор, так что глубина открытого зазора уменьшается до 50% ширины зазора (например, опорный стержень должен располагаться на расстоянии четверти дюйма от лицевой стороны кирпича, если шов имеет толщину в полдюйма). Сплошная полоса герметика обеспечит защиту шва от атмосферных воздействий.
Герметикидолжны быть выбраны с учетом ожидаемого расширения и сжатия шва. Когда-то полиуретаны были самым популярным выбором герметиков; однако силиконовые герметики в настоящее время являются предпочтительным вариантом из-за исключительного срока службы.
Независимо от герметика, подготовка поверхности имеет решающее значение для его адгезии. Герметик может приклеиваться только к поверхности, с которой соприкасается. Если поверхность покрыта строительной пылью, герметик будет хорошо держаться – только! – с пылью.
Крошка кирпича на внешних углах – менее известная неисправность, вызванная несовершенной конструкцией управляющего шарнира
Опорный стержень выбирается исходя из его совместимости с герметиком. Стержень-подложка выпускается из пенопласта с открытыми, закрытыми и двухъячеистыми ячейками; стержень с закрытыми порами более влагостойкий, но имеет узкий диапазон сжимаемости. Кроме того, они замедляют отверждение герметиков, отверждение которых зависит от влажности воздуха, и их нельзя прокалывать, иначе выделение газа может вызвать образование пузырьков в валике герметика.
Принципы размещения контрольных швов хорошо задокументированы бюллетенями 18 и 18A ассоциации производителей кирпича, а также ASTM STP 992. Обоснование расчета ширины и расположения контрольных швов основано на известных свойствах кирпичного шпона. . Хотя свойства различаются в зависимости от различных комбинаций кирпича и раствора, в целом движение кирпичной кладки зависит от расширения влажности кирпича (ke), теплового расширения (kt) и расширения при замерзании (kt).
Mu = (ke + kf + kt x T), где «mu» – это неограниченное движение кирпича, а «T» – ожидаемый диапазон температур кирпичной кладки.Известно, что кирпич темного цвета расширяется больше, чем светлый, потому что он поглощает больше тепла. Если параметры кирпича недоступны, следует предположить, что неограниченное движение кирпичной кладки будет равняться длине панели, умноженной на 0,0009.
Предполагая коэффициент расширения 0,0009, расстояние между вертикальными контрольными швами будет зависеть от способности шва расширяться или сжиматься. Это можно определить по свойствам герметика, нанесенного на шов, следующим образом: Scj = wi x ei / 0.09, где «Scj» = расстояние между контрольными швами (м), «wi»
= ширина компенсационного шва (м) и «ei»
= процент растяжимости материала герметика для компенсационных швов.
Ширина компенсационного шва обычно выбирается в соответствии с шириной швов раствора из эстетических соображений, и в этом случае типичное расстояние между контрольными швами обычно будет меньше
.7,6 м (25 футов). Этот интервал следует считать максимально допустимым. Все разрывы в стене потребуют уменьшения этого расстояния.
Большинство облицованных кирпичом стен не состоят из массивных сплошных панелей с однородной конструкцией. Если в стене есть отверстия, контрольные швы должны быть уменьшены до не более 20 футов (6,1 м). Кроме того, требуются вертикальные контрольные швы на углах или вблизи них, на смещениях и отступах, на пересечениях стен, при изменении высоты стен, при изменении кирпичной облицовки или материалов опорных стен, а также в местах, где изменяется функция стен или климатические условия. . Контрольный шов обычно рекомендуется располагать на изменении высоты стены на расстоянии не более двух-трех кирпичей от угла здания.
Контрольные швы для блоков из цементной кладки более подвержены образованию трещин из-за размеров блоков. Следовательно, согласно Национальной ассоциации бетонных кладок, контрольные стыки должны быть менее 20 футов (6,1 м), а расстояние между контрольными стыками также не должно превышать 1,5 высоты стеновой панели.
Размещение контрольных швов повлияет на эстетику здания; однако эти вертикальные линии часто маскируются их совмещением с оконными косяками.
В некоторых случаях контрольное соединение будет скрыто за счет выделенного элемента или дополнительного кирпича во внешнем углу.
1. Вертикальные трещины возле внешнего угла здания – частая неисправность из-за несовершенной конструкции управляющих швов.
2. Вертикальная трещина в кирпичной кладке, возникшая из-за неправильной конструкции контрольного шва.
ИДЕНТИФИКАЦИЯ НЕИСПРАВНОСТЕЙ УПРАВЛЯЮЩЕГО СОЕДИНЕНИЯ
Наиболее распространенным и узнаваемым признаком неадекватной конструкции управляющего стыка являются обширные вертикальные трещины в кирпичной облицовке.Крошка облицовки кирпича на внешнем углу – еще один частый симптом. Расширение фанеры иногда заставляет кирпичную облицовку отталкиваться от конструкции стены и заметно выгибаться наружу. Еще один признак бедствия – чрезмерно сжатый управляющий сустав; герметики часто можно увидеть выдавленными наружу из плоскости стены.
Движение кирпичного шпона может быть наибольшим в верхних углах здания, где фасад имеет наибольшую свободу движений. Несоответствующие контрольные швы возле фундамента могут привести к смещению нижних слоев кирпича или появлению трещин в углах фундамента.
ВОССТАНОВЛЕНИЕ ПОВРЕЖДЕНИЙ, ВЫЗВАННЫХ НЕАКТИВНЫМИ КОНТРОЛЬНЫМИ СОЕДИНЕНИЯМИ КИРПИЧНОЙ ОБЛИЦОВКИ
Если специалист в области строительства знаком с принципами конструкции управляющих сочленений, проблемы обычно легко диагностируются. Стратегию ремонта также относительно просто определить. К сожалению, ремонт повреждений часто бывает дорогостоящим и требует особого ухода и внимания.
Возможно, что разрушительное движение прекратилось в течение 18 месяцев после строительства, и в результате расширения и сжатия кирпичной кладки не будет никаких дальнейших повреждений.При таком предположении в замене нуждается только битый кирпич и вышедший из строя раствор. Однако существует риск, что предположение было неверным, и в этом случае движение, связанное с влажностью и температурой, приведет к дальнейшему повреждению.
Добавление нового управляющего шарнира относительно несложно и предотвратит дальнейшее повреждение кирпича. Дополнительные кирпичные связи должны быть добавлены с обеих сторон вновь созданного контрольного стыка, чтобы гарантировать сохранение поперечной прочности панели.
Самая большая проблема в обеспечении успешного ремонта связана со сложностью ремонта кирпичной кладки без ущерба для эстетики здания.Плохо подобранные кирпичи и плохое качество изготовления снизят естественную красоту кирпича и общий эстетический вид. Замену строительного раствора и кирпича в существующих зданиях можно сделать невидимой, но это потребует тщательного подбора кирпича и раствора, а также выбора высококвалифицированного каменщика. Если кирпич не может быть найден из-за возраста здания, то такие методы, как расшивка и тонировка кирпича, могут помочь скрыть ремонт. Однако квалифицированного каменщика ничто не заменит.
Фил Бреартон, П.Инженер, LEED-AP, является сотрудником группы строительных наук в Stephenson Engineering Ltd. Он имеет обширный опыт в расследовании и ремонте повреждений ограждающих конструкций зданий, а также в консультировании и вводе в эксплуатацию новых строительных конструкций.
Нужно ли учитывать тепловое движение в зданиях с деревянным каркасом?
По общему мнению, проектировщикам зданий с деревянным каркасом не нужно учитывать тепловое движение, поскольку тепловое расширение компенсируется усадкой древесины из-за повышения температуры и потери влаги, что проектировщикам необходимо учитывать.
В то время как бетонные и стальные здания обычно проектируются с компенсаторами для учета теплового движения из-за колебаний температуры окружающей среды, древесина имеет значительно более низкий коэффициент теплового расширения. Дерево может испытывать пространственное движение при изменении температуры. Как отмечается в главе 4 Справочника по древесине лаборатории лесных товаров Министерства сельского хозяйства США: « Коэффициенты теплового расширения полностью сухой древесины положительны во всех направлениях; то есть древесина расширяется при нагревании и сжимается при охлаждении. ”Однако колебания влажности в то же время влияют на пространственные перемещения древесины.
Древесина гигроскопична, что означает способность поглощать и отдавать влагу. По мере того, как это происходит, он также может измениться в размерах. Обратите внимание, что приведенный выше отрывок из Справочника по древесине ссылается на полностью высушенную в печи древесину (с содержанием влаги 0% или MC). Древесина, используемая для конструкции здания, не может быть полностью высушена в печи во время или даже после строительства. Поскольку древесина испытывает повышение температуры, она может испытывать некоторое тепловое расширение, но также происходит потеря MC.Усадка из-за уменьшения MC более значительна, чем расширение из-за повышения температуры; следовательно, чистый результат – усадка. Следующий раздел из главы 4 Справочника по древесине объясняет это:
“ Древесина, содержащая влагу, по-разному реагирует на изменение температуры, чем древесина, практически высушенная в печи. Когда влажная древесина нагревается, она имеет тенденцию расширяться из-за нормального теплового расширения и сжиматься из-за потери содержания влаги. Если древесина изначально не очень сухая (возможно, с содержанием влаги 3% или 4% или меньше), усадка, вызванная потерей влаги при нагревании, будет больше, чем тепловое расширение, поэтому чистое изменение размеров при нагревании будет отрицательным.Древесина с промежуточным уровнем влажности (примерно от 8% до 20%) будет расширяться при первом нагреве, а затем постепенно сжиматься до объема, меньшего, чем первоначальный объем, поскольку древесина постепенно теряет воду в нагретом состоянии ».
Усадка / расширение древесины происходит, в первую очередь, перпендикулярно волокну, что означает, что массивная деревянная балка или балка перекрытия изменятся по ширине и глубине. Изменение продольных размеров из-за изменения влажности незначительно, а это означает, что длина стойки или балки перекрытия практически не изменится.Как отмечает Wood Handbook:
«Даже в продольном (волокнистом) направлении, где изменение размеров, вызванное изменением влажности, очень мало, такие изменения все равно будут преобладать над соответствующими изменениями размеров в результате теплового расширения, если только древесина не станет очень сухой вначале. Для древесины с обычным уровнем влажности чистые изменения размеров обычно будут отрицательными после продолжительного нагрева ».
Раздел 4.4 Руководства по проектированию деревянных конструкций Американского совета по древесине (NDS®) для деревянных конструкций также содержит комментарии по этому вопросу и включает коэффициенты теплового расширения для ряда пород древесины.
Хотя учет теплового движения обычно не считается необходимым, проектировщикам зданий с деревянным каркасом рекомендуется учитывать расширение во время строительства из-за повышенного воздействия влаги. Особенно важно учитывать расширение обшивки стен, пола и крыши. Поскольку панельные изделия начинаются с низкого содержания влаги (~ 8-12% MC) и непосредственно подвергаются воздействию элементов во время строительства (во многих случаях повышается до> 19% MC), расширение этих продуктов, вероятно, будет более выраженным.Изгиб панели, который происходит, когда нет места для расширения панели, предотвращается за счет стандартного зазора 1/8 дюйма между всеми краями панели обшивки и торцевыми соединениями, как рекомендовано APA в Технической записке D481N «Минимизация коробления деревянных структурных панелей». В больших зданиях (более 80ˈ в длину) рекомендуется увеличивать зазор между панелями и принимать дополнительные меры предосторожности в последовательности строительства, чтобы избежать коробления панелей. Это обсуждается в документе WoodWorks «Учет усадки в многоэтажных деревянных каркасных конструкциях», а также в техническом примечании «Временные деформационные швы U425 для больших зданий» от APA.



В дальнейшем пенопластовые плиты заделываются защитной штукатуркой (классическая технология утепления наружных стен здания). Фактически, на межпанельный шов накладывается широкая и толстая «теплая» накладка.