Переставили электросчетчик в квартире (на высоту больше 1,7 метра). Пришел электрик и отказался пломбировать счетчик. Это правомерно? – Счетчики и учет электроэнергии – Свет – Вопрос-ответ
17.03.2015
Свет / Счетчики и учет электроэнергии
Добрый день. Живу в хрущевке, переустановили электросчетчик. Поставили на то же место, где изначально был установлен старый, естественно выше отметки 1,7. Пришел специалист из энергосбыта и не опломбировал прибор учета, сославшись на данную норму (высота установки не более 1,7).
Я сознательно нарушила данную норму по следующим причинам:
1. Не штробить стену и не перекладывать новые провода, старых просто не хватит.
2. Счетчик находится рядом с входной дверью, при вносе и выносе крупногабаритной мебели, та самая мебель будет за него цеплятся.
3. Ребенок ставит табуретку и смело лезет в счетчик.
Наши «законотворцы» видимо ждут летальных исходов, для того что бы пересмотреть данную норму, принятую исключительно для удобства проверки соответствующими органами, информацию которым мы теперь обязаны передавать по телефону либо на сайте.
Представьте себе электрический счетчик на уровне 0,80 (или же 0,40) — ребенку и табуретки подставлять не нужно, я уже не говорю о домашних животных, которые могут погрызть или не дай бог помочиться на данный прибор. Ну где логика то? И вопрос по сути: как доказать, что я в своей собственной квартире могу установить прибор учета в то место, которое изначально, при планировке и постройке данного дома, предназначалось для установки данного прибора учета, хотя оно находится выше отметки 1,7м?
Оценить вопрос
Ответы и комментарии
Требования к приборам учета и их установке
Требования к приборам учета и их установке
1.
Требования к классу точности и функционалу электросчётчиков:-Для учета электрической энергии, потребляемой гражданами, а также на границе раздела объектов электросетевого хозяйства и внутридомовых инженерных систем многоквартирного дома подлежат использованию приборы учета класса точности 2,0 и выше. (ОПФРРЭЭ п.138).
-В многоквартирных домах, присоединение которых к объектам электросетевого хозяйства осуществляется вновь, на границе раздела объектов электросетевого хозяйства и внутридомовых инженерных систем подлежат установке коллективные (общедомовые) приборы учета класса точности 1,0 и выше (ОПФРРЭЭ п.138).
-Для учета электрической энергии, потребляемой потребителями (кроме граждан-потребителей), а также в точках присоединения объектов электросетевого хозяйства одной сетевой организации к объектам электросетевого хозяйства другой сетевой организации с максимальной мощностью менее 670 кВт, подлежат использованию приборы учета класса точности (ОПФРРЭЭ п.139).
-для точек присоединения к объектам электросетевого хозяйства напряжением от 0,4кВ до 35 кВ – 1,0 и выше;
-для точек присоединения к объектам электросетевого хозяйства напряжением от 110 кВ и выше – 0,5S и выше.
-Для учета электрической энергии, потребляемой потребителями, а так же в точках присоединения объектов электросетевого хозяйства одной сетевой организации к объектам электросетевого хозяйства другой сетевой организации с максимальной мощностью не менее 670 кВт, подлежат использованию приборы учета, позволяющие измерять почасовые объемы потребления электрической энергии, класса точности 0,5S и выше, обеспечивающие хранение данных о почасовых объемах потребления электрической энергии за последние 90 дней и более. (ОПФРРЭЭ п.139).
-Для учета объемов производства электрической энергии производителями электрической энергии (мощности) на розничных рынках подлежат использованию приборы учета, позволяющие измерять почасовые объемы производства электрической энергии, класса точности 0,5S и выше, обеспечивающие хранение данных о почасовых объемах производства электрической энергии (мощности) за последние 90 дней и более.
(ОПФРРЭЭ п.141).
2. Требования к местам установки электросчётчиков
-Приборы учета подлежат установке на границах балансовой принадлежности объектов электроэнергетики (энергопринимающих устройств). При отсутствии технической возможности установки прибора учета на границе балансовой принадлежности объектов электроэнергетики (энергопринимающих устройств) смежных субъектов розничного рынка прибор учета подлежит установке в месте, максимально приближенном к границе балансовой принадлежности, в котором имеется техническая возможность его установки. (ОПФРРЭЭ п.144).
-Счётчики должны размещаться в легко доступных для обслуживания сухих помещениях, в достаточно свободном и не стесненном для работы месте. Счетчики общепромышленного исполнения не разрешается устанавливать в помещениях, где по производственным условиям температура может часто превышать +40°С, а также в помещениях с агрессивными средами. Допускается размещение счетчиков в не отапливаемых помещениях и коридорах распределительных устройств электростанций и подстанций, а также в шкафах наружной установки. В случае, если приборы не предназначены для использования в условиях отрицательных температур, должно быть предусмотрено стационарное их утепление на зимнее время посредством утепляющих шкафов, колпаков с подогревом воздуха внутри них электрической лампой или нагревательным элементом для обеспечения внутри колпака положительной температуры, но не выше +20°С (ПУЭ п.1.5.27).
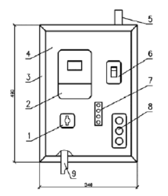
-Счётчики должны устанавливаться в шкафах, камерах комплектных распределительных устройствах (КРУ, КРУП), на панелях, щитах, в нишах, на стенах, имеющих жесткую конструкцию. Высота от пола до коробки зажимов счетчиков должна быть в пределах 0,8-1,7 м. Допускается высота менее 0,8 м, но не менее 0,4 м (ПУЭ п.1.5.29) (за исключением вариантов технического решения установки ПУ в точке присоединения на опоре ВЛ-0,4 кВ).
-Конструкции и размеры шкафов, ниш, щитков и т. п. должны обеспечивать удобный доступ к зажимам счетчиков и трансформаторов тока. Кроме того, должна быть обеспечена возможность удобной замены счетчика.
Конструкция его крепления должна обеспечивать возможность установки и съёма счетчика с лицевой стороны (ПУЭ п.1.5.31).
-При наличии на объекте нескольких присоединений с отдельным учетом электроэнергии на панелях счетчиков должны быть надписи наименований присоединений (ПУЭ п.1.5.38).
3 Способ и схема подключения электросчётчиков
-На присоединениях 0,4 кВ при нагрузке до 100А включительно применять ПУ прямого включения.
-При трёхфазном вводе использовать трёхэлементные ПУ (ПУЭ п. 1.5.13).
4. Требования к поверке электросчётчиков
-На вновь устанавливаемых трёхфазных счётчиках должны быть пломбы государственной поверки с давностью не более 12 мес., а на однофазных счётчиках – с давностью не более 2 лет (ПУЭ п.1.5.13). Наличие действующей поверки ПУ подтверждается предоставлением подтверждающего документа – паспорта-формуляра на ПУ или свидетельства о поверке. В документах на ПУ должны быть отметки о настройках тарифного расписания и местного времени.
5. Требования к измерительным трансформаторам тока
-Класс точности – не ниже 0,5 (ОПФРРЭЭ п.139).
-При полукосвенном подключении счётчика необходимо устанавливать трансформаторы тока во всех фазах.
-Значения номинального вторичного тока должны быть увязаны с номинальными токами приборов учёта. 25- 40 % загрузки.
-Трансформаторы тока, используемые для присоединения счётчиков на напряжении до 0,4 кВ, должны устанавливаться после коммутационных аппаратов по направлению потока мощности (ПУЭ п.1.5.36).
-Выводы вторичных измерительных обмоток трансформаторов тока должны быть изолированы от без контрольного закорачивания клемм или разрыва цепи, при помощи крышек и экранов под опломбировку (ПТЭЭП п.2.11.18).
-Для обеспечения безопасности работ, проводимых в цепях измерительных приборов, устройств релейной защиты и электроавтоматики, вторичные цепи (обмотки) измерительных трансформаторов тока должны иметь постоянные заземления.
-Заземление во вторичных цепях трансформаторов тока следует предусматривать на зажимах трансформаторов тока (ПУЭ п.3.4.23).
-Выбор места и способа установки должен обеспечивать возможность визуального считывания с таблички (табличек) ТТ всех данных, указанных в соответствии с ГОСТ 7746–2001, без проведения работ по демонтажу или отключению оборудования (ГОСТ 18620-86 п.3.2).
-Трансформатор тока должен иметь действующую поверку первичную (заводскую) или периодическую (в соответствии с межповерочным интервалом, указанным в описании типа данного средства измерения). Наличие действующей поверки подтверждается предоставлением оригиналов паспортов или свидетельств о поверке ТТ с протоколами поверки (ПТЭЭП 2.11.11).
6. Требования к измерительным трансформаторам напряжения
-Класс точности – не ниже 0,5 (ОПФРРЭЭ п.139).
-При трёхфазном вводе применять трёхфазные ТН или группы из однофазных ТН.
-Для сохранности измерительных цепей должна быть предусмотрена возможность опломбировки решеток и дверец камер, где установлены предохранители (устанавливаются предохранители с сигнализацией их срабатывания (ПУЭ п.
3.4.28) на стороне высокого и низкого напряжения ТН, а также рукояток приводов разъединителей ТН). При невозможности опломбировки камер, пломбируются выводы ТН. (ПТЭЭП п.2.11.18).-Для обеспечения безопасности работ, проводимых в цепях измерительных приборов, устройств релейной защиты и электроавтоматики, вторичные цепи (обмотки) измерительных трансформаторов напряжения должны иметь постоянные заземления (ПОТ РМ п.8.1).
-Вторичные обмотки трансформатора напряжения должны быть заземлены соединением нейтральной точки или одного из концов обмотки с заземляющим устройством. Заземление вторичных обмоток трансформатора напряжения должно быть выполнено, как правило, на ближайшей от трансформатора напряжения сборке зажимов или на зажимах трансформатора напряжения (ПУЭ п.3.4.24).
-Выбор места и способа установки должен обеспечивать возможность визуального считывания с таблички (табличек) ТН всех данных, указанных в соответствии с ГОСТ 1983–2001, без проведения работ по демонтажу или отключению оборудования.
-ТН должен иметь действующую поверку первичную (заводскую) или периодическую (в соответствии с межповерочным интервалом, указанным в описании типа данного средства измерения). Наличие действующей поверки подтверждается предоставлением оригиналов паспортов или свидетельств о поверке ТН с протоколами поверки (ПТЭЭП 2.11.11).
7. Требования к измерительным цепям
-В электропроводке к расчетным счетчикам наличие паек не допускается (ПУЭ п.1.5.33).
-Электропроводка должна соответствовать условиям окружающей среды, назначению и ценности сооружений, их конструкции и архитектурным особенностям. Электропроводка должна обеспечивать возможность легкого распознания по всей длине проводников по цветам:
голубого цвета – для обозначения нулевого рабочего или среднего проводника электрической сети;
двухцветной комбинации зелено-желтого цвета – для обозначения защитного или нулевого защитного проводника;
двухцветной комбинации зелено-желтого цвета по всей длине с голубыми метками на концах линии, которые наносятся при монтаже – для обозначения совмещенного нулевого рабочего и нулевого защитного проводника;
черного, коричневого, красного, фиолетового, серого, розового, белого, оранжевого, бирюзового цвета – для обозначения фазного проводника (ПУЭ п.
2.1.31).
-Монтаж цепей постоянного и переменного тока в пределах щитовых устройств (панели, пульты, шкафы, ящики и т. п.), а также внутренние схемы соединений приводов выключателей, разъединителей и других устройств по условиям механической прочности должны быть выполнены проводами или кабелями с медными жилами. Применение проводов и кабелей с алюминиевыми жилами для внутреннего монтажа щитовых устройств не допускается (ПУЭ п.3.4.12).
-Для сохранности измерительных цепей должна быть предусмотрена возможность опломбировки промежуточных клеммников, испытательных блоков, коробок и других приборов, включаемых в измерительные цепи ПУ, при этом необходимо минимизировать применение таких устройств (ПТЭЭП п.2.11.18).
-При полукосвенном включении счётчика проводники цепей напряжения подсоединять к шинам посредством отдельного технологического болтового присоединения, в непосредственной близости от трансформатора тока данного измерительного комплекса. Места присоединения цепей напряжения счётчика к токоведущим частям сети должны быть изолированы от без контрольного отсоединения.
(ПТЭЭП п.2.11.18).
-Нагрузка вторичных обмоток измерительных трансформаторов, к которым присоединяются счетчики, не должна превышать номинальных значений.
-Сечение и длина проводов и кабелей в цепях напряжения расчетных счетчиков должны выбираться такими, чтобы потери напряжения в этих цепях составляли не более 0,25% номинального напряжения. (ПУЭ п.1.5.19).
-Для косвенной схемы подключения прибора учета вторичные цепи следует выводить на самостоятельные сборки зажимов или секции в общем ряду зажимов. При отсутствии сборок с зажимами необходимо устанавливать испытательные блоки. Зажимы должны обеспечивать закорачивание вторичных цепей трансформаторов тока, отключение токовых цепей счетчика и цепей напряжения в каждой фазе счетчиков при их замене или проверке, а также включение образцового счетчика без отсоединения проводов и кабелей. Конструкция сборок и коробок зажимов расчетных счетчиков должна обеспечивать возможность их пломбирования. (ПУЭ п.1.5.23).
-При полукосвенном включении счетчика, в качестве проводника вторичных цепей к трансформаторам тока следует применять кабель ВВГ 3 * 2,5 мм 2 с изоляцией жил разного цвета.
8. Требования к вводным устройствам и к коммутационным аппаратам на вводе
-Должна обеспечиваться возможность полного визуального осмотра со стационарных площадок вводных устройств, ВЛ, КЛ, а также вводных до учётных электропроводок оборудования для выявления до учётного подключения электроприёмников. Конструкция вводных устройств согласовывается отделом оптимизации балансов АО «РСК», отвечающей за организацию учёта, на проектной стадии работ по предоставленным потребителем проектным документам (с чертежами, планами расположения оборудования). Места возможного до учётного подключения должны быть изолированы путём пломбировки камер, ячеек, шкафов и др. (ПТЭЭП п.2.11.18).
-При нагрузке до 100А включительно, исключать установку рубильников до места установки узла учета (ПУЭ п.1.5.36).
-Для безопасной установки и замены счётчиков в сетях напряжением до 0,4 кВ, должна предусматриваться установка коммутационных аппаратов на расстоянии не более 10 м от ПУ (ПУЭ п.
1.5.36), с возможностью опломбировки (ПТЭЭП п.2.11.18).
-Установку аппаратуры АВР, ОПС и другой автоматики предусматривать после места установки узла учета.
9. Допуск в эксплуатацию ПКУ. Ответственность за сохранность
Каждый измерительный комплекс для использования в расчётах за электроэнергию должен пройти процедуру допуска в эксплуатацию, согласно (ОПФРРЭЭ п.152-154). По результатам допуска в эксплуатацию ИК, персоналом АО «РСК» оформляется соответствующий акт. При положительном решении о допуске ИК, персонал АО «РСК» устанавливает знаки визуального контроля (пломбы, наклейки, и т. п.) на места указанные в выше перечисленных требованиях к ПУ, для исключения возможности искажения данных о прохождении фактических объёмов электроэнергии. Информация об установленных знаков визуального контроля заносится в акт допуска в эксплуатацию ПКУ.
Собственник ИК установленного в зоне своей балансовой принадлежности сети, несёт ответственность за сохранность приборов коммерческого учёта, пломб Госстандарта России и знаков визуального контроля АО «РСК».
В случае любых их повреждений, или утраты, ИК теряет статус коммерческого (расчётного), а в отношении данного собственника ИК производится перерасчёт за электроэнергию предусмотренный (ОПФРРЭЭ п.195).
Расшифровка аббревиатуры ссылок нормативных актов
ОПФРРЭЭ – Основные положения функционирования розничных рынков электрической энергии
ПУЭ – Правила устройства электроустановок
ПТЭЭП – Правила эксплуатации электроустановок потребителей
ПОТРМ – Межотраслевые правила по охране труда (правила безопасности) при эксплуатации электроустановок
Установка и обслуживание приборов учета электроэнергии
Офисы обслуживания и терминалыОфисы и терминалы
‘ } ], visaTerminal: false, visaCenter: false, allWeek: false, allDay: false, eye: false, ear: false, stick: false, disable: false }, { center: [60.
040389,30.393572],
city: “Санкт-Петербург”,
adress: “Просвещения пр., д. 67”,
region: ‘Калининский’,
subway: ‘Гражданский проспект’,
line: ‘red-line’,
items: [
{
name: ‘Платежный терминал’,
hours: ‘пн – сб: 09.30 – 20.30, вс: выходной’
},
{
name: ‘Центр приема платежей’,
hours: ‘пн – сб: 09.30 – 20.30, вс: выходной‘ } ], visaTerminal: false, visaCenter: false, allWeek: false, allDay: false, eye: true, ear: true, stick: true, disable: true }, { center: [60.042447,30.389575], city: “Санкт-Петербург”, adress: “Просвещения пр., д. 74, к. 2 («Перекресток»)”, region: ‘Калининский’, subway: ‘Гражданский проспект’, line: ‘red-line’, items: [ { name: ‘Центр приема платежей’, hours: ‘09.
30 – 20.30, без выходных‘ } ], visaTerminal: false, visaCenter: false, allWeek: true, allDay: false, eye: true, ear: true, stick: true, disable: true }, { center: [60.031445,30.43494], city: “Санкт-Петербург”, adress: “Руставели ул., д. 61А («Лента»)”, region: ‘Калининский’, subway: ‘Гражданский проспект’, line: ‘red-line’, items: [ { name: ‘Платежный терминал’, hours: ‘круглосуточно‘ }, ], visaTerminal: false, visaCenter: false, allWeek: true, allDay: true, eye: false, ear: false, stick: false, disable: false }, { center: [59.840709,30.243051], city: “Санкт-Петербург”, adress: “Ветеранов пр., д. 50, к. 2”, region: ‘Кировский’, subway: ‘Проспект Ветеранов’, line: ‘red-line’, items: [ { name: ‘Платежный терминал’, hours: ‘ пн – сб: 09.
00 – 20.00, вс: выходной‘ }, { name: ‘Центр приема платежей’, hours: ‘пн – сб: 09.00 – 20.00, вс: выходной’ } ], visaTerminal: false, visaCenter: false, allWeek: false, allDay: false, eye: true, ear: true, stick: true, disable: false }, { center: [59.830594,30.211268], city: “Санкт-Петербург”, adress: “Ветеранов пр., д. 92”, region: ‘Кировский’, subway: ‘Проспект Ветеранов’, line: ‘red-line’, items: [ { name: ‘Платежный терминал’, hours: ‘пн – сб: 09.00 – 20.00, вс: выходной’ }, { name: ‘Центр приема платежей’, hours: ‘пн – сб: 09.00 – 20.00, вс: выходной
‘ } ], visaTerminal: false, visaCenter: false, allWeek: false, allDay: false, eye: true, ear: true, stick: true, disable: true }, { center: [59.
854242,30.214817],
city: “Санкт-Петербург”,
adress: “Ленинский пр., д. 94, к. 1, лит. А («Перекресток»)”,
region: ‘Красносельский’,
subway: ‘Проспект Ветеранов’,
line: ‘red-line’,
items: [
{
name: ‘Платежный терминал’,
hours: ‘круглосуточно‘ }, { name: ‘Центр приема платежей’, hours: ‘09.00 – 20.00, без выходных’ } ], visaTerminal: false, visaCenter: false, allWeek: true, allDay: true, eye: true, ear: true, stick: true, disable: true }, { center: [59.852393,30.25357], city: “Санкт-Петербург”, adress: “Ленинский пр., д. 118”, region: ‘Кировский’, subway: ‘Ленинский проспект’, line: ‘red-line’, items: [ { name: ‘Клиентский зал’, hours: ‘пн – сб: 09.15 – 20.15, перерыв: 13.
30 – 14.00, вс: выходной‘,
},
{
name: ‘Платежный терминал’,
hours: ‘пн – сб: 09.15 – 20.15, вс: выходной’
},
{
name: ‘Центр приема платежей’,
hours: ‘пн – сб: 09.15 – 20.15, вс: выходной
‘
}
],
visaTerminal: false,
visaCenter: false,
allWeek: false,
allDay: false,
eye: true,
ear: true,
stick: true,
disable: false },
{
center: [59.856903,30.230861],
city: “Санкт-Петербург”,
adress: “М. Жукова пр., д. 30А («Сезон»)”,
region: ‘Кировский’,
subway: ‘Автово’,
line: ‘red-line’,
items: [
{
name: ‘Платежный терминал’,
hours: ‘08.00 – 23.00, без выходных
‘
},
],
visaTerminal: false,
visaCenter: false,
allWeek: true,
allDay: false,
eye: false,
ear: false,
stick: false,
disable: false },
{
center: [59.
858426,30.228498],
city: “Санкт-Петербург”,
adress: “М. Жукова пр., д. 31, к. 1 («О’КЕЙ»)”,
region: ‘Красносельский’,
subway: ‘Автово’,
line: ‘red-line’,
items: [
{
name: ‘Платежный терминал’,
hours: ‘08.00 – 24.00, без выходных
‘
},
{
name: ‘Центр приема платежей’,
hours: ‘10.00 – 21.00, без выходных’
}
],
visaTerminal: false,
visaCenter: false,
allWeek: true,
allDay: false,
eye: true,
ear: true,
stick: true,
disable: true },
{
center: [59.871685,30.258708],
city: “Санкт-Петербург”,
adress: “Стачек пр., д. 67, к. 2”,
region: ‘Кировский’,
subway: ‘Автово’,
line: ‘red-line’,
items: [
{
name: ‘Платежный терминал’,
hours: ‘пн – сб: 09.00 – 20.00, вс: выходной’
},
{
name: ‘Центр приема платежей’,
hours: ‘пн – сб: 09.
00 – 20.00, вс: выходной
‘
}
],
visaTerminal: false,
visaCenter: false,
allWeek: false,
allDay: false,
eye: true,
ear: true,
stick: true,
disable: false },
{
center: [59.736911,30.571792],
city: “Санкт-Петербург”,
adress: “Колпино, Трудящихся б-р, д. 12 (ТК «ОКА»)”,
region: ‘Колпинский’,
subway: ‘Звёздная’,
line: ‘blue-line’,
items: [
{
name: ‘Платежный терминал’,
hours: ‘09.00 – 23.00, без выходных
‘
},
],
visaTerminal: false,
visaCenter: false,
allWeek: true,
allDay: false,
eye: false,
ear: false,
stick: false,
disable: false },
{
center: [59.752643,30.575212],
city: “Санкт-Петербург”,
adress: “Колпино, ул. Финляндская, д. 16-1, лит.
А”,
region: ‘Колпинский’,
subway: ‘Звёздная’,
line: ‘blue-line’,
items: [
{
name: ‘Клиентский зал’,
hours: ‘пн – пт: 10.00 – 18.30, сб, вс: выходной
‘,
},
{
name: ‘Платежный терминал’,
hours: ‘пн – сб: 09.00 – 20.00, вс: выходной’
},
{
name: ‘Центр приема платежей’,
hours: ‘пн – сб: 09.00 – 20.00, перерыв: 13.00 – 13.30, вс: выходной
‘
}
],
visaTerminal: false,
visaCenter: false,
allWeek: false,
allDay: false,
eye: true,
ear: true,
stick: true,
disable: true },
{
center: [59.929849,30.433853],
city: “Санкт-Петербург”,
adress: “Заневский пр., д. 65/1 («О’КЕЙ»)”,
region: ‘Красногвардейский’,
subway: ‘Ладожская’,
line: ‘orange-line’,
items: [
{
name: ‘Платежный терминал’,
hours: ‘08.
00 – 24.00, без выходных
‘
},
{
name: ‘Центр приема платежей’,
hours: ‘10.00 – 21.00, без выходных’
}
],
visaTerminal: false,
visaCenter: false,
allWeek: true,
allDay: false,
eye: true,
ear: true,
stick: true,
disable: true },
{
center: [59.945779,30.489243],
city: “Санкт-Петербург”,
adress: “Наставников пр., д. 24, к. 1 («Пятерочка»)”,
region: ‘Красногвардейский’,
subway: ‘Ладожская’,
line: ‘orange-line’,
items: [
{
name: ‘Платежный терминал’,
hours: ‘08.00 – 23.00, без выходных
‘
},
{
name: ‘Центр приема платежей’,
hours: ‘09.30 – 20.30, без выходных
‘
}
],
visaTerminal: false,
visaCenter: false,
allWeek: true,
allDay: false,
eye: true,
ear: true,
stick: true,
disable: true },
{
center: [59. 95689,30.47752],
city: “Санкт-Петербург”,
adress: “Наставников пр., д. 46, к. 2”,
region: ‘Красногвардейский’,
subway: ‘Ладожская’,
line: ‘orange-line’,
items: [
{
name: ‘Платежный терминал’,
hours: ‘пн – сб: 08.45 – 19.45, вс: выходной’
},
{
name: ‘Центр приема платежей’,
hours: ‘пн – сб: 08.45 – 19.45, вс: выходной
‘
}
],
visaTerminal: false,
visaCenter: false,
allWeek: false,
allDay: false,
eye: true,
ear: true,
stick: true,
disable: true },
{
center: [59.931017,30.409652],
city: “Санкт-Петербург”,
adress: “Новочеркасский пр., д. 37, к.1”,
region: ‘Красногвардейский’,
subway: ‘Новочеркасская’,
line: ‘orange-line’,
items: [
{
name: ‘Платежный терминал’,
hours: ‘ пн – сб: 08.
45 – 19.45, вс: выходной
‘
},
{
name: ‘Центр приема платежей’,
hours: ‘пн – сб: 08.45 – 19.45, вс: выходной’
}
],
visaTerminal: false,
visaCenter: false,
allWeek: false,
allDay: false,
eye: true,
ear: true,
stick: true,
disable: false },
{
center: [59.989811,30.438508],
city: “Санкт-Петербург”,
adress: “Пискаревский пр., д. 59 («Лента»)”,
region: ‘Красногвардейский’,
subway: ‘Площадь Мужества’,
line: ‘red-line’,
items: [
{
name: ‘Платежный терминал’,
hours: ‘круглосуточно.’
},
],
visaTerminal: false,
visaCenter: false,
allWeek: true,
allDay: true,
eye: false,
ear: false,
stick: false,
disable: false },
{
center: [59.949334,30.
465707],
city: “Санкт-Петербург”,
adress: “Ударников пр., д. 19, к. 1”,
region: ‘Красногвардейский’,
subway: ‘Ладожская’,
line: ‘orange-line’,
items: [
{
name: ‘Платежный терминал’,
hours: ‘пн – сб: 08.45 – 19.45, вс: выходной’
},
{
name: ‘Центр приема платежей’,
hours: ‘пн – сб: 08.45 – 19.45, вс: выходной
‘
}
],
visaTerminal: false,
visaCenter: false,
allWeek: false,
allDay: false,
eye: true,
ear: true,
stick: true,
disable: true },
{
center: [59.93481,30.496894],
city: “Санкт-Петербург”,
adress: “Хасанская ул., д. 17, к. 1 («Лента»)”,
region: ‘Красногвардейский’,
subway: ‘Проспект Большевиков’,
line: ‘orange-line’,
items: [
{
name: ‘Платежный терминал’,
hours: ‘круглосуточно‘
},
],
visaTerminal: false,
visaCenter: false,
allWeek: true,
allDay: true,
eye: false,
ear: false,
stick: false,
disable: false },
{
center: [59.
733083,30.085378],
city: “Санкт-Петербург”,
adress: “Красное Село, пр. Ленина, д. 77А”,
region: ‘Красносельский’,
subway: ‘Проспект Ветеранов’,
line: ‘red-line’,
items: [
{
name: ‘Платежный терминал’,
hours: ‘09.00 – 19.00, без выходных
‘
},
{
name: ‘Центр приема платежей’,
hours: ‘пн – сб: 09.00 – 20.00, перерыв: 13.00 – 13.30, вс: выходной
‘
}
],
visaTerminal: false,
visaCenter: false,
allWeek: true,
allDay: false,
eye: false,
ear: false,
stick: false,
disable: false },
{
center: [59.844082,30.178675],
city: “Санкт-Петербург”,
adress: “П. Германа ул., д. 2 («О’КЕЙ»)”,
region: ‘Красносельский’,
subway: ‘Проспект Ветеранов’,
line: ‘red-line’,
items: [
{
name: ‘Платежный терминал’,
hours: ‘08.
00 – 23.00, без выходных
‘
},
{
name: ‘Центр приема платежей’,
hours: ‘10.00 – 21.00, без выходных’
}
],
visaTerminal: false,
visaCenter: false,
allWeek: false,
allDay: false,
eye: true,
ear: true,
stick: true,
disable: true },
{
center: [59.851666,30.093589],
city: “Санкт-Петербург”,
adress: “Петергофское ш., д. 98А («Лента»)”,
region: ‘Красносельский’,
subway: ‘Проспект Ветеранов’,
line: ‘red-line’,
items: [
{
name: ‘Платежный терминал’,
hours: ‘круглосуточно
‘
},
],
visaTerminal: false,
visaCenter: false,
allWeek: true,
allDay: true,
eye: false,
ear: false,
stick: false,
disable: false },
{
center: [59.806374,30.
162314],
city: “Санкт-Петербург”,
adress: “Таллинское ш., д. 159А («Лента»)”,
region: ‘Красносельский’,
subway: ‘Проспект Ветеранов’,
line: ‘red-line’,
items: [
{
name: ‘Платежный терминал’,
hours: ‘круглосуточно
‘
},
],
visaTerminal: false,
visaCenter: false,
allWeek: false,
allDay: true,
eye: false,
ear: false,
stick: false,
disable: false },
{
center: [59.997570948218,29.765941101852],
city: “Санкт-Петербург”,
adress: “Кронштадт, пр. Ленина, д. 13, лит. А”,
region: ‘Кронштадтcкий’,
subway: ‘Чёрная речка’,
line: ‘blue-line’,
items: [
{
name: ‘Клиентский зал’,
hours: ‘пн – пт: 10.30 – 19.00, сб, вс: выходной
‘,
},
{
name: ‘Платежный терминал’,
hours: ‘пн – сб: 09.
00 – 21.00, вс: 10.00 – 21.00
‘
},
{
name: ‘Центр приема платежей’,
hours: ‘пн – сб: 09.00 – 20.00, вс: выходной
‘
}
],
visaTerminal: false,
visaCenter: false,
allWeek: true,
allDay: false,
eye: false,
ear: false,
stick: false,
disable: false },
{
center: [60.19725,29.705337],
city: “Санкт-Петербург”,
adress: “Зеленогорск, пр. Ленина, д. 20а, лит. А”,
region: ‘Курортный’,
subway: ‘Старая Деревня’,
line: ‘violet-line’,
items: [
{
name: ‘Платежный терминал’,
hours: ‘пн – сб: 09.00 – 20.00, вс: выходной’
},
{
name: ‘Центр приема платежей’,
hours: ‘пн – сб: 09.00 – 20.00, перерыв: 13.00 – 13.30, вс: выходной
‘
}
],
visaTerminal: false,
visaCenter: false,
allWeek: false,
allDay: false,
eye: true,
ear: true,
stick: true,
disable: false },
{
center: [59.
864548,30.315554],
city: “Санкт-Петербург”,
adress: “Бассейная ул., д. 27”,
region: ‘Московский’,
subway: ‘Парк Победы’,
line: ‘blue-line’,
items: [
{
name: ‘Платежный терминал’,
hours: ‘ пн – сб: 09.45 – 20.45, вс: выходной
‘
},
{
name: ‘Центр приема платежей’,
hours: ‘пн – сб: 09.45 – 20.45, вс: выходной’
}
],
visaTerminal: false,
visaCenter: false,
allWeek: false,
allDay: false,
eye: true,
ear: true,
stick: true,
disable: false },
{
center: [59.851304,30.350139],
city: “Санкт-Петербург”,
adress: “Космонавтов пр., д. 45, лит. А («О’КЕЙ»)”,
region: ‘Московский’,
subway: ‘Московская’,
line: ‘blue-line’,
items: [
{
name: ‘Платежный терминал’,
hours: ‘08.
00 – 24.00, без выходных
‘
},
{
name: ‘Центр приема платежей’,
hours: ‘10.00 – 21.00, без выходных’
}
],
visaTerminal: false,
visaCenter: false,
allWeek: true,
allDay: false,
eye: true,
ear: true,
stick: true,
disable: true },
{
center: [59.832579,30.350741],
city: “Санкт-Петербург”,
adress: “Ленсовета ул., д. 88”,
region: ‘Московский’,
subway: ‘Звёздная’,
line: ‘blue-line’,
items: [
{
name: ‘Платежный терминал’,
hours: ‘пн – сб: 09.30 – 20.30, вс: выходной’
},
{
name: ‘Центр приема платежей’,
hours: ‘пн – сб: 09.30 – 20.30, вс: выходной
‘
}
],
visaTerminal: false,
visaCenter: false,
allWeek: false,
allDay: false,
eye: false,
ear: false,
stick: false,
disable: false },
{
center: [59.
9302769656,30.3544434305],
city: “Санкт-Петербург”,
adress: “Стремянная ул., д. 21/5, лит. А (вход с ул. Марата)”,
region: ‘Центральный’,
subway: ‘Маяковская’,
line: ‘green-line’,
items: [
{
name: ‘Клиентский зал’,
hours: ‘пн -сб: 10.00 до 20.45, вс: выходной’,
},
{
name: ‘Платежный терминал’,
hours: ‘10.00 – 21.00, без выходных’
},
{
name: ‘Центр приема платежей’,
hours: ‘10.00 – 21.00, без выходных’
}
],
visaTerminal: false,
visaCenter: false,
allWeek: false,
allDay: false,
eye: false,
ear: false,
stick: false,
disable: false },
{
center: [59.833027,30.414054],
city: “Санкт-Петербург”,
adress: “Бухарестская ул., д. 89, лит. А («Перекресток»)”,
region: ‘Фрунзенский’,
subway: ‘Международная’,
line: ‘orange-line’,
items: [
{
name: ‘Платежный терминал’,
hours: ‘круглосуточно‘
},
{
name: ‘Центр приема платежей’,
hours: ‘09.
30 – 20.30, без выходных’
}
],
visaTerminal: false,
visaCenter: false,
allWeek: true,
allDay: false,
eye: false,
ear: false,
stick: false,
disable: false },
{
center: [59.985135166804,30.328152812978],
city: “Санкт-Петербург”,
adress: “Белоостровская ул., д. 6, лит. А («ГУП ТЭК СПб»)”,
region: ‘Приморский’,
subway: ‘Лесная’,
line: ‘red-line’,
items: [
{
name: ‘Платежный терминал’,
hours: ‘ пн – пт: 09.00 -18.00, сб, вс: выходной’
},
],
visaTerminal: false,
visaCenter: false,
allWeek: false,
allDay: false,
eye: false,
ear: false,
stick: false,
disable: false },
{
center: [59.808061,30.320692],
city: “Санкт-Петербург”,
adress: “Шереметьевская ул., д. 11, лит. А”,
region: ‘Московский’,
subway: ‘Московская’,
line: ‘blue-line’,
items: [
{
name: ‘Платежный терминал’,
hours: ‘круглосуточно‘
},
],
visaTerminal: false,
visaCenter: false,
allWeek: true,
allDay: true,
eye: false,
ear: false,
stick: true,
disable: true },
{
center: [59.
853989,30.305996],
city: “Санкт-Петербург”,
adress: “Новоизмайловский пр., д. 46, к. 1”,
region: ‘Московский’,
subway: ‘Московская’,
line: ‘blue-line’,
items: [
{
name: ‘Платежный терминал’,
hours: ‘пн – сб: 09.00 – 20.00, вс: выходной’
},
{
name: ‘Центр приема платежей’,
hours: ‘пн – сб: 09.00 – 20.00, вс: выходной
‘
}
],
visaTerminal: false,
visaCenter: false,
allWeek: false,
allDay: false,
eye: false,
ear: false,
stick: false,
disable: false },
{
center: [59.859817,30.467715],
city: “Санкт-Петербург”,
adress: “Бабушкина ул., д. 125 («Лента»)”,
region: ‘Невский (левый берег)’,
subway: ‘Пролетарская’,
line: ‘green-line’,
items: [
{
name: ‘Платежный терминал’,
hours: ‘круглосуточно
‘
},
{
name: ‘Центр приема платежей’,
hours: ‘09.
30 – 20.30, без выходных’
}
],
visaTerminal: false,
visaCenter: false,
allWeek: false,
allDay: true,
eye: true,
ear: true,
stick: true,
disable: true },
{
center: [59.895502,30.426738],
city: “Санкт-Петербург”,
adress: “О. Берггольц ул., д. 11”,
region: ‘Невский (левый берег)’,
subway: ‘Елизаровская’,
line: ‘green-line’,
items: [
{
name: ‘Платежный терминал’,
hours: ‘пн – сб: 09.30 – 20.30, вс: выходной’
},
{
name: ‘Центр приема платежей’,
hours: ‘пн – сб: 09.30 – 20.30, вс: выходной
‘
}
],
visaTerminal: false,
visaCenter: false,
allWeek: false,
allDay: false,
eye: true,
ear: true,
stick: true,
disable: true },
{
center: [59.834564,30.
50482],
city: “Санкт-Петербург”,
adress: “Прибрежная ул., д. 11”,
region: ‘Невский (левый берег)’,
subway: ‘Рыбацкое’,
line: ‘green-line’,
items: [
{
name: ‘Платежный терминал’,
hours: ‘ пн – сб: 09.15 – 20.15, вс: выходной
‘
},
{
name: ‘Центр приема платежей’,
hours: ‘пн – сб: 09.15 – 20.15, вс: выходной’
}
],
visaTerminal: false,
visaCenter: false,
allWeek: false,
allDay: false,
eye: false,
ear: false,
stick: false,
disable: false },
{
center: [59.909832,30.449535],
city: “Санкт-Петербург”,
adress: “Дальневосточный пр., д. 16 («Лента»)”,
region: ‘Невский (правый берег)’,
subway: ‘Улица Дыбенко’,
line: ‘orange-line’,
items: [
{
name: ‘Платежный терминал’,
hours: ‘круглосуточно
‘
},
],
visaTerminal: false,
visaCenter: false,
allWeek: true,
allDay: true,
eye: false,
ear: false,
stick: false,
disable: false },
{
center: [59.
901008,30.46418],
city: “Санкт-Петербург”,
adress: “Дыбенко ул., д. 13, к. 1”,
region: ‘Невский (правый берег)’,
subway: ‘Улица Дыбенко’,
line: ‘orange-line’,
items: [
{
name: ‘Платежный терминал’,
hours: ‘пн – сб: 09.15 – 20.15, вс: выходной’
},
{
name: ‘Центр приема платежей’,
hours: ‘пн – сб: 09.15 – 20.15, вс: выходной
‘
}
],
visaTerminal: false,
visaCenter: false,
allWeek: false,
allDay: false,
eye: true,
ear: true,
stick: true,
disable: true },
{
center: [59.904207,30.476792],
city: “Санкт-Петербург”,
adress: “Дыбенко ул., д. 25, к. 1”,
region: ‘Невский (правый берег)’,
subway: ‘Улица Дыбенко’,
line: ‘orange-line’,
items: [
{
name: ‘Платежный терминал’,
hours: ‘ пн – сб: 09.
15 – 20.15, вс: выходной
‘
},
{
name: ‘Центр приема платежей’,
hours: ‘пн – сб: 09.15 – 20.15, вс: выходной
‘
}
],
visaTerminal: false,
visaCenter: false,
allWeek: false,
allDay: false,
eye: true,
ear: true,
stick: true,
disable: true },
{
center: [59.922995,30.481266],
city: “Санкт-Петербург”,
adress: “Коллонтай ул., д. 28, к. 1”,
region: ‘Невский (правый берег)’,
subway: ‘Проспект Большевиков’,
line: ‘orange-line’,
items: [
{
name: ‘Платежный терминал’,
hours: ‘пн – сб: 09.15 – 20.15, вс: выходной’
},
{
name: ‘Центр приема платежей’,
hours: ‘пн – сб: 09.15 – 20.15, вс: выходной
‘
}
],
visaTerminal: false,
visaCenter: false,
allWeek: false,
allDay: false,
eye: true,
ear: true,
stick: true,
disable: true },
{
center: [59.
911823,30.469471],
city: “Санкт-Петербург”,
adress: “Подвойского ул., д. 16, к. 1”,
region: ‘Невский (правый берег)’,
subway: ‘Проспект Большевиков’,
line: ‘orange-line’,
items: [
{
name: ‘Клиентский зал’,
hours: ‘пн – сб: 09.30 – 20.15, перерыв: 14.00 – 14.30, вс: выходной
‘,
},
{
name: ‘Платежный терминал’,
hours: ‘ пн – сб: 09.30 – 20.15, вс: выходной
‘
},
{
name: ‘Центр приема платежей’,
hours: ‘пн – сб: 09.30 – 20.15, вс: выходной’
}
],
visaTerminal: false,
visaCenter: false,
allWeek: false,
allDay: false,
eye: false,
ear: false,
stick: false,
disable: false },
{
center: [59.962633,30.291137],
city: “Санкт-Петербург”,
adress: “Б. Зеленина ул., д. 17, лит.
А”,
region: ‘Петроградский’,
subway: ‘Чкаловская’,
line: ‘violet-line’,
items: [
{
name: ‘Платежный терминал’,
hours: ‘ пн – сб: 09.00 – 20.00, вс: выходной
‘
},
{
name: ‘Центр приема платежей’,
hours: ‘пн – сб: 09.00 – 20.00, вс: выходной’
}
],
visaTerminal: false,
visaCenter: false,
allWeek: false,
allDay: false,
eye: true,
ear: true,
stick: true,
disable: false },
{
center: [59.956665,30.301055],
city: “Санкт-Петербург”,
adress: “Введенская ул., д. 5/13”,
region: ‘Петроградский’,
subway: ‘Горьковская’,
line: ‘violet-line’,
items: [
{
name: ‘Платежный терминал’,
hours: ‘пн – сб: 08.45 – 19.45, вс: выходной’
},
{
name: ‘Центр приема платежей’,
hours: ‘пн – сб: 08.
45 – 19.45, вс: выходной
‘
}
],
visaTerminal: false,
visaCenter: false,
allWeek: false,
allDay: false,
eye: true,
ear: true,
stick: true,
disable: false },
{
center: [59.967579,30.305385],
city: “Санкт-Петербург”,
adress: “Ординарная ул., д. 19”,
region: ‘Петроградский’,
subway: ‘Петроградская’,
line: ‘blue-line’,
items: [
{
name: ‘Платежный терминал’,
hours: ‘пн – сб: 08.45 – 19.45, вс: выходной’
},
{
name: ‘Центр приема платежей’,
hours: ‘пн – сб: 08.45 – 19.45, вс: выходной
‘
}
],
visaTerminal: false,
visaCenter: false,
allWeek: false,
allDay: false,
eye: true,
ear: true,
stick: true,
disable: true },
{
center: [59.869463,29.
828146],
city: “Санкт-Петербург”,
adress: “Петергоф, Гостилицкое ш., д. 58, лит. А”,
region: ‘Петродворцовый’,
subway: ‘Ленинский проспект’,
line: ‘red-line’,
items: [
{
name: ‘Платежный терминал’,
hours: ‘круглосуточно
‘
},
],
visaTerminal: false,
visaCenter: false,
allWeek: true,
allDay: true,
eye: false,
ear: false,
stick: false,
disable: false },
{
center: [59.876436,29.918516],
city: “Санкт-Петербург”,
adress: “Петергоф, ул. Константиновская, д. 8, лит. А”,
region: ‘Петродворцовый’,
subway: ‘Ленинский проспект’,
line: ‘red-line’,
items: [
{
name: ‘Клиентский зал’,
hours: ‘пн – пт: 10.00 – 18.30, сб, вс: выходной
‘,
},
{
name: ‘Платежный терминал’,
hours: ‘пн – сб: 08.
00 – 20.00, вс: выходной’
},
{
name: ‘Центр приема платежей’,
hours: ‘пн – сб: 09.00 – 20.00, перерыв: 13.00 – 13.30, вс: выходной
‘
}
],
visaTerminal: false,
visaCenter: false,
allWeek: false,
allDay: false,
eye: false,
ear: false,
stick: false,
disable: false },
{
center: [59.86922,29.866632],
city: “Санкт-Петербург”,
adress: “Петергоф, ул. Шахматова, д. 14, к. 1 («Дикси»)”,
region: ‘Петродворцовый’,
subway: ‘Проспект Ветеранов’,
line: ‘red-line’,
items: [
{
name: ‘Платежный терминал’,
hours: ‘09.00 – 23.00, без выходных
‘
},
],
visaTerminal: false,
visaCenter: false,
allWeek: true,
allDay: false,
eye: false,
ear: false,
stick: false,
disable: false },
{
center: [60.
000025,30.270485],
city: “Санкт-Петербург”,
adress: “Богатырский пр., д. 13А («О’КЕЙ»)”,
region: ‘Приморский’,
subway: ‘Комендантский проспект’,
line: ‘violet-line’,
items: [
{
name: ‘Платежный терминал’,
hours: ‘круглосуточно
‘
},
{
name: ‘Центр приема платежей’,
hours: ‘10.00 – 21.00, без выходных’
}
],
visaTerminal: false,
visaCenter: false,
allWeek: true,
allDay: true,
eye: false,
ear: false,
stick: true,
disable: true },
{
center: [60.003147,30.228246],
city: “Санкт-Петербург”,
adress: “Богатырский пр., д. 42 («О’КЕЙ»)”,
region: ‘Приморский’,
subway: ‘Комендантский проспект’,
line: ‘violet-line’,
items: [
{
name: ‘Платежный терминал’,
hours: ‘08.00 – 24.
00, без выходных
‘
},
{
name: ‘Центр приема платежей’,
hours: ‘10.00 – 21.00, без выходных’
}
],
visaTerminal: false,
visaCenter: false,
allWeek: true,
allDay: false,
eye: true,
ear: true,
stick: true,
disable: true },
{
center: [60.022386,30.293428],
city: “Санкт-Петербург”,
adress: “Вербная ул., д. 21, лит. А («Лента»)”,
region: ‘Приморский’,
subway: ‘Удельная’,
line: ‘blue-line’,
items: [
{
name: ‘Платежный терминал’,
hours: ‘круглосуточно
‘
},
{
name: ‘Центр приема платежей’,
hours: ‘09.30 – 20.30, без выходных’
}
],
visaTerminal: false,
visaCenter: false,
allWeek: true,
allDay: true,
eye: true,
ear: true,
stick: true,
disable: true },
{
center: [60.
005392,30.282702],
city: “Санкт-Петербург”,
adress: “Испытателей пр., д. 19, к. 2”,
region: ‘Приморский’,
subway: ‘Пионерская’,
line: ‘blue-line’,
items: [
{
name: ‘Платежный терминал’,
hours: ‘круглосуточно
‘
},
{
name: ‘Центр приема платежей’,
hours: ‘пн – сб: 09.15 – 20.15, вс: выходной
‘
}
],
visaTerminal: false,
visaCenter: false,
allWeek: true,
allDay: true,
eye: true,
ear: true,
stick: true,
disable: true },
{
center: [60.006587110358,30.262165912688],
city: “Санкт-Петербург”,
adress: “Комендантский пр., д. 11”,
region: ‘Приморский’,
subway: ‘Комендантский проспект’,
line: ‘violet-line’,
items: [
{
name: ‘Клиентский зал’,
hours: ‘ пн – сб: 09.
30 – 20.30, перерыв: 13.30 – 14.00, вс: выходной
‘,
},
{
name: ‘Платежный терминал’,
hours: ‘пн- сб: 09.30 – 20.30, вс: выходной’
},
{
name: ‘Центр приема платежей’,
hours: ‘пн- сб: 09.30 – 20.30, вс: выходной
‘
}
],
visaTerminal: false,
visaCenter: false,
allWeek: false,
allDay: false,
eye: false,
ear: false,
stick: false,
disable: false },
{
center: [60.03922,30.239538],
city: “Санкт-Петербург”,
adress: “Парашютная ул., д. 60, лит. А («Лента»)”,
region: ‘Приморский’,
subway: ‘Комендантский проспект’,
line: ‘violet-line’,
items: [
{
name: ‘Платежный терминал’,
hours: ‘круглосуточно
‘
},
{
name: ‘Центр приема платежей’,
hours: ‘09.
30 – 20.30, без выходных’
}
],
visaTerminal: false,
visaCenter: false,
allWeek: true,
allDay: true,
eye: false,
ear: false,
stick: false,
disable: false },
{
center: [59.998661,30.237355],
city: “Санкт-Петербург”,
adress: “Планерная ул., д. 17, лит. А («Лента»)”,
region: ‘Приморский’,
subway: ‘Комендантский проспект’,
line: ‘violet-line’,
items: [
{
name: ‘Платежный терминал’,
hours: ‘круглосуточно
‘
},
{
name: ‘Центр приема платежей’,
hours: ‘09.30 – 20.30, без выходных’
}
],
visaTerminal: false,
visaCenter: false,
allWeek: true,
allDay: true,
eye: true,
ear: true,
stick: true,
disable: true },
{
center: [59.984629,30.226046],
city: “Санкт-Петербург”,
adress: “Савушкина ул.
, д. 112, лит. А («Лента»)”,
region: ‘Приморский’,
subway: ‘Старая Деревня’,
line: ‘violet-line’,
items: [
{
name: ‘Платежный терминал’,
hours: ‘круглосуточно
‘
},
],
visaTerminal: false,
visaCenter: false,
allWeek: true,
allDay: true,
eye: false,
ear: false,
stick: false,
disable: false },
{
center: [59.987048403196,30.226258296325],
city: “Санкт-Петербург”,
adress: “Савушкина ул., д. 123, к. 1”,
region: ‘Приморский’,
subway: ‘Старая Деревня’,
line: ‘violet-line’,
items: [
{
name: ‘Платежный терминал’,
hours: ‘круглосуточно‘
},
{
name: ‘Центр приема платежей’,
hours: ‘пн – сб: 09.15 – 20.15, вс: выходной
‘
}
],
visaTerminal: false,
visaCenter: false,
allWeek: true,
allDay: true,
eye: false,
ear: false,
stick: false,
disable: false },
{
center: [59.
724138,30.411898],
city: “Санкт-Петербург”,
adress: “Пушкин, Октябрьский б-р, д. 16, лит. А”,
region: ‘Пушкинский’,
subway: ‘Купчино’,
line: ‘blue-line’,
items: [
{
name: ‘Клиентский зал’,
hours: ‘пн – пт: 10.00 – 18.30, сб, вс: выходной
‘,
},
{
name: ‘Платежный терминал’,
hours: ‘пн – сб: 09.00 – 20.00, вс: выходной’
},
{
name: ‘Центр приема платежей’,
hours: ‘пн – сб: 09.00 – 20.00, перерыв: 13.00 – 13.30, вс: выходной
‘
}
],
visaTerminal: false,
visaCenter: false,
allWeek: false,
allDay: false,
eye: false,
ear: false,
stick: false,
disable: false },
{
center: [59.798656,30.399223],
city: “Санкт-Петербург”,
adress: “Шушары, Московское ш., д. 16А («Лента»)”,
region: ‘Пушкинский’,
subway: ‘Купчино’,
line: ‘blue-line’,
items: [
{
name: ‘Платежный терминал’,
hours: ‘круглосуточно
‘
},
],
visaTerminal: false,
visaCenter: false,
allWeek: true,
allDay: true,
eye: false,
ear: false,
stick: false,
disable: false },
{
center: [59.829023979965,30.377969354491],
city: “Санкт-Петербург”,
adress: “Балканская пл., д. 5, лит. Я (ТК «Астра»)”,
region: ‘Фрунзенский’,
subway: ‘Купчино’,
line: ‘blue-line’,
items: [
{
name: ‘Платежный терминал’,
hours: ‘пн – сб: 09.30 – 20.30, вс: выходной’
},
{
name: ‘Центр приема платежей’,
hours: ‘пн – сб: 09.30 – 20.30, вс: выходной
‘
}
],
visaTerminal: false,
visaCenter: false,
allWeek: false,
allDay: false,
eye: true,
ear: true,
stick: true,
disable: true },
{
center: [59.869065,30.368563],
city: “Санкт-Петербург”,
adress: “Будапештская ул., д. 11”,
region: ‘Фрунзенский’,
subway: ‘Международная’,
line: ‘violet-line’,
items: [
{
name: ‘Платежный терминал’,
hours: ‘пн – сб: 09.00 – 20.00, вс: выходной’
},
{
name: ‘Центр приема платежей’,
hours: ‘пн – сб: 09.00 – 20.00, вс: выходной
‘
}
],
visaTerminal: false,
visaCenter: false,
allWeek: false,
allDay: false,
eye: false,
ear: false,
stick: false,
disable: false },
{
center: [59.849754,30.397974],
city: “Санкт-Петербург”,
adress: “Бухарестская ул., д. 69, лит. А («Лента»)”,
region: ‘Фрунзенский’,
subway: ‘Международная’,
line: ‘violet-line’,
items: [
{
name: ‘Платежный терминал’,
hours: ‘круглосуточно
‘
},
{
name: ‘Центр приема платежей’,
hours: ‘09.30 – 20.30, без выходных’
}
],
visaTerminal: false,
visaCenter: false,
allWeek: true,
allDay: true,
eye: true,
ear: true,
stick: true,
disable: true },
{
center: [59.857861,30.38979],
city: “Санкт-Петербург”,
adress: “Славы пр., д. 43/49”,
region: ‘Фрунзенский’,
subway: ‘Международная’,
line: ‘violet-line’,
items: [
{
name: ‘Клиентский зал’,
hours: ‘пн – сб: 09.15 – 20.15, обед: 14.00 – 14.30, вс: выходной
‘,
},
{
name: ‘Платежный терминал’,
hours: ‘ пн – сб: 09.15 – 20.15, вс: выходной
‘
},
{
name: ‘Центр приема платежей’,
hours: ‘пн – сб: 09.15 – 20.15, вс: выходной’
}
],
visaTerminal: false,
visaCenter: false,
allWeek: false,
allDay: false,
eye: false,
ear: false,
stick: false,
disable: false },
{
center: [59.944143,30.361988],
city: “Санкт-Петербург”,
adress: “Кирочная ул., д. 30”,
region: ‘Центральный’,
subway: ‘Чернышевская’,
line: ‘red-line’,
items: [
{
name: ‘Платежный терминал’,
hours: ‘пн – сб: 09.30 – 20.30, вс: выходной’
},
{
name: ‘Центр приема платежей’,
hours: ‘пн – сб: 09.30 – 20.30, вс: выходной
‘
}
],
visaTerminal: false,
visaCenter: false,
allWeek: false,
allDay: false,
eye: true,
ear: true,
stick: true,
disable: true },
{
center: [59.475839,33.85647],
city: “Бокситогорск”,
adress: “Бокситогорск, ул. Красных Cледопытов, д. 4, лит. А”,
region: ‘Другой город’,
subway: ”,
line: ‘orange-line’,
items: [
{
name: ‘Платежный терминал’,
hours: ‘Терминал установлен в клиентском офисе ООО «РКС-Энерго». Актуальный режим работы офиса на сайте rks-energo.ru
‘
},
],
visaTerminal: false,
visaCenter: false,
allWeek: false,
allDay: false,
eye: false,
ear: false,
stick: false,
disable: false },
{
center: [59.474125,33.844325],
city: “Бокситогорск”,
adress: “Бокситогорск, ул. Советская, д. 12″,
region: ‘Другой город’,
subway: ”,
line: ‘orange-line’,
items: [
{
name: ‘Платежный терминал’,
hours: ‘Терминал установлен в клиентском офисе АО «ЕИРЦ ЛО». Актуальный режим работы офиса на сайте epd47.ru
‘
},
],
visaTerminal: false,
visaCenter: false,
allWeek: false,
allDay: false,
eye: false,
ear: false,
stick: false,
disable: false },
{
center: [60.962709,34.027392],
city: “Важины”,
adress: “Важины, ул. Школьная, д. 6″,
region: ‘Другой город’,
subway: ”,
line: ‘orange-line’,
items: [
{
name: ‘Платежный терминал’,
hours: ‘Терминал установлен в клиентском офисе АО «ЕИРЦ ЛО». Актуальный режим работы офиса на сайте epd47.ru
‘
},
],
visaTerminal: false,
visaCenter: false,
allWeek: false,
allDay: false,
eye: false,
ear: false,
stick: false,
disable: false },
{
center: [59.443304,29.479788],
city: “Волосово”,
adress: “Волосово, пр. Вингиссара, д.17А”,
region: ‘Другой город’,
subway: ”,
line: ‘orange-line’,
items: [
{
name: ‘Платежный терминал’,
hours: ‘Терминал установлен в клиентском офисе ООО «РКС-Энерго». Актуальный режим работы офиса на сайте rks-energo.ru
‘
},
],
visaTerminal: false,
visaCenter: false,
allWeek: false,
allDay: false,
eye: false,
ear: false,
stick: false,
disable: false },
{
center: [59.450326,29.486669],
city: “Волосово”,
adress: “Волосово, пр. Вингиссара, д. 89″,
region: ‘Другой город’,
subway: ”,
line: ‘orange-line’,
items: [
{
name: ‘Платежный терминал’,
hours: ‘ Терминал установлен в клиентском офисе АО «ПСК». Актуальный режим работы офиса на сайте pesc.ru
‘
},
],
visaTerminal: false,
visaCenter: false,
allWeek: false,
allDay: false,
eye: false,
ear: false,
stick: false,
disable: false },
{
center: [59.898887,32.349322],
city: “Волхов”,
adress: “Волхов, ул. Александра Лукьянова, д. 4, лит. А”,
region: ‘Другой город’,
subway: ”,
line: ‘orange-line’,
items: [
{
name: ‘Платежный терминал’,
hours: ‘Терминал установлен в клиентском офисе ООО «РКС-Энерго». Актуальный режим работы офиса на сайте rks-energo.ru
‘ }, ], visaTerminal: false, visaCenter: false, allWeek: false, allDay: false, eye: false, ear: false, stick: false, disable: false }, { center: [59.903828,32.355807], city: “Волхов”, adress: “Волхов, ул. Волгоградская, д. 1, к. А”, region: ‘Другой город’, subway: ”, line: ‘orange-line’, items: [ { name: ‘Платежный терминал’, hours: ‘Терминал установлен в клиентском офисе АО «ЕИРЦ ЛО». Актуальный режим работы офиса на сайте epd47.ru
‘
},
],
visaTerminal: false,
visaCenter: false,
allWeek: false,
allDay: false,
eye: false,
ear: false,
stick: false,
disable: false },
{
center: [60.019666,30.649502],
city: “Всеволожск”,
adress: “Всеволожск, Октябрьский пр., д. 89 “,
region: ‘Другой город’,
subway: ”,
line: ‘orange-line’,
items: [
{
name: ‘Платежный терминал’,
hours: ‘Терминал установлен в клиентском офисе АО «ЕИРЦ ЛО». Актуальный режим работы офиса на сайте epd47.ru
‘
},
],
visaTerminal: false,
visaCenter: false,
allWeek: false,
allDay: false,
eye: false,
ear: false,
stick: false,
disable: false },
{
center: [60.027782,30.619912],
city: “Всеволожск”,
adress: “Всеволожск, ш. Дорога жизни, д. 12 («Лента»)”,
region: ‘Другой город’,
subway: ”,
line: ‘orange-line’,
items: [
{
name: ‘Платежный терминал’,
hours: ‘круглосуточно
‘
},
],
visaTerminal: false,
visaCenter: false,
allWeek: true,
allDay: true,
eye: true,
ear: true,
stick: true,
disable: true },
{
center: [60.020876,30.644364],
city: “Всеволожск”,
adress: “Всеволожск, ул. Заводская, д. 8″,
region: ‘Другой город’,
subway: ”,
line: ‘orange-line’,
items: [
{
name: ‘Платежный терминал’,
hours: ‘Терминал установлен в клиентском офисе ООО «РКС-Энерго». Актуальный режим работы офиса на сайте rks-energo.ru
‘
},
],
visaTerminal: false,
visaCenter: false,
allWeek: false,
allDay: false,
eye: false,
ear: false,
stick: false,
disable: false },
{
center: [60.019666,30.649502],
city: “Всеволожск”,
adress: “Всеволожск, Октябрьский пр., д. 89″,
region: ‘Другой город’,
subway: ”,
line: ‘orange-line’,
items: [
{
name: ‘Платежный терминал’,
hours: ‘ Терминал установлен в клиентском офисе АО «ПСК». Актуальный режим работы офиса на сайте pesc.ru
‘
},
],
visaTerminal: false,
visaCenter: false,
allWeek: false,
allDay: false,
eye: false,
ear: false,
stick: false,
disable: false },
{
center: [60.711266,28.747248],
city: “Выборг”,
adress: “Выборг, ул. Димитрова, д. 4″,
region: ‘Другой город’,
subway: ”,
line: ‘orange-line’,
items: [
{
name: ‘Платежный терминал’,
hours: ‘Терминал установлен в клиентском офисе ООО «РКС-Энерго». Актуальный режим работы офиса на сайте rks-energo.ru
‘
},
],
visaTerminal: false,
visaCenter: false,
allWeek: false,
allDay: false,
eye: false,
ear: false,
stick: false,
disable: false },
{
center: [60.715703,28.74873],
city: “Выборг”,
adress: “Выборг, ул. Железнодорожная, д. 2 “,
region: ‘Другой город’,
subway: ”,
line: ‘orange-line’,
items: [
{
name: ‘Платежный терминал’,
hours: ‘Терминал установлен в клиентском офисе АО «ЕИРЦ ЛО». Актуальный режим работы офиса на сайте epd47.ru
‘
},
],
visaTerminal: false,
visaCenter: false,
allWeek: false,
allDay: false,
eye: false,
ear: false,
stick: false,
disable: false },
{
center: [60.714475,28.730521],
city: “Выборг”,
adress: “Выборг, ул. Северный Вал, д. 3″,
region: ‘Другой город’,
subway: ”,
line: ‘orange-line’,
items: [
{
name: ‘Платежный терминал’,
hours: ‘ Терминал установлен в клиентском офисе АО «ПСК». Актуальный режим работы офиса на сайте pesc.ru
‘
},
],
visaTerminal: false,
visaCenter: false,
allWeek: false,
allDay: false,
eye: false,
ear: false,
stick: false,
disable: false },
{
center: [59.408714,30.349375],
city: “Вырица”,
adress: “Вырица, ул. Жертв Революции, д. 25″,
region: ‘Другой город’,
subway: ”,
line: ‘orange-line’,
items: [
{
name: ‘Платежный терминал’,
hours: ‘Терминал установлен в клиентском офисе ООО «РКС-Энерго». Актуальный режим работы офиса на сайте rks-energo.ru
‘
},
],
visaTerminal: false,
visaCenter: false,
allWeek: false,
allDay: false,
eye: false,
ear: false,
stick: false,
disable: false },
{
center: [59.559398,30.127177],
city: “Гатчина”,
adress: “Гатчина, ул. Карла Маркса, д. 18А”,
region: ‘Другой город’,
subway: ”,
line: ‘orange-line’,
items: [
{
name: ‘Платежный терминал’,
hours: ‘Терминал установлен в клиентском офисе ООО «РКС-Энерго». Актуальный режим работы офиса на сайте rks-energo.ru
‘
},
],
visaTerminal: false,
visaCenter: false,
allWeek: false,
allDay: false,
eye: false,
ear: false,
stick: false,
disable: false },
{
center: [59.548281,30.096778],
city: “Гатчина”,
adress: “Гатчина, ул. Старая дорога, д. 2″,
region: ‘Другой город’,
subway: ”,
line: ‘orange-line’,
items: [
{
name: ‘Платежный терминал’,
hours: ‘ Терминал установлен в клиентском офисе АО «ПСК». Актуальный режим работы офиса на сайте pesc.ru
‘
},
],
visaTerminal: false,
visaCenter: false,
allWeek: false,
allDay: false,
eye: false,
ear: false,
stick: false,
disable: false },
{
center: [59.558349,30.127887],
city: “Гатчина”,
adress: “Гатчина, ул. Чкалова, д. 23″,
region: ‘Другой город’,
subway: ”,
line: ‘orange-line’,
items: [
{
name: ‘Платежный терминал’,
hours: ‘Терминал установлен в клиентском офисе АО «ЕИРЦ ЛО». Актуальный режим работы офиса на сайте epd47.ru
‘
},
],
visaTerminal: false,
visaCenter: false,
allWeek: false,
allDay: false,
eye: false,
ear: false,
stick: false,
disable: false },
{
center: [59.500474,34.657767],
city: “Ефимовский”,
adress: “Ефимовский, 1 микрорайон, д. 11а”,
region: ‘Другой город’,
subway: ”,
line: ‘orange-line’,
items: [
{
name: ‘Платежный терминал’,
hours: ‘ Терминал установлен в клиентском офисе АО «ПСК». Актуальный режим работы офиса на сайте pesc.ru
‘
},
],
visaTerminal: false,
visaCenter: false,
allWeek: false,
allDay: false,
eye: false,
ear: false,
stick: false,
disable: false },
{
center: [59.375702,28.221895],
city: “Ивангород”,
adress: “Ивангород, Кингисеппское ш., д. 7А”,
region: ‘Другой город’,
subway: ”,
line: ‘orange-line’,
items: [
{
name: ‘Платежный терминал’,
hours: ‘Терминал установлен в клиентском офисе ООО «РКС-Энерго». Актуальный режим работы офиса на сайте rks-energo.ru
‘
},
],
visaTerminal: false,
visaCenter: false,
allWeek: false,
allDay: false,
eye: false,
ear: false,
stick: false,
disable: false },
{
center: [59.371805,28.607829],
city: “Кингисепп”,
adress: “Кингисепп, ул. Воровского, д. 3″,
region: ‘Другой город’,
subway: ”,
line: ‘orange-line’,
items: [
{
name: ‘Платежный терминал’,
hours: ‘Терминал установлен в клиентском офисе АО «ЕИРЦ ЛО». Актуальный режим работы офиса на сайте epd47.ru’
},
],
visaTerminal: false,
visaCenter: false,
allWeek: false,
allDay: false,
eye: false,
ear: false,
stick: false,
disable: false },
{
center: [59.366569,28.618968],
city: “Кингисепп”,
adress: “Кингисепп, ул. М. Гражданская, д. 4″,
region: ‘Другой город’,
subway: ”,
line: ‘orange-line’,
items: [
{
name: ‘Платежный терминал’,
hours: ‘ Терминал установлен в клиентском офисе АО «ПСК». Актуальный режим работы офиса на сайте pesc.ru
‘
},
],
visaTerminal: false,
visaCenter: false,
allWeek: false,
allDay: false,
eye: false,
ear: false,
stick: false,
disable: false },
{
center: [59.44464,32.024985],
city: “Кириши”,
adress: “Кириши, пр. Героев, д. 16″,
region: ‘Другой город’,
subway: ”,
line: ‘orange-line’,
items: [
{
name: ‘Платежный терминал’,
hours: ‘ Терминал установлен в клиентском офисе АО «ПСК». Актуальный режим работы офиса на сайте pesc.ru
‘
},
],
visaTerminal: false,
visaCenter: false,
allWeek: false,
allDay: false,
eye: false,
ear: false,
stick: false,
disable: false },
{
center: [59.454337,32.023574],
city: “Кириши”,
adress: “Кириши, ул. Комсомольская, д. 3 “,
region: ‘Другой город’,
subway: ”,
line: ‘orange-line’,
items: [
{
name: ‘Платежный терминал’,
hours: ‘Терминал установлен в клиентском офисе АО «ЕИРЦ ЛО». Актуальный режим работы офиса на сайте epd47.ru
‘
},
],
visaTerminal: false,
visaCenter: false,
allWeek: false,
allDay: false,
eye: false,
ear: false,
stick: false,
disable: false },
{
center: [59.448739,32.016747],
city: “Кириши”,
adress: “Кириши, пр. Ленина 26, лит. А”,
region: ‘Другой город’,
subway: ”,
line: ‘orange-line’,
items: [
{
name: ‘Платежный терминал’,
hours: ‘Терминал установлен в клиентском офисе ООО «РКС-Энерго». Актуальный режим работы офиса на сайте rks-energo.ru
‘
},
],
visaTerminal: false,
visaCenter: false,
allWeek: false,
allDay: false,
eye: false,
ear: false,
stick: false,
disable: false },
{
center: [59.884451,30.992776],
city: “Кировск”,
adress: “Кировск, б-р Партизанской Славы, д. 5″,
region: ”,
subway: ”,
line: ‘orange-line’,
items: [
{
name: ‘Платежный терминал’,
hours: ‘Терминал установлен в клиентском офисе АО «ЕИРЦ ЛО». Актуальный режим работы офиса на сайте epd47.ru’
},
],
visaTerminal: false,
visaCenter: false,
allWeek: false,
allDay: false,
eye: false,
ear: false,
stick: false,
disable: false },
{
center: [59.888749,30.999836],
city: “Кировск”,
adress: “Кировск, ул Северная, д. 16″,
region: ‘Другой город’,
subway: ”,
line: ‘orange-line’,
items: [
{
name: ‘Платежный терминал’,
hours: ‘Терминал установлен в клиентском офисе ООО «РКС-Энерго». Актуальный режим работы офиса на сайте rks-energo.ru
‘
},
],
visaTerminal: false,
visaCenter: false,
allWeek: false,
allDay: false,
eye: false,
ear: false,
stick: false,
disable: false },
{
center: [59.884266,30.989353],
city: “Кировск”,
adress: “Кировск, ул. Энергетиков, д. 6″,
region: ‘Другой город’,
subway: ”,
line: ‘orange-line’,
items: [
{
name: ‘Платежный терминал’,
hours: ‘ Терминал установлен в клиентском офисе АО «ПСК». Актуальный режим работы офиса на сайте pesc.ru
‘
},
],
visaTerminal: false,
visaCenter: false,
allWeek: false,
allDay: false,
eye: false,
ear: false,
stick: false,
disable: false },
{
center: [59.619989,30.390258],
city: “Коммунар”,
adress: “Коммунар, ул. Гатчинская, д. 12″,
region: ‘Другой город’,
subway: ”,
line: ‘orange-line’,
items: [
{
name: ‘Платежный терминал’,
hours: ‘Терминал установлен в клиентском офисе АО «ЕИРЦ ЛО». Актуальный режим работы офиса на сайте epd47.ru
‘
},
],
visaTerminal: false,
visaCenter: false,
allWeek: false,
allDay: false,
eye: false,
ear: false,
stick: false,
disable: false },
{
center: [59.628316,30.400283],
city: “Коммунар”,
adress: “Коммунар, ул. Ижорская, д. 24″,
region: ‘Другой город’,
subway: ”,
line: ‘orange-line’,
items: [
{
name: ‘Платежный терминал’,
hours: ‘Терминал установлен в клиентском офисе ООО «РКС-Энерго». Актуальный режим работы офиса на сайте rks-energo.ru
‘
},
],
visaTerminal: false,
visaCenter: false,
allWeek: false,
allDay: false,
eye: false,
ear: false,
stick: false,
disable: false },
{
center: [61.125216,29.876888],
city: “Кузнечное”,
adress: “Кузнечное, ул. Молодежная, д. 10, лит. А”,
region: ‘Другой город’,
subway: ”,
line: ‘orange-line’,
items: [
{
name: ‘Платежный терминал’,
hours: ‘08.00 – 20.00, без выходных
‘
},
],
visaTerminal: false,
visaCenter: false,
allWeek: true,
allDay: false,
eye: false,
ear: false,
stick: false,
disable: false },
{
center: [60.735554,33.554744],
city: “Лодейное Поле”,
adress: “Лодейное Поле, ул. Карла Маркса, д. 27″,
region: ‘Другой город’,
subway: ”,
line: ‘orange-line’,
items: [
{
name: ‘Платежный терминал’,
hours: ‘ Терминал установлен в клиентском офисе ООО «РКС-Энерго». Актуальный режим работы офиса на сайте rks-energo.ru
‘
},
],
visaTerminal: false,
visaCenter: false,
allWeek: false,
allDay: false,
eye: false,
ear: false,
stick: false,
disable: false },
{
center: [60.738554,33.538853],
city: “Лодейное Поле”,
adress: “Лодейное Поле, ул. Ульяновская, д. 15, к. 1″,
region: ‘Другой город’,
subway: ”,
line: ‘orange-line’,
items: [
{
name: ‘Платежный терминал’,
hours: ‘Терминал установлен в клиентском офисе АО «ПСК». Актуальный режим работы офиса на сайте pesc.ru
‘
},
],
visaTerminal: false,
visaCenter: false,
allWeek: false,
allDay: false,
eye: false,
ear: false,
stick: false,
disable: false },
{
center: [59.915089,29.771327],
city: “Ломоносов”,
adress: “Ломоносов, Дворцовый пр., д. 22а”,
region: ‘Другой город’,
subway: ”,
line: ‘orange-line’,
items: [
{
name: ‘Платежный терминал’,
hours: ‘Терминал установлен в клиентском офисе АО «ЕИРЦ ЛО». Актуальный режим работы офиса на сайте epd47.ru’
},
],
visaTerminal: false,
visaCenter: false,
allWeek: false,
allDay: false,
eye: false,
ear: false,
stick: false,
disable: false },
{
center: [58.738229,29.845187],
city: “Луга”,
adress: “Луга, Железнодорожная ул., д. 2/6″,
region: ‘Другой город’,
subway: ”,
line: ‘orange-line’,
items: [
{
name: ‘Платежный терминал’,
hours: ‘Терминал установлен в клиентском офисе АО «ПСК». Актуальный режим работы офиса на сайте pesc.ru
‘
},
],
visaTerminal: false,
visaCenter: false,
allWeek: false,
allDay: false,
eye: false,
ear: false,
stick: false,
disable: false },
{
center: [58.736183,29.861689],
city: “Луга”,
adress: “Луга, пр. Комсомольский, д. 16″,
region: ‘Другой город’,
subway: ”,
line: ‘orange-line’,
items: [
{
name: ‘Платежный терминал’,
hours: ‘Терминал установлен в клиентском офисе ООО «РКС-Энерго». Актуальный режим работы офиса на сайте rks-energo.ru
‘
},
],
visaTerminal: false,
visaCenter: false,
allWeek: false,
allDay: false,
eye: false,
ear: false,
stick: false,
disable: false },
{
center: [58.738696,29.851942],
city: “Луга”,
adress: “Луга, ул. Тоси Петровой, д. 12″,
region: ‘Другой город’,
subway: ”,
line: ‘orange-line’,
items: [
{
name: ‘Платежный терминал’,
hours: ‘Терминал установлен в клиентском офисе АО «ЕИРЦ ЛО». Актуальный режим работы офиса на сайте epd47.ru
‘
},
],
visaTerminal: false,
visaCenter: false,
allWeek: false,
allDay: false,
eye: false,
ear: false,
stick: false,
disable: false },
{
center: [60.064358,30.457973],
city: “Мурино”,
adress: “Мурино, ул. Шоссе Лаврики, д. 85″,
region: ‘Другой город’,
subway: ”,
line: ‘orange-line’,
items: [
{
name: ‘Платежный терминал’,
hours: ‘Терминал установлен в клиентском офисе АО «ЕИРЦ ЛО». Актуальный режим работы офиса на сайте epd47.ru’
},
],
visaTerminal: false,
visaCenter: false,
allWeek: false,
allDay: false,
eye: false,
ear: false,
stick: false,
disable: false },
{
center: [60.914625,34.067251],
city: “Никольский”,
adress: “Никольский, пр. Речного Флота, д. 19а”,
region: ‘Другой город’,
subway: ”,
line: ‘orange-line’,
items: [
{
name: ‘Платежный терминал’,
hours: ‘Терминал установлен в клиентском офисе АО «ЕИРЦ ЛО». Актуальный режим работы офиса на сайте epd47.ru
‘
},
],
visaTerminal: false,
visaCenter: false,
allWeek: false,
allDay: false,
eye: false,
ear: false,
stick: false,
disable: false },
{
center: [60.114531,32.322147],
city: “Новая Ладога”,
adress: “Новая Ладога, ул. Луначарского, д. 2″,
region: ‘Другой город’,
subway: ”,
line: ‘orange-line’,
items: [
{
name: ‘Платежный терминал’,
hours: ‘ Терминал установлен в клиентском офисе АО «ПСК». Актуальный режим работы офиса на сайте pesc.ru
‘
},
],
visaTerminal: false,
visaCenter: false,
allWeek: false,
allDay: false,
eye: false,
ear: false,
stick: false,
disable: false },
{
center: [59.774593,30.794338],
city: “Отрадное”,
adress: “Отрадное, ул. Заводская, д. 11″,
region: ‘Другой город’,
subway: ”,
line: ‘orange-line’,
items: [
{
name: ‘Платежный терминал’,
hours: ‘Терминал установлен в клиентском офисе ООО «РКС-Энерго». Актуальный режим работы офиса на сайте rks-energo.ru
‘
},
],
visaTerminal: false,
visaCenter: false,
allWeek: false,
allDay: false,
eye: false,
ear: false,
stick: false,
disable: false },
{
center: [59.769868,30.796341],
city: “Отрадное”,
adress: “Отрадное, ул. Лесная, д. 1″,
region: ‘Другой город’,
subway: ”,
line: ‘orange-line’,
items: [
{
name: ‘Платежный терминал’,
hours: ‘Терминал установлен в клиентском офисе АО «ЕИРЦ ЛО». Актуальный режим работы офиса на сайте epd47.ru
‘
},
],
visaTerminal: false,
visaCenter: false,
allWeek: false,
allDay: false,
eye: false,
ear: false,
stick: false,
disable: false },
{
center: [59.515592,34.178085],
city: “Пикалево”,
adress: “Пикалево, ул. Заводская, д. 11 А”,
region: ‘Другой город’,
subway: ”,
line: ‘orange-line’,
items: [
{
name: ‘Платежный терминал’,
hours: ‘Терминал установлен в клиентском офисе ООО «РКС-Энерго». Актуальный режим работы офиса на сайте rks-energo.ru
‘
},
],
visaTerminal: false,
visaCenter: false,
allWeek: false,
allDay: false,
eye: false,
ear: false,
stick: false,
disable: false },
{
center: [60.916772,34.158259],
city: “Подпорожье”,
adress: “Подпорожье, ул. Комсомольская, д. 1а”,
region: ‘Другой город’,
subway: ”,
line: ‘orange-line’,
items: [
{
name: ‘Платежный терминал’,
hours: ‘ Терминал установлен в клиентском офисе АО «ЕИРЦ ЛО». Актуальный режим работы офиса на сайте epd47.ru
‘
},
],
visaTerminal: false,
visaCenter: false,
allWeek: false,
allDay: false,
eye: false,
ear: false,
stick: false,
disable: false },
{
center: [61.038907,30.147003],
city: “Приозерск”,
adress: “Приозерск, ул. Калинина, д. 51″,
region: ‘Другой город’,
subway: ”,
line: ‘orange-line’,
items: [
{
name: ‘Платежный терминал’,
hours: ‘ Терминал установлен в клиентском офисе АО «ПСК». Актуальный режим работы офиса на сайте pesc.ru
‘
},
],
visaTerminal: false,
visaCenter: false,
allWeek: false,
allDay: false,
eye: false,
ear: false,
stick: false,
disable: false },
{
center: [60.255908,29.61078],
city: “Рощино”,
adress: “Рощино, ул. Советская, д. 57″,
region: ‘Другой город’,
subway: ”,
line: ‘orange-line’,
items: [
{
name: ‘Платежный терминал’,
hours: ‘ Терминал установлен в клиентском офисе АО «ПСК». Актуальный режим работы офиса на сайте pesc.ru
‘
},
],
visaTerminal: false,
visaCenter: false,
allWeek: false,
allDay: false,
eye: false,
ear: false,
stick: false,
disable: false },
{
center: [61.106737,28.863382],
city: “Светогорск”,
adress: “Светогорск, ул. Победы, д. 28″,
region: ‘Другой город’,
subway: ”,
line: ‘orange-line’,
items: [
{
name: ‘Платежный терминал’,
hours: ‘Терминал установлен в клиентском офисе ООО «РКС-Энерго». Актуальный режим работы офиса на сайте rks-energo.ru’
},
],
visaTerminal: false,
visaCenter: false,
allWeek: false,
allDay: false,
eye: false,
ear: false,
stick: false,
disable: false },
{
center: [60.147804,30.215571],
city: “Сертолово”,
adress: “Сертолово, Парковый проезд, д. 2, к. 1″,
region: ‘Другой город’,
subway: ”,
line: ‘orange-line’,
items: [
{
name: ‘Платежный терминал’,
hours: ‘Терминал установлен в клиентском офисе АО «ЕИРЦ ЛО». Актуальный режим работы офиса на сайте epd47.ru’
},
],
visaTerminal: false,
visaCenter: false,
allWeek: false,
allDay: false,
eye: false,
ear: false,
stick: false,
disable: false },
{
center: [60.146048,30.207962],
city: “Сертолово”,
adress: “Сертолово, ул. Школьная, д. 2″,
region: ‘Другой город’,
subway: ”,
line: ‘orange-line’,
items: [
{
name: ‘Платежный терминал’,
hours: ‘ Терминал установлен в клиентском офисе АО «ПСК». Актуальный режим работы офиса на сайте pesc.ru
‘
},
],
visaTerminal: false,
visaCenter: false,
allWeek: false,
allDay: false,
eye: false,
ear: false,
stick: false,
disable: false },
{
center: [60.086057,29.955841],
city: “Санкт-Петербург”,
adress: “Сестрорецк, ул. Токарева, д. 1”,
region: ‘Курортный’,
subway: ‘Старая Деревня’,
line: ‘violet-line’,
items: [
{
name: ‘Платежный терминал’,
hours: ‘Терминал установлен в клиентском офисе АО «ПСК». Актуальный режим работы офиса на сайте pesc.ru
‘
},
],
visaTerminal: false,
visaCenter: false,
allWeek: false,
allDay: false,
eye: false,
ear: false,
stick: false,
disable: false },
{
center: [59.121786,28.08342],
city: “Сланцы”,
adress: “Сланцы, ул. Грибоедова, д. 1″,
region: ‘Другой город’,
subway: ”,
line: ‘orange-line’,
items: [
{
name: ‘Платежный терминал’,
hours: ‘Терминал установлен в клиентском офисе АО «ЕИРЦ ЛО». Актуальный режим работы офиса на сайте epd47.ru
‘
},
],
visaTerminal: false,
visaCenter: false,
allWeek: false,
allDay: false,
eye: false,
ear: false,
stick: false,
disable: false },
{
center: [59.116617,28.087705],
city: “Сланцы”,
adress: “Сланцы, ул. Кирова, д. 39″,
region: ‘Другой город’,
subway: ”,
line: ‘orange-line’,
items: [
{
name: ‘Платежный терминал’,
hours: ‘Терминал установлен в клиентском офисе ООО «РКС-Энерго». Актуальный режим работы офиса на сайте rks-energo.ru
‘
},
],
visaTerminal: false,
visaCenter: false,
allWeek: false,
allDay: false,
eye: false,
ear: false,
stick: false,
disable: false },
{
center: [59.117592,28.086555],
city: “Сланцы”,
adress: “Сланцы, ул. Ленина, д. 10″,
region: ‘Другой город’,
subway: ”,
line: ‘orange-line’,
items: [
{
name: ‘Платежный терминал’,
hours: ‘ Терминал установлен в клиентском офисе АО «ПСК». Актуальный режим работы офиса на сайте pesc.ru
‘
},
],
visaTerminal: false,
visaCenter: false,
allWeek: false,
allDay: false,
eye: false,
ear: false,
stick: false,
disable: false },
{
center: [60.531042,28.669687],
city: “Советский”,
adress: “Советский, ул. Школьная, д. 27″,
region: ‘Другой город’,
subway: ”,
line: ‘orange-line’,
items: [
{
name: ‘Платежный терминал’,
hours: ‘Терминал установлен в клиентском офисе ООО «РКС-Энерго». Актуальный режим работы офиса на сайте rks-energo.ru’
},
],
visaTerminal: false,
visaCenter: false,
allWeek: false,
allDay: false,
eye: false,
ear: false,
stick: false,
disable: false },
{
center: [60.558316,30.221985],
city: “Сосново”,
adress: “Сосново, ул. Механизаторов, д. 11″,
region: ‘Другой город’,
subway: ”,
line: ‘orange-line’,
items: [
{
name: ‘Платежный терминал’,
hours: ‘Терминал установлен в клиентском офисе АО «ПСК». Актуальный режим работы офиса на сайте pesc.ru
‘
},
],
visaTerminal: false,
visaCenter: false,
allWeek: false,
allDay: false,
eye: false,
ear: false,
stick: false,
disable: false },
{
center: [59.902758,29.101876],
city: “Сосновый Бор”,
adress: “Сосновый Бор, ул. Петра Великого, д. 9″,
region: ‘Другой город’,
subway: ”,
line: ‘orange-line’,
items: [
{
name: ‘Платежный терминал’,
hours: ‘Терминал установлен в клиентском офисе ООО «РКС-Энерго». Актуальный режим работы офиса на сайте rks-energo.ru
‘
},
],
visaTerminal: false,
visaCenter: false,
allWeek: false,
allDay: false,
eye: false,
ear: false,
stick: false,
disable: false },
{
center: [59.730116,30.615187],
city: “п. Тельмана”,
adress: “п. Тельмана, д. 2Б («Лента»)”,
region: ‘Другой город’,
subway: ”,
line: ‘orange-line’,
items: [
{
name: ‘Платежный терминал’,
hours: ‘круглосуточно
‘
},
],
visaTerminal: false,
visaCenter: false,
allWeek: true,
allDay: true,
eye: false,
ear: false,
stick: false,
disable: false },
{
center: [59.645078,33.563233],
city: “Тихвин”,
adress: “Тихвин, 1а микрорайон, д. 37″,
region: ‘Другой город’,
subway: ”,
line: ‘orange-line’,
items: [
{
name: ‘Платежный терминал’,
hours: ‘ Терминал установлен в клиентском офисе АО «ПСК». Актуальный режим работы офиса на сайте pesc.ru
‘
},
],
visaTerminal: false,
visaCenter: false,
allWeek: false,
allDay: false,
eye: false,
ear: false,
stick: false,
disable: false },
{
center: [59.644541,33.508274],
city: “Тихвин”,
adress: “Тихвин, ул. Советская, д. 41″,
region: ‘Другой город’,
subway: ”,
line: ‘orange-line’,
items: [
{
name: ‘Платежный терминал’,
hours: ‘Терминал установлен в клиентском офисе ООО «РКС-Энерго». Актуальный режим работы офиса на сайте rks-energo.ru
‘
},
],
visaTerminal: false,
visaCenter: false,
allWeek: false,
allDay: false,
eye: false,
ear: false,
stick: false,
disable: false },
{
center: [59.644859,33.545347],
city: “Тихвин”,
adress: “Тихвин, 1 микрорайон., д. 2″,
region: ‘Другой город’,
subway: ”,
line: ‘orange-line’,
items: [
{
name: ‘Платежный терминал’,
hours: ‘Терминал установлен в клиентском офисе АО «ЕИРЦ ЛО». Актуальный режим работы офиса на сайте epd47.ru
‘
},
],
visaTerminal: false,
visaCenter: false,
allWeek: false,
allDay: false,
eye: false,
ear: false,
stick: false,
disable: false },
{
center: [59.540299,30.863813],
city: “Тосно”,
adress: “Тосно, ш. Барыбина, д. 16″,
region: ‘Другой город’,
subway: ”,
line: ‘orange-line’,
items: [
{
name: ‘Платежный терминал’,
hours: ‘Терминал установлен в клиентском офисе ООО «РКС-Энерго». Актуальный режим работы офиса на сайте rks-energo.ru
‘
},
],
visaTerminal: false,
visaCenter: false,
allWeek: false,
allDay: false,
eye: false,
ear: false,
stick: false,
disable: false },
{
center: [59.547013,30.864595],
city: “Тосно”,
adress: “Тосно, пр. Ленина, д. 19″,
region: ‘Другой город’,
subway: ”,
line: ‘orange-line’,
items: [
{
name: ‘Платежный терминал’,
hours: ‘Терминал установлен в клиентском офисе АО «ЕИРЦ ЛО». Актуальный режим работы офиса на сайте epd47.ru’
},
],
visaTerminal: false,
visaCenter: false,
allWeek: false,
allDay: false,
eye: false,
ear: false,
stick: false,
disable: false },
{
center: [59.537885,30.851758],
city: “Тосно”,
adress: “Тосно, ул. Энергетиков, д. 7″,
region: ‘Другой город’,
subway: ”,
line: ‘orange-line’,
items: [
{
name: ‘Платежный терминал’,
hours: ‘ Терминал установлен в клиентском офисе АО «ПСК». Актуальный режим работы офиса на сайте pesc.ru
‘
},
],
visaTerminal: false,
visaCenter: false,
allWeek: false,
allDay: false,
eye: false,
ear: false,
stick: false,
disable: false },
{
center: [59.945752,31.034215],
city: “Шлиссельбург”,
adress: “Шлиссельбург, ул. Жука, д. 3″,
region: ”,
subway: ”,
line: ‘orange-line’,
items: [
{
name: ‘Платежный терминал’,
hours: ‘Терминал установлен в клиентском офисе АО «ЕИРЦ ЛО». Актуальный режим работы офиса на сайте epd47.ru
‘
},
],
visaTerminal: false,
visaCenter: false,
allWeek: false,
allDay: false,
eye: false,
ear: false,
stick: false,
disable: false },
]
Фильтр
РайонВсе районыАдмиралтейскийВасилеостровскийВыборгскийКалининскийКировскийКолпинскийКрасногвардейскийКрасносельскийКронштадтcкийКурортныйМосковскийНевский (левый берег)Невский (правый берег)ПетроградскийПетродворцовыйПриморскийПушкинскийФрунзенскийЦентральныйСтанция метроВсе станцииАвтовоАкадемическаяБалтийскаяВасилеостровскаяГорьковскаяГражданский проспектЕлизаровскаяЗвёзднаяКомендантский проспектКупчиноЛадожскаяЛенинский проспектЛеснаяМаяковскаяМеждународнаяМосковскаяНарвскаяНовочеркасскаяПарк ПобедыПетроградскаяПионерскаяПлощадь ЛенинаПлощадь МужестваПриморскаяПролетарскаяПроспект БольшевиковПроспект ВетерановПроспект ПросвещенияРыбацкоеСенная площадьСтарая ДеревняТехнологический институтУдельнаяУлица ДыбенкоЧёрная речкаЧернышевскаяЧкаловскаяНаселенный пунктВсе населенные пунктыСанкт-ПетербургБокситогорскВажиныВолосовоВолховВсеволожскВыборгВырицаГатчинаЕфимовскийИвангородКингисеппКиришиКировскКоммунарКузнечноеЛодейное ПолеЛомоносовЛугаМуриноНикольскийНовая ЛадогаОтрадноеПикалевоПодпорожьеПриозерскРощиноСветогорскСертоловоСланцыСоветскийСосновоСосновый Борп. ТельманаТихвинТосноШлиссельбург
На карте
Списком
Главная страница – 404 Страница не найдена
Выберите интересующий Вас вопрос,
чтобы увидеть полную схему системы голосового самообслуживания ПАО «Россети Московский регион»
кнопка 1
Вопросы по отключениям электроэнергии Переключение на оператора КЦ
ПАО «Россети Московский регион»
кнопка 2
Вопросы по технологическому присоединениюКнопка 0
Переключение на оператора КЦПАО «Россети Московский регион»
Соединение с оператором
ПАО «Россети Московский регион»
Возможность оставить голосовое сообщение для операторов
ПАО «Россети Московский регион»
Кнопка 1
Получение статуса в автоматическом режиме(ввод штрихкода)
Кнопка 2
Уведомление о выполнении Технических условий(ввод штрихкода)
кнопка 3
Вопросы по подаче электронной заявки и работе в личном кабинетеСоединение с оператором
ПАО «Россети Московский регион»
Возможность оставить голосовое сообщение для операторов
ПАО «Россети Московский регион»
кнопка 4
Вопросы по дополнительным услугамСоединение с оператором
ПАО «Россети Московский регион»
Возможность оставить голосовое сообщение для операторов
ПАО «Россети Московский регион»
кнопка 5
Сообщение о противоправных действиях в отношении объектов ПАО «Россети Московский регион»Соединение с оператором
ПАО «Россети Московский регион»
Возможность оставить голосовое сообщение для операторов
ПАО «Россети Московский регион»
кнопка 6
Справочная информацияСоединение с оператором
ПАО «Россети Московский регион»
Возможность оставить голосовое сообщение для операторов
ПАО «Россети Московский регион»
Виртуальный помощник
Требования к организации учета
Прибор учета электроэнергии – средство измерения, используемое для определения объемов (количества) потребления (производства, передачи) электрической энергии потребителями (гарантирующим поставщиком, сетевыми организациями).
Приборы учета, показания которых используются при определении объемов потребления (производства) электрической энергии (мощности) на розничных рынках, оказанных услуг по передаче электрической энергии, фактических потерь электрической энергии в объектах электросетевого хозяйства, за которые осуществляются расчеты на розничном рынке, должны соответствовать требованиям законодательства Российской Федерации об обеспечении единства измерений, а также Постановлению Правительства Российской Федерации от 4 мая 2012 г. № 442 «О функционировании розничных рынков электрической энергии, полном и (или) частичном ограничении режима потребления электрической энергии», в том числе по их классу точности, быть допущенными в эксплуатацию в установленном порядке, иметь неповрежденные контрольные пломбы и (или) знаки визуального контроля.
Для учета электрической энергии, потребляемой гражданами, а также на границе раздела объектов электросетевого хозяйства и внутридомовых инженерных систем многоквартирного дома подлежат использованию приборы учета класса точности 2,0 и выше.
В многоквартирных домах, присоединение которых к объектам электросетевого хозяйства осуществляется после вступления в силу настоящего документа, на границе раздела объектов электросетевого хозяйства и внутридомовых инженерных систем подлежат установке коллективные (общедомовые) приборы учета класса точности 1,0 и выше.
Для учета электрической энергии, потребляемой потребителями, с максимальной мощностью менее 670 кВт, подлежат использованию приборы учета класса точности 1,0 и выше – для точек присоединения к объектам электросетевого хозяйства напряжением 35 кВ и ниже и класса точности 0,5S и выше – для точек присоединения к объектам электросетевого хозяйства напряжением 110 кВ и выше.
Для учета электрической энергии, потребляемой потребителями с максимальной мощностью не менее 670 кВт, подлежат использованию приборы учета, позволяющие измерять почасовые объемы потребления электрической энергии, класса точности 0,5S и выше, обеспечивающие хранение данных о почасовых объемах потребления электрической энергии за последние 120 дней и более или включенные в систему учета.
Класс точности измерительных трансформаторов, используемых в измерительных комплексах для установки (подключения) приборов учета, должен быть не ниже 0,5. Допускается использование измерительных трансформаторов напряжения класса точности 1,0 для установки (подключения) приборов учета класса точности 2,0.
Приборы учета подлежат установке на границах балансовой принадлежности объектов электроэнергетики (энергопринимающих устройств) смежных субъектов розничного рынка – потребителей, производителей электрической энергии (мощности) на розничных рынках, сетевых организаций, имеющих общую границу балансовой принадлежности (далее – смежные субъекты розничного рынка), а также в иных местах, с соблюдением установленных законодательством Российской Федерации требований к местам установки приборов учета. При отсутствии технической возможности установки прибора учета на границе балансовой принадлежности объектов электроэнергетики (энергопринимающих устройств) смежных субъектов розничного рынка прибор учета подлежит установке в месте, максимально приближенном к границе балансовой принадлежности, в котором имеется техническая возможность его установки. При этом по соглашению между смежными субъектами розничного рынка прибор учета, подлежащий использованию для определения объемов потребления (производства, передачи) электрической энергии одного субъекта, может быть установлен в границах объектов электроэнергетики (энергопринимающих устройств) другого смежного субъекта.
Обязанность по обеспечению эксплуатации установленного и допущенного в эксплуатацию прибора учета, сохранности и целостности прибора учета, а также пломб и (или) знаков визуального контроля, снятию и хранению его показаний, своевременной замене возлагается на собственника такого прибора учета.
Периодическая поверка прибора учета, измерительных трансформаторов должна проводиться по истечении межповерочного интервала, установленного для данного типа прибора учета, измерительного трансформатора в соответствии с законодательством Российской Федерации об обеспечении единства измерений
Каждый установленный расчетный счетчик должен иметь на винтах, крепящих кожух счетчика, пломбы с клеймом госповерителя, а на зажимной крышке – пломбу энергоснабжающей организации.
На вновь устанавливаемых трехфазных счетчиках должны быть пломбы государственной поверки с давностью не более 12 мес., а на однофазных счетчиках – с давностью не более 2 лет
Счетчики должны устанавливаться в шкафах, камерах, комплектных распределительных устройствах, на панелях, щитах, в нишах, на стенах, имеющих жесткую конструкцию.
Допускается крепление счетчиков на деревянных, пластмассовых или металлических щитках.
Высота от пола до коробки зажимов счетчиков должна быть в пределах 0,8 – 1,7 м. Допускается высота менее 0,8 м, но не менее 0,4 м.
Должна быть обеспечена возможность удобной замены счетчика и установки его с уклоном не более 1 град. Конструкция его крепления должна обеспечивать возможность установки и съема счетчика с лицевой стороны.
Для безопасной установки и замены счетчиков в сетях напряжением до 380 В должна предусматриваться возможность отключения счетчика установленными до него на расстоянии не более 10 м коммутационным аппаратом или предохранителями. Снятие напряжения должно предусматриваться со всех фаз, присоединяемых к счетчику.
Схемы подключения электросчетчиков*
Схема подключения однофазного электросчетчика
Схема подключения трехфазного электросчетчика к трехфазной 3-х или 4-х проводной сети
Схема подключения трехфазного электросчетчика с помощью трех трансформаторов тока к трехфазной 3-х или 4-х проводной сети
Схема подключения трехфазного электросчетчика с помощью трех трансформаторов тока и трех трансформаторов напряжения к трехфазной 3-х или 4-х проводной сети
* – представленные выше схемы подключения электросчетчиков являются типовыми и могут отличаться в зависимости от завода-изготовителя и места установки. При установке электросчетчика необходимо руководствоваться паспортом завода-изготовителя на данное изделие.
Основные метрологические характеристики электросчетчиков**
Однофазные:
Номинальное напряжение – 230 В
Номинальный ток – 5(60) или 10(100) А
Трехфазные прямого включения:
Номинальное напряжение – 3х230/400 В
Номинальный ток – 5(60) или 10(100) А
Трехфазные трансформаторного включения:
Номинальное напряжение – 3х57,7/100 или 3х230/400 В
Номинальный ток – 5(7,5) или 5(10) А
** – приведенные выше метрологические характеристики электросчетчиков могут отличаться в зависимости от модели и завода-изготовителя.
Установка счетчика электроэнергии
Счетчик электроэнергии – необходимый компонент любой системы электроснабжения. Всем известно, что предназначение данного устройства заключается в измерении и учете расхода электрической энергии постоянного и переменного тока.
От правильной установки счетчика зависит то, насколько правильно будут происходить расчеты оплаты за электричество, а также функционирование системы в целом.
Как происходит правильная установка счетчика электроэнергии?
Правила монтажа счетчика:
- самым первым пунктом, на который необходимо обратить внимание, является помещение и его состояние. Счетчик электроэнергии должен устанавливаться в сухом доступном месте, к которому беспрепятственно можно приблизиться. Диапазон температур для такого помещения варьируется от 0 до +40 градусов по Цельсию (т.е. не ниже 0⁰, не выше 40⁰). Нередки ситуации, когда температурный режим сложно поддержать. Тогда на зимний период счетчик нужно утеплять, например, при помощи специального утепленного шкафа с подогревом.
- место монтажа счетчика бывает различным. Устройство может устанавливаться на стене, на специальных панелях, в шкафах или же в отсеках комплектного распределительного устройства (КРУ).
- способ крепления
Счетчики электроэнергии могут крепиться на металлических щитках, в щитках и боксах из пластика, а также на деревянных щитках.
- высота установки
Нормированная высота расположения счетчика 800-1700 мм над уровнем земли. Также важно, чтобы устройство находилось на уровне глаз человека для наиболее удобного обслуживания и снятия показаний. Именно этим объясняется запрет на монтаж электросчетчиков на уличных столбах на большой высоте.
- угол наклона при установке счетчика
Счетчики электроэнергии индукционного типа устанавливаются с наклоном не выше, чем 1 градус. Несоблюдение данного условия чревато отклонениями в учете показаний потребления электроэнергии.
размеры шкафов, ниш, щитов должны быть такими, чтобы обеспечивался простой доступ к выводам электрического счетчика или же к трансформаторам. Также габариты необходимо подбирать с учетом возможности замены счетчика.
- подключение проводов к счетчику требует соблюдения двух важных правил: следование цветовой маркировке проводов и обеспечение защиты провода длиной свыше 12 мм.
- коммутационные аппараты устанавливаются перед электросчетчиком для более быстрой и безопасной замены в случае необходимости.
Торговая сеть «Планета Электрика» имеет в своем ассортименте широкий выбор различных счетчиков электроэнергии.
Подключение счетчика электроэнергии. Выбор электросчетчика.
Подключение счетчика электроэнергии требует точности и выполнения определенных регламентов монтажа. В этом случае вы получаете верные параметры расхода электроэнергии и надежную эксплуатацию прибора.
К самим приборам учета перед установкой на место применяются следующие требования:
- Прибор должен пройти поверку и опломбировку пломбой завода-изготовителя. Эта пломба гарантирует рабочее состояние прибора, выполнение необходимого комплекса испытаний, подтверждает соответствие параметров заявленным, классу точности. Все эти сведения приводятся в паспорте изделия.
- Выбирая счетчик электроэнергии, убедитесь, что со дня его изготовления прошло менее двух лет (если это однофазный счетчик). Для трехфазного прибора учета – менее одного года. В противном случае потребуется дополнительная поверка.
Правила подключения счетчика электроэнергии
- Выбор места установки. Место установки должно быть удобным для доступа к прибору, его обслуживания и снятию с него показаний. Счетчики устанавливают в сухих помещениях с положительными температурными параметрами. Разрешено устанавливать прибор в металлических или пластмассовых закрывающихся боксах, на щитах, панелях, в нишах стен.
- Высота установки. Правилами нормируется высота установки прибора – 1,5 – 1,7 м от уровня пола.
- Положение аппарата. Счетчик крепится с соблюдением отклонения от вертикальной оси не более одного процента.
- Сечение проводников для подключения аппарата должно соответствовать потребляемой мощности. Минимальные сечения для проводников с медными жилами – 2,5 мм 2 , с алюминиевыми – 4 мм 2 . Ответвления и соединения проводников до счетчика недопустимы. Монтаж проводников необходимо выполнять строго перпендикулярно.
- При установке прибора в этажном щите обязателен отключающий аппарат перед учетом.
- Подключение электросчетчика, также как и его замену рекомендуется выполнять совместно с установкой или заменой отключающей аппаратуры, управляющей питающими линиями электросети помещения. Автоматические выключатели, дифференциальные автоматы, УЗО следует выбирать по нагрузкам сети.
- Повторная пломбировка. Следует помнить, что все действия со счетчиком электроэнергии должны заканчиваться его опломбировкой органами Энергосбыта при вводе аппарата в эксплуатацию.
Обратитесь к нам
Очень часто при перепланировке помещения или квартиры требуется перенести прибор учета в квартирный щит из этажного щитка, или перенести квартирный щит в сборе на другое место.
Опытные электромонтажники нашей компании быстро, надежно и максимально качественно:
- подключат однофазный или трехфазный счетчик электрической энергии;
- заменят прибор учета, перенесут его на другое место.
Стоимость подключения счетчика электроэнергии зависит от условий монтажа. Для определения затрат на установку прибора учета обратитесь за консультацией к профессионалам компании.
Минимальная высота для счетчика электроэнергии
»Проекты домашних электромонтажных работ»Нужна электрическая помощь? Спросите у Электрика
Какая минимальная высота для монтажа электрооборудования? Монтаж счетчика электроэнергии. |
Счетчик электроэнергии
[блок объявления] Электрооборудование Вопрос: Какая минимальная высота для монтажа электрооборудования?
- Есть ли минимальная высота для установки счетчика услуг сбоку от дома.
- Новое подземное обслуживание и новое обслуживание / метр 43 ″ до верха банки.
- Насколько я понимаю, все панели должны быть установлены на 60–72 дюймов выше готовой конструкции.
Этот вопрос по электропроводке поступил от Энтони из Уайт-Пайн, штат Теннесси.
Ответ Дэйва:
Спасибо за вопрос по электропроводке, Энтони.
Установка электрооборудования
Приложение: установка электрической службы.
Уровень квалификации: Продвинутый – Лучше всего устанавливается лицензированным подрядчиком по электрике или сертифицированным мастером-электриком.
Необходимые инструменты: Сумка для электромонтажных работ с ручными инструментами и различными электроинструментами, необходимыми для конкретного метода электромонтажа.
Расчетное время: зависит от типа панели, местоположения и доступного доступа к области проекта.
Меры предосторожности: Это обширный проект. Работа с электрической панелью может быть связана с опасностью вспышки дуги и должна выполняться Лицензированным подрядчиком по электрике. Уведомление
: Установка панели обслуживания электрооборудования должна выполняться в соответствии с местными и национальными электротехническими нормами, с разрешением и проверяться.
Монтаж счетчика электроэнергии
- Минимальная высота счетчика электроэнергии фактически указывается местным поставщиком электроэнергии или энергокомпанией.
- Национальный электротехнический кодекс NEC не определяет минимальную высоту для счетчика обслуживания, однако типичная минимальная высота для установки счетчика обслуживания на стороне дома составляет от 5 до 6 футов над готовым уровнем или ровной поверхностью.
Домашние электрические коды для обслуживания
Основные электрические схемы дома
Домашние электрические цепи и автоматические выключатели
В этой статье рассматриваются общие схемы домашней электропроводки на 120 и 240 вольт, а также устанавливаемые автоматические выключатели с указанием типов и величин силы тока, используемых в большинстве домов.
Список электрических цепей панели
Коды подземных электрических сетей
Вам также могут быть полезны следующие данные:
| ||||||||
Будьте осторожны и безопасны – никогда не работайте с электрическими цепями!
Проконсультируйтесь в местном строительном департаменте по поводу разрешений и проверок для всех проектов электропроводки.
% PDF-1.6 % 1 0 объект >>> / Pages 3 0 R / StructTreeRoot 6 0 R / Тип / Каталог >> эндобдж 5 0 obj > / Шрифт >>> / Поля [] >> эндобдж 2 0 obj > поток 2014-08-06T15: 01: 16-05: 002014-08-06T15: 01: 15-05: 002014-08-06T15: 01: 16-05: 00Adobe Acrobat 8.0 Приложение “Объединить файлы” / pdf
| Duquesne Light Company
Обычно все счетчики располагаются на открытом воздухе. Заказчик предоставляет и поддерживает место для размещения счетчиков. Это пространство должно быть легко доступно для представителей Компании для снятия показаний счетчиков, тестирования или обслуживания.
Монтажное оборудование счетчика для различных видов сервисных инсталляций должно быть установлено так, чтобы верх розетки или корпуса находился на следующих расстояниях от конечного уровня земли или пола:
Жилой, Открытый от 3-1 / 2 до 6 футов
Жилой, Крытый от 5 до 6 футов
(только специальное разрешение)
Пьедестал для мобильного дома от 3-1 / 2 до 5 футов
Свободно стоящие измерительные приборы, 5 футов
(см. Рисунок 21) За инструкциями обращайтесь в офис отдела
Шкафы для счетчиков с открывающимися дверцами наверху 6 футов
Все трансокеты от 5 до 6 футов
Все прочие нежилые объекты от 5 до 6 футов
Квартирные групповые установки с комбинированными блоками счетчика и выключателя, установленными внутри помещения (см. Рисунок 21).
Следует избегать мест, мешающих пешеходному или автомобильному движению. Перед счетчиком должно быть обеспечено и поддержано ровное трехфутовое свободное пространство, подходящее для работы ремонтника.
Заказчик должен установить розетку счетчика или шкаф трансформатора вертикально, плотно и ровно. Необходимо использовать все монтажные отверстия, предусмотренные в розетке счетчика, и не следует сверлить дополнительные монтажные отверстия.
Фурнитура, устанавливаемая на розетки, должна быть установлена в кирпич, бетонный блок, шпильки или аналогичные элементы.На металлической, виниловой или деревянной обшивке внахлест подложка из наружной фанеры толщиной 3/4 дюйма должна быть прикреплена к двум шпилькам и должна быть достаточно прочной для надежного крепления розетки.
Счетчикимогут быть установлены на опоре Заказчика или на опорной конструкции. Разрешение на такую установку должно быть получено в офисе отдела. Установленный на опоре счетчик показан на Рисунке 8. Пример опорной конструкции показан на Рисунке 21.
Если используются алюминиевые проводники, ингибитор окисления должен быть нанесен на все проводники надлежащим образом до того, как они будут помещены в клеммы розетки счетчика.
За исключением установок мультиметров, имеющих длину более шести метров, розетка счетчика или шкаф КИП должны располагаться на стороне питания сервисного оборудования Заказчика.
Гнезда для счетчиков для однофазных сетей с напряжением 120/208 В должны иметь пятый вывод, установленный в положении «9 часов». Заказчик должен предоставить, установить и подключить пятый терминал, показанный на рисунке 16.
Измеряемые и неизмеряемые проводники не должны устанавливаться в одной и той же розетке счетчика, кабелепроводе, кабельном канале или кабельном желобе.Розетки счетчиков нельзя использовать в качестве распределительных коробок. Все шкафы, тяговые коробки и кабельные каналы или кабельные желоба, содержащие неизмеренные проводники, должны иметь средства для герметизации.
Во всех трехфазных установках проводники служебного входа должны быть идентифицированы на сервисной головке или арматуре в соответствии с подключениями на розетке счетчика или Transocket. Это необходимо для обеспечения правильного дозирования.
Чтобы узнать о правильном способе соединения проводов линии и нагрузки, см. Рисунок 16 для гнезд счетчиков и Рисунок 17 и Рисунок 18 для узлов Transocket.
Заземление розетки счетчика
Розетки или корпуса счетчиков не должны использоваться для заземления кабельного телевидения, телефона или любых других служебных линий.
Автономные розетки счетчиков и трансформаторные розетки не должны быть отдельно заземлены, если орган по электрическому контролю не требует, чтобы нейтральный проводник был изолирован в розетке, или розетка не используется в незаземленной сети 230 В. Все розетки и корпуса, рассчитанные на измерительные трансформаторы, должны быть заземлены. См. Рисунок 21.
Дополнительные сведения см. В разделе 3.4 «Сервисное заземление».
Доступ к счетчикам
Представители компании, которые идентифицированы должным образом, должны иметь полный и свободный доступ к помещению клиента в любое разумное время с целью снятия показаний счетчиков Компании, для осмотра и ремонта, для вывоза имущества Компании или для любых других целей или инцидентов, связанных с обслуживание. Заказчик должен немедленно связаться с Компанией в случае возникновения каких-либо вопросов относительно полномочий или полномочий представителей Компании.
Если запланированные показания счетчиков киловатт-часов и потребления не получены, Компания может предоставлять промежуточный отчет за каждый месяц до тех пор, пока счетчики не будут сняты.
Duquesne Light Company (DLC) также может прекратить электрическое обслуживание и удалить свое оборудование из помещения после разумного уведомления в случае, если считыватели счетчиков или другие уполномоченные представители Компании не могут получить доступ или им отказано в допуске в помещения для целей снятия показаний счетчиков, ремонт, осмотр или вывоз имущества Компании, или в случае, если заказчик препятствует представителям Компании в выполнении ими своих обязанностей.
У вас недостаточно прав для чтения этого закона в это время
У вас недостаточно прав для чтения этого закона в это время Логотип Public.Resource.Org На логотипе изображен черно-белый рисунок улыбающегося тюленя с усами. Вокруг печати находится красная круглая полоса с белым шрифтом, в верхней половине которого написано «Печать одобрения создания», а в нижней половине – «Public.Resource.Org». На внешней стороне красной круглой марки находится круг. серебряная круглая полоса с зубчатыми краями, напоминающая печать из серебряной фольги.Public.Resource.Org
Хилдсбург, Калифорния, 95448
США
Этот документ в настоящее время недоступен для вас!
Уважаемый соотечественник:
В настоящее время вам временно отказано в доступе к этому документу.
Public Resource ведет судебный процесс за ваше право читать и говорить о законе. Для получения дополнительной информации см. Досье по рассматриваемому судебному делу:
Американское общество испытаний и материалов (ASTM), Национальная ассоциация противопожарной защиты (NFPA), и Американское общество инженеров по отоплению, холодильной технике и кондиционированию воздуха (ASHRAE) v.Public.Resource.Org (общедоступный ресурс), DCD 1: 13-cv-01215, Объединенный окружной суд округа Колумбия [1]
Ваш доступ к этому документу, который является законом Соединенных Штатов Америки, был временно отключен, пока мы боремся за ваше право читать и говорить о законах, по которым мы решаем управлять собой как демократическим обществом.
Чтобы подать заявку на получение лицензии на ознакомление с этим законом, ознакомьтесь с Сводом федеральных нормативных актов или применимыми законами и постановлениями штата. на имя и адрес продавца.Для получения дополнительной информации о постановлениях правительства и ваших правах гражданина в соответствии с нормами закона , тел. пожалуйста, прочтите мое свидетельство перед Конгрессом Соединенных Штатов. Вы можете найти более подробную информацию о нашей деятельности на общедоступном ресурсе. в нашем реестре деятельности за 2015 год. [2] [3]
Спасибо за интерес к чтению закона. Информированные граждане – это фундаментальное требование для работы нашей демократии. Благодарим вас за усилия и приносим извинения за неудобства.
С уважением,
Карл Маламуд
Public.Resource.Org
7 ноября 2015 г.
Банкноты
[1] http://www.archive.org/download/gov.uscourts.dcd.161410/gov.uscourts.dcd.161410.docket.html
[2] https://public.resource.org/edicts/
[3] https://public.resource.org/pro.docket.2015.html
Xcel Energy устанавливает «умные счетчики», которые будут взимать больше за электроэнергию, потребляемую в периоды пиковой нагрузки
Первый из «умных счетчиков» Xcel установлен в среду, 30 июня, в жилом доме в Литтлтоне.Новые счетчики измеряют потребление энергии в домах в режиме реального времени, чтобы клиенты могли получать более точные показания. К концу 2023 года почти все 1,6 миллиона клиентов Xcel Colorado будут иметь умные счетчики.Оливия Сан / The Colorado Sun
LITTLETON – Менеджеру проекта Xcel Energy Уэйду Крузеру потребовалось чуть меньше трех минут, чтобы убрать старый электросчетчик со стены дома в Литтлтоне и рассказать о будущем использования электроэнергии и выставлении счетов для клиентов коммунального предприятия в Колорадо – «умный счетчик».”
Эти счетчики считывают потребление энергии в домах в режиме реального времени и сообщают об этом в Xcel. Они дадут клиентам более ясную и точную картину использования энергии и позволят Xcel внедрить тарифы на время использования, взимая больше в периоды пиковой нагрузки и меньше в периоды низкого потребления.
Бригады Xcel будут устанавливать счетчики примерно в 15 000 домов и предприятий в неделю, начиная с Денвера, Авроры и близлежащих пригородов, а 395 000 планируется установить к концу года. Почти все 1.К концу 2023 года 6 миллионов клиентов в Колорадо будут иметь умные счетчики.
Комиссия по коммунальным предприятиям штата Колорадо разрешила Xcel потратить до 419 миллионов долларов на установку устройств, известных как счетчики предварительной установки, или AIM. будут переданы клиентам.
Считывание показаний в режиме реального времени позволит домохозяйствам лучше понять, когда и сколько энергии они используют, сказала президент Xcel Energy-Colorado Элис Джексон.