Двухскатная мансардная крыша: проект, конструкция, строительство, утепление
Часто встречается ситуация, когда люди хотят увеличить жилую площадь в собственном доме посредством возведения мансардной крыши. Данную задумку возможно воплотить в жизнь своими руками, но следует заранее узнать все нюансы строительства. В итоге появится новая комната, на которую необходимы минимальные финансовые затраты. Существует несколько вариантов, как сделать помещение под крышей. Самый востребованный в наши дни – это двухскатная мансардная крыша. Монтаж такой конструкции достаточно простой, даже для новичка в строительном деле.
Как разрабатывается проект?
Проект двухскатной мансардной крыши предполагает необходимость разрушения скатов под определенными углами. После этого пространство под искомой крышей автоматически увеличится. Многие не знают, как сделать двухскатную крышу своими руками. Если предстоит реконструкция старого здания, то нужно помнить некоторые моменты проектирования. Считается, что мансардная кровля намного тяжелее, чем щипцовая поверхность.
Первым шагом нужно проверить, в каком состоянии находится фундамент постройки. Следует обследовать стены, удостовериться, что они не разрушатся со временем. Необходимо понять, выдержит ли здание большие нагрузки, связанные с возведением двухскатной мансардной крыши. В случае планирования такого типа крыши на начальном этапе строительства частного дома необходимо делать проект с усиленным фундаментом и прочными стенами.

Работа над проектом мансардного этажа с двухскатной крышей является одним из самых важных этапов при строительстве. Если будут допускаться ошибки в расчетах, то это может привести к преждевременному разрушению здания. Неправильно выбранный угол наклона двухскатной крыши может обернуться деформацией самой крыши. Могут появиться трещины в стенах от чрезмерной нагрузки на них. Учитывая все перечисленные нюансы, при разработке проекта следует доверить его подготовку архитекторам. Если человек уверен в своих силах и хочет попробовать самостоятельно разработать проект двухскатной мансардной крыши, ему стоит работать в специальных архитектурных программах на компьютере. В них можно точно рассчитать необходимый угол наклона крыши.
Существует определенный документ (СНиП), на котором основываются все расчеты. Его называют «Нагрузки и воздействия». Как сделать двухскатную крышу своими руками? Нужно изучить данный документ
Когда стоит вопрос о выборе мансардного проекта, который человек собирается воплотить в жизнь своими руками, следует учитывать, как зависят размеры будущей комнаты от угла наклона крыши:
- Допустимые размеры двухскатной крыши указываются в СНиП. Высота потолка в данном случае должна быть больше 2,2 метров.
- Бывают постройки с прямыми скатами крыши. В таком случае угол наклона будет отражаться на ширине будущей комнаты.

Для того чтобы увеличить помещение по всей ширине, делают ломаную мансардную кровлю. Высота потолков сразу увеличивается по всей ширине комнаты. Угол, под которым ставятся нижние стропила, обычно не больше 60 градусов. Угол для установки верхних стропил выбирается владельцем помещения самостоятельно. Обычно на выбор влияют предпочтения владельца, а также предполагаемые нагрузки на крышу. В каждом районе погодные условия будут отличаться.
Элементы кровли
Начиная монтажные работы по кровле, следует подготовить необходимые материалы. Конструкция мансардной двухскатной крыши требует большого количества материалов. Для кровельного пирога понадобятся:
- Качественная гидроизоляция. Обязательно должна быть и пароизоляция.
- Не обойтись в данной работе без утеплителя. От него зависит шаг стропил. Установка стропил двухскатной крыши – достаточно трудоемкий процесс. Чтобы потратить меньше материала, нужно укладывать стропила так, чтобы между ними впритык вошла плита.
- Сам кровельный материал, который влияет на тип обрешетки. Она может быть сплошной или разреженной. Каждый вариант имеет свои плюсы и минусы.
Чтобы сделать качественную крышу, стоит задуматься над тем, как будет вентилироваться вся система кровли.
Какие потребуются материалы?
Для возведения двухскатной мансардной крыши своими руками будут нужны следующие материалы:
- Брус, сечение которого должно быть 50 на 100 миллиметров.
- Доски размером 150 на 50 миллиметров.
- Необрезная доска, размер которой выбирают, исходя из общих требований проекта. Доски подбирают, ориентируясь на высоту мансардного этажа двухскатной крыши.
- Специальная проволока диаметром не больше четырех миллиметров. Обычно выбирают отожженную.

Какие будут нужны инструменты?
Чтобы построить мансардный этаж с двухскатной крышей, нужно будет запастись следующими инструментами:
- Крепежные элементы. К ним относятся саморезы и гвозди. Не обойтись без строительного уровня, а также отвеса.
- Рулетка и острый нож.
- Топор, молоток. Для установки стропил двухскатной крыши понадобится также ударная дрель и другие инструменты.
Чтобы качественно выполнить мансардные работы, а главное быстро, не стоит экономить на инструменте. Лучше купить один раз надежный комплект, чем постоянно бегать в магазин строительных материалов, когда в очередной раз сломается что-либо.
Что такое мауэрлат и как его делают?
Под мауэрлатом подразумевается основание стропил. Его обычно делают из бруса либо из очень прочной доски. Мауэрлат кладется на длинных стенах здания, если предполагается строительство двухскатной мансардной крыши. Данное основание необходимо, чтобы обеспечить качественное крепление нижней части стропил. Мауэлат также нужен, чтобы равномерно распределять нагрузку на стены дома.
Чтобы закрепить искомую конструкцию, понадобятся шпильки из металла, которые нужно установить в бетонной балке монолита. Еще одним вариантом крепления может быть специальная проволока, которую помещают в кирпичную кладку. Чтобы основание прослужило длительное время, нужно обеспечить хорошую гидроизоляцию бруса. Он не должен мокнуть под дождем. Стоит избегать повышенной влажности. Можно приобрести рубероид.

Бывает, что при возведении каркаса крыши собственными силами стропила касаются верхней части стены своей скошенной стороной. В таком случае без монтажа мауэрлата не обойтись.
В некоторых проектах ширина мансарды практически такая же, как и ширина дома. В такой ситуации стропила будут касаться опор. Опоры конструируют из специальных балок. Их кладут перпендикулярно длинной стене. Балки монтируются таким же способом, как и мауэрлат. Обязательно потребуется гидроизоляция.
Как сделать опорную конструкцию?
Чтобы сделать качественный каркас для двухскатной мансардной крыши, нужно начать с крепления опор. Они требуются для стоек, которые должны находиться симметрично оси дома. Ширина мансарды будет соответствовать расстоянию между установленными опорами.
Сначала делают арки в форме буквы «П». Устанавливают стойки, после чего связывают их между собой. Стойки делают в основном из качественного бруса. Его сечение должно соответствовать сечению опоры. Стойки нужно располагать вертикально, их следует монтировать по всему отвесу. Важно проверить, насколько ровно закрепили перемычку. Она должна располагаться горизонтально стойкам.
Когда сделали вторую арку, проводится нивелировка всей конструкции. Между арками горизонтально тянут шнур, проверяют размер арок. Если есть необходимость, то проводится демонтаж конструкции. Исходя из положения шнура, монтируют оставшиеся арки. Их количество напрямую связано с шагом стропил, которое отражается в проекте. Каждый из них монтируется к стойке. В таком случае каркас имеет нужную жесткость.

Некоторые скрепляют стойки с арками с помощью скоб из металла. В процессе использования мансардной площади кровля будет испытывать постоянное давление на вертикальные стойки. Чтобы обеспечить надежность конструкции, лучше установить дополнительные раскосы. Каждая арка соединяется вверху деревянной перемычкой. Она располагается параллельно одной из стен дома.
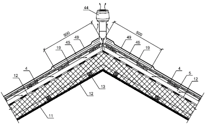
Как правильно установить стропильные ноги?
Монтаж стропильной системы мансардной двухскатной крыши обычно проходит в несколько этапов.
Заготавливается два типа стропильных ног. Те, которые располагаются внизу, обычно имеют острый угол. Они объединяют мауэрлат со стойками. Верхние стропила устанавливаются сразу на арочную конструкцию. Стропила мансардной двухскатной крыши должны быть надежно закреплены. Перед тем как приступить к монтажу таких ног, необходимо нанести предварительную разметку на место, где они будут располагаться. Монтаж начинается с крайних стропил к фронтону. В некоторых случаях необходима подрезка.
Когда в проекте указано, что у кровли должны быть свесы скатов, то в стропильной ноге делается специальный вырез. В итоге элемент должен касаться опоры горизонтальным срезом. Крепление осуществляется с помощью металлических скоб или посредством гвоздей. Чтобы стропильные ноги с мауэрлатом соединялись более надежно, их лучше дополнительно закрепить обожженной проволокой. Ее диаметр должен быть не больше 4 миллиметров. Допустимо использовать проволоку диаметром 3 миллиметра. Таким же образом происходит крепление оставшихся нижних стропил.
При строительстве особо крупных домов, длина которых больше восьми метров, профессионалы советуют ставить стропило с коньковым брусом. С помощью такой конструкции нагрузка распределяется равномерно по всему получившемуся каркасу.

В центре каждого фронтона потребуется установить стойку. Не стоит забывать о проверке вертикальности с помощью отвеса. Коньковый брус должен устанавливаться сверху, горизонтально.
Почему важно точно определять высоту конька в каждом проекте?
Многие люди не уделяют должного внимания такому важному вопросу, как высота конька. Ее нужно определять правильно. От полученного значения будет зависеть угол наклона у верхних стропил. Получается, что стропильные ноги с одной стороны должны касаться конькового бруса, а с другой – возведенной арочной системы.
Бывает, что верхние стропила образуют собой букву «Л». В таком случае ноги будут идти при соединении встык. Иногда прибегают к использованию специальных накладок. Они могут быть из дерева или из металла. Как правило, первая пара стропил, если их установили правильно, в дальнейшем используется в качестве шаблона.
Что входит в последний этап возведения кровельной конструкции?
На завершающем этапе работы делается монтаж обрешетки. Его допустимо проводить своими руками, не прибегая к посторонней помощи. Происходит укладка гидроизоляции. Следует помнить, что обязательно нужно сделать просвет для вентиляции. Укладывается кровельное покрытие. С внутренней стороны мансарды происходит монтаж теплоизоляции, а также пароизоляции. Важно хорошо закрепить обшивку.
Как правильно утеплить двухскатную мансардную крышу?
Крыша должна обеспечивать сохранение тепла внутри дома и защищать от погодных условий. Часто встречается, что в комнате под мансардной крышей становится холодно даже при включенном отоплении. В таком случае приходится утеплять крышу для того, чтобы она удерживала тепло в помещении. Утепление двухскатной мансардной крыши потребует времени и ответственного подхода к работе.

Стоит помнить, что придется утеплять каждую составляющую деталь мансардной крыши. Первым делом нужно подобрать качественные материалы для утепления.
Как правильно выбрать утеплитель?
К утеплителю высокого качества предъявляются соответствующие требования:
- Нужно использовать водоотталкивающий материал. В нем не должна задерживаться влага, иначе увеличится теплопроводность покрытия, а другие не менее важные свойства будут утеряны.
- Используемый материал должен сохранять исходную форму. Такое свойство очень важно при эксплуатации здания. Если форма не будет держаться, то со временем она будет «уходить» к нижнему ярусу кровли, верхняя часть станет доступной для проникновения ветров.
- Утеплитель не должен терять свое качество долгое время, чтобы не пришлось ремонтировать крышу спустя год эксплуатации.
- Материал должен быть безопасным для человека и соответствовать всем требованиям. Важно выбирать экологически чистый материал. Нельзя использовать покрытия, которые будут выделять токсичные вещества.
- Следует выбирать материал, который будет устойчивым к перепадам температуры в конкретном регионе. Если человек живет в условиях холодного климата, то в первую очередь нужно обращать внимание на такой показатель, как морозостойкость выбранного материала.
Не стоит пренебрегать техникой безопасности при работе с материалом, а также при его эксплуатации. Важно приобретать такой продукт, который не будет легко воспламеняться.
Какие существуют способы утепления?
К основным методам утепления крыши относятся:
- Когда утеплитель укладывают в промежутке между стропил.
- Бывает, что материал укладывают непосредственно на стропила.
Широко распространен в наше время первый способ укладки. Он является самым простым для утепления крыши своими руками.
Чтобы кровля долго служила, при укладке утеплителя необходимо следовать общепринятым правилам. Если допустить ошибки при утеплении мансардной крыши, то материал может начать поглощать влагу. В итоге может начаться процесс гниения кровли.
Какие бывают ошибки при работе?
Новички при работе с утеплителем часто совершают ряд ошибок, которые ведут к разрушению кровли. К ним относятся:
- Бывает, что забывают проложить слой гидроизоляции.
- В некоторых случаях искомый слой гидроизоляции не закрепляют. В результате слой утеплителя может сместиться и начать пропускать холодный воздух внутрь помещения.
- Часто в процессе работы забывают про необходимость установки вентиляционного зазора. Конденсат накапливается, что ведет к постепенному гниению кровельного материала.
- Редко встречается отсутствие пароизоляции, но это тоже недопустимо для нормального функционирования кровельной системы с утеплителем.
В каком порядке следует проводить работу по утеплению кровли?
Перед началом утеплительных работ необходимо составить план работы и четко его придерживаться. Профессионалы советуют выполнять следующий алгоритм действий:
- Следует померить расстояние между стропилами.
- Материал для утепления нужно брать с небольшим запасом.
- Укладывается гидроизоляция. Следует проводить укладку материала между брусьями таким образом, чтобы он плотно ложился на исходную конструкцию. В итоге он должен быть надежно закреплен на месте.
- Процесс укладки осуществляется снизу вверх. Чем будет меньше швов, тем качественнее будет выполнена работа.
- Следует помнить, что в итоге не должно остаться зазоров, иначе будут значительные теплопотери.
- Между утеплителем и другими слоями требуется оставлять пространство, расстояние должно быть не меньше двух сантиметров. Следует помнить, что материал утеплителя постепенно начинает расширяться в процессе эксплуатации.
- Чтобы воздух мог свободно циркулировать, нужно оставлять вентиляционный зазор.
- Необходимо следить, чтобы материал при установке не провисал. Для этого не нужно оставлять слишком больших зазоров при резке утеплителя.
- Следующим шагом будет покрытие равномерным слоем пароизоляцией всей поверхности.
- Важно закрепить слой теплоизоляции брусьями из дерева или рейками. Рейки могут браться в качестве основания для внутренней отделки помещения.
Какие бывают виды утеплителя?
Различают несколько разновидностей утеплителя:
- «УРСА» считается самым современным материалом для утепления двухскатной мансардной крыши. В его основе лежит штапельное волокно. Оно обрабатывается по специальной системе. Считается, что это один из самых стойких утеплителей. Он продается в виде матов. Их размер обычно 1200 на 4200 миллиметров. Толщина одного мата – 150 миллиметров. Важно перед применением дать им расправить форму. За несколько минут они приобретают нормальный вид.
- Стекловата является одним из самых давно используемых материалов для утепления крыш. Она имеет свои недостатки, поэтому в наше время используется достаточно редко.
fb.ru
Утепление кровли на мансардном этаже: отчет самостройщика
В небольшом отчете хотел бы рассказать о способе утепления мансарды в доме из газобетонных блоков. Изначально дом планировался одноэтажный, с двускатной крышей и небольшим чердаком. Но потом ко мне пришло понимание, что этот чердак не особенно мне и нужен. Зачем? Лучше уж сделать немного выше стены над потолком первого этажа, утеплить скаты и, в конце концов, построить теплую мансарду.
По сути, тот же чердак, но пригодный для проживания. Денежные средства и усилия, которые нужно было затратить на задуманное предприятие, показались мне мизерными, по сравнению с перспективой получения дополнительного жилого пространства. И я принялся за работу. Попробую объяснить, как это было, учитывая все тонкости и нюансы этого, в принципе, несложного дела.
Внутреннее помещение мансардного этажа в плане может иметь разные формы – треугольник, трапеция, сложная ломаная линия. Я выбрал самый оптимальный вариант – трапеция или треугольник с обрезанным верхом. То есть помещение в мансарде будет иметь наклонные стены, но ровный потолок. Чтобы этот потолок получить, пришлось поперек стропил сверху пустить балки перекрытия. Сверху сформируется небольшой холодный чердачок (холодный треугольник), снизу – мансарда. Контур утепления будет кинут вдоль скошенных стен мансарды (по скатам) и перекрытию из балок. Оставшийся холодный треугольник сможет вентилироваться через слуховые окна фронтонов.

Поперечные балки, образующие потолок мансарды

Общий вид дома, кровля которого покрыта металлочерепицей, но еще не утеплена изнутри
В интернете есть масса схем утепления мансарды, но не все из них правильные. После долгих раздумий, я выбрал самую простую и, по моему мнению, разумную последовательность пирога утепления, состоящую из трех основных слоев.

Схема, которая была использована для работ по утеплению
Первый слой – гидроизоляция – пленка или мембрана, идущая по обрешетке кровли. Ее, как правило, монтируют снаружи крыши, когда выполняют укладку кровельного покрытия. Гидроизоляция защищает кровельное пространство и утеплитель от влаги, поступающей извне, проще говоря, от осадков. Однако пар через нее проходит, то есть гидроизоляция, в строительном понимании этого слова, является «дышащей». Между слоем гидроизоляции и кровельным покрытием должен быть вентиляционный зазор. Он обеспечивается брусками внешней контробрешетки и обрешетки, на которую крепят кровельный материал (у меня это металлочерепица).
Существует еще один нюанс. Гидроизоляционные пленки, как уже было сказано, пропускают воздух и пары, но недостаточно интенсивно. Процесс может вообще затормозиться. Чтобы этого не произошло и все попавшие в кровельный пирог пары могли свободно выйти наружу, между пленкой и утеплителем оставляют еще один вентиляционный зазор. Это правило действует для всех гидроизоляционных пленок, кроме мембран СДМ. Пропускная способность у них намного выше, чем у обычных пленок. Поэтому вентзазора они не требуют, их укладывают непосредственно на утеплитель. Вообще обычные пленки рекомендуют укладывать только на холодных кровлях, при утеплении лучше пользоваться мембранами, чтобы не делать второй вентзазор и не терять драгоценное пространство.
Второй слой – утеплитель (в рулонах, матах, листах). Я считаю, что лучше брать базальтовые и стекловолокнистые утеплители, а не синтетические пенопласты. Ну это как кому нравится, пенопласт не запрещен. Хотя вот вам аргумент «против»: кровли, утепленные пенопластом, часто продуваются. Почему? Стропила деревянные, поэтому они со временем начинают подсыхать, соответственно увеличивается расстояние между ними. Если минеральные утеплители, изначально сжатые между стропилами, также расширяются, то пенопласт сохраняет свою форму. Образуются щели, через которые происходит ненужный в данном случае теплообмен.
Третий слой, укладываемый на утеплитель, – пароизоляционная пленка. Она блокирует доступ к утеплителю влажных паров, идущих с внутреннего помещения мансарды, и, одновременно, не дает влаге, попавшей в утеплитель (если такое произойдет), просочится через потолок. Пароизоляция укладывается вплотную к утеплителю, без вентзазоров.
Теперь, когда теоретическая часть окончена, приступим к практике. Расскажу, как описанный выше кровельный пирог утепления был выполнен в конкретной мансарде.
До начала работ имелось следующее: готовая стропильная система с балками перекрытия по будущему потолку мансарды, кровельное покрытие из металлочерепицы (гидроизоляционная пленка, контробрешетка для вентзазора, обрешетка, металлочерепица).
Слой 1. Гидроизоляция
Гидроизоляционный слой уложен еще до непосредственного утепления, во время кровли крыши. Использованная гидроизоляция – СДМ (супердиффузионная мембрана) Tyvek Soft. Ее уложили с провисом поверх стропил, дотянули до самого конька, не прорезая. Мембрана хорошо пропускает воздух, поэтому делать вентиляционный шов в коньке не нужно. В этом отличие СДМ от обычных пленок, которые либо не доводят до конька, либо прорезают на них шов для коньковой вентиляции. Тогда вдоль конька остается зазор, в который может просачиваться снег и дождевые капли. Сплошной слой из мембраны лишен этих недостатков, он полностью перекроет конек и будет служить барьером для ветра и осадков.
Сверху мембраны оставлен вентзазор и уложена металлочерепица. Под СДМ зазор делать не обязательно (мало того, производитель утверждает, что без зазора она работает лучше), поэтому дальнейшая укладка утеплителя велась впритык к мембране.

Мембрана Tyvek Soft уложена по стропилам снаружи дома
Слой 2. Утеплитель
Для утепления я купил базальтовые плиты Paroc extra. По уверениям продавца этот материал отлично держит тепло, а также практически не впитывает влагу. Попавшая вода просто стекает, не изменяя свойства утеплителя. Высыхают базальтовые плиты тоже без ущерба.
Так как я решил, что общий слой утеплителя должен быть 250 мм, пришлось купить плиты двух типов – толщиной 100 мм и 50 мм. По толщине: 2 плиты по 100 мм + 1 плита 50 мм.
Вначале между стропил (200х50 мм) я втиснул по толщине 2 плиты 100 мм. Материал упругий, поэтому хорошо сжимается и после держит распор. Сверху – закрепил маты шнуркой. Специально для этого дела купил скобозабеватель, с ним шнуровка делается быстро. На этой же стадии утеплил мауэрлат внутри и снаружи.

Утеплитель (маты, толщиной 100 мм, в 2 слоя ), уложенный между стропил

Между поперечных потолочных балок уложенный утеплитель удерживается за счет шнуровки
Далее – слой 50 мм. Так как первый слой уложен вровень со стропилами, места для установки матов 50 мм уже нет. Не беда, выход из этой ситуации нашелся быстро. Поперек стропил я набил бруски 50х50 мм и уже между ними уложил маты, толщиной 50 мм. Закрепил их шнуровкой. Итого получился пирог 250 мм со сдвигом швов, как и требовалось.

Набитые бруски и уложенный между ними слой утеплителя, толщиной 50 мм
Кстати, важный момент: потолок я обшивал полностью, вход на холодный треугольник через мансарду решил не делать, чтобы не терять тепло. Доступ остался через слуховые окна, этого будет достаточно.
Слой 3. Пароизоляция
Задача пароизоляции состоит в защите от попадания в утеплитель теплого влажного воздуха изнутри отапливаемого помещения, а также от воды – с уличного пространства. Для этого использовалась пароизоляционная пленка Delta reflex с практически нулевым паропропусканием. Я посчитал, что фольгированная изоляция лучше сохранит тепло, чем обычная пленка. Хотя можно было и сэкономить, но в общем бюджете стройки это все равно будут копейки. А так – зашил все Delta reflex и уверен, что ничего лишнего не просочится.
Reflex выпускается со встроенным скотчем. Вроде и удобно, но крепить в одиночку оказалось занятием сложным. Скотч, при попытке расстелить изоляцию, приклеивается намертво и не в том месте, где нужно. При проклейке я соблюдал нахлест 20 см, потом сверху закреплял все стыки степлером. Вообще пленка оказалась прочная. Когда я неудачно расстелил разворот и попытался оторвать крайние углы пленки от скрепки, у меня это не получилось. Скрепку пришлось вынимать. Сделал вывод, что с выбором пленки не ошибся!

Пароизоляционная пленка Delta reflex, закрепленная поверх утеплителя
Пленка пароизоляции – последний слой в пироге утепления. После я набью на обрешетку дополнительные рейки контробрешетки для вентзазора и зашью стены и потолок вагонкой или гипсокартоном – еще не решил. Пока это еще не сделано, главное, что к зиме закончено утепление. Отделочные работы буду проводить позже, по мере появления и выделения денег из семейного бюджета.
Благодаря утеплению мне удалось расширить жилое помещение дома и внести в план постройки две незапланированные комнаты. Думаю со временем установить на мансарде радиаторы и подключить их к общей системе отопления дома. В любом случае там будет тепло. Даже при отсутствии отопления теплый воздух с первого этажа будет подниматься вверх и что-нибудь достанется и мансарде. Думаю, что меньше 10-15°C там в любом случае не будет.
На этом считаю план утепления кровли выполненным. Все делалось практически «по учебникам», поэтому я уверен, что зимой в доме будет тепло.
Николай С.
krovgid.com
Утепление мансарды изнутри своими руками
30.03.2018 Опубликовано в рубрике: Внутренняя отделка

На одном только строительстве мансарды дело не заканчивается. Если пришла пора утеплять — изучите этот материал, в нем мы приведем перечень советов по профессиональному монтажу и коснемся таких специфичных вопросов, как составление пирога кровли и защита сложных узлов примыканий.
Подготавливаем мансарду к утеплению
На все время проведения работ очень важно по максимуму освободить и без того не слишком просторные помещения, оставив только необходимый инструмент и приспособления. Стройматериалы лучше подавать на мансарду по мере необходимости.
Обходим и тщательно изучаем изнаночную сторону кровли. Сметаем пыль, паутину, делаем полную уборку помещения. Стропила и обрешетку покрываем из распылителя антисептиком, даже если древесина уже была обработана.
Помните также, что не любую кровлю можно переделать под цели мансарды, не срывая настил. Основное ограничение — ширина вентиляционного зазора непосредственно под кровельным покрытием, который составляет от 35 до 100 мм в зависимости от уклона конкретного ската.
Обойдемся без контробрешетки
Теплоизоляция мансарды будет выполняться в два этапа. На первом все пространство между стропилами заполняется минераловатным утеплителем. Часто застройщик предлагает изнутри набить контробрешетку, чтобы сделать этот слой толще, но в случае с основательно утепленной мансардой это не имеет смысла. Суть в том, что подкровельная изоляция не учитывается в схеме утепления, она установлена лишь для исключения границ со слишком высокой разницей температур, где обычно и образуется конденсированная влага.
На практике это реализовать несложно: по углам между стропилами и обрешеткой кровли прибиваются дистанционные рейки, толщина которых равна вентиляционному зазору. На этих рейках монтируется ограничивающая плоскость, используйте для этого пластиковую садовую сетку, дранку или растяжки из тонкой проволоки. Утеплитель не нужно крепить основательно, гораздо важнее дистанцировать его от гидроизоляции под кровельным покрытием.
Нужно ли капитальное утепление
Мансарда не всегда устраивается как жилое помещение. Если речь о теплом чердаке, то все дальнейшие усилия сводятся к обшивке помещения изнутри стружечными плитами или ДВП прямо по стропилам.
Если же мансарда должна быть действительно теплой, следует прибегнуть к одной хитрости. Суть ее в том, чтобы создать внутри отдельный контур утепления, отделенный от подкровельного глухим гидробарьером. Для его устройства по стропилам горизонтально пробиваются тонкие (15–20 мм) рейки с межосевым шагом, равным ширине рулонного материала. Именно на этих рейках выполняется склеивание горизонтальных рядов пленки и ее качественная фиксация. Распространенная техника герметизации алюминиевым скотчем не обеспечивает достаточной надежности.
Гидробарьер накрывается обшивкой из ОСП или фанеры, по ходу монтажа нужно намечать места установки стропил. В области мауэрлата монтируются вертикальные подпорки к стропилам. Они должны образовывать вертикальную плоскость, являющуюся продолжением ограждающих стен. Смещая эту перегородку внутрь, можно сделать мансарду более теплой в ущерб полезной площади и общим теплопотерям дома. Образовавшаяся клиновидная полость заполняется обрезками подкровельного утеплителя.
Возможно использование и стоечных профилей для ГКЛ сортамента 50 мм. Первый ряд набивается горизонтально, все последующие — перпендикулярно предыдущему. При таком монтаже меняется направление укладки утеплителя, а значит, исключаются сплошные мостики холода.
Укладываем и защищаем утеплитель
Для утепления мансарды не рекомендуется применять пенопласт или пенополистирольные плиты. Наилучшие показатели имеет контур из пеностекла, которое, впрочем, с успехом заменяется минеральной ватой. Плотность ее должна быть достаточно высокой, чтобы материал держал форму.
Если каркас многорядный, утеплитель следует закладывать поэтапно. После монтажа утеплителя его нужно накрыть двухслойным паробарьером, выполняя проклейку по деревянным рейкам или профилю, никакого скотча и крепления скобами. В результате вы получаете внутреннюю теплоизолированную капсулу, гарантированное отсутствие утечек влаги под кровлю и надежный каркас, пригодный для отделки гипсокартоном, ОСП или любым другим материалом.
Угловые примыкания — в чем специфика
Прежде чем приступить к внутренней отделке, убедитесь, что утеплитель уложен непрерывным контуром. Приобретая вату высокой плотности, вы столкнетесь с трудностью фигурных подрезок, а слишком мягкий утеплитель со временем собьется и осядет. Лучше всего использовать каменную вату 60–100 кг/м3. Ее не сложно стыковать, а небольшие зазоры легко заполняются полиуретановой пеной.
Переход от плоского потолка к наклонным стенам.
Сопряжение утеплителя стен с откосами.
Примыкание наклонных стен к сплошному остеклению фронтона.
Стыки между разнородными материалами.
Тонкости подкровельной вентиляции
Проветривание утеплителя под кровлей — тема для отдельного разговора. Однако базовые принципы и физика процессов предельно просты.
Наиболее эффективной считается схема, когда приточной воздух заходит под кровлю через карнизный свес или мауэрлат. Движение воздуха происходит естественным путем благодаря гравитации. Естественно, что чем больше отклонение от вертикали, тем труднее воздуху проходить, а значит, зазор должен быть больше.
Вывод вентиляции находится в зоне конька. Обычно на этом участке устраивают так называемый «холодный треугольник» и устанавливают аэраторы. Важно помнить, что основным источником влаги являются внутренние помещения, особенно при наличии ванной или душевой, либо постоянной сушке белья на мансарде. Поэтому нужно во что бы то ни стало предупредить проникновение влаги сплошным барьером и правильно разнести гидроизоляцию на две зоны, избегая условий, при которых может образовываться и скапливаться конденсат.
sjthemes.com
Утепление мансарды изнутри своими руками: разбор технологии работ
Размеры загородных участков и стремление их хозяев использовать по максимуму плодородный слой почвы убеждает принимать решения о расширении полезных площадей в вертикальном, а не в горизонтальном направлении. Проще и выгоднее обустроить мансарду над банькой, чем пристраивать к ней дополнительную комнату отдыха или сооружать отдельный домик. Правда, приемлемым данный вариант будет лишь в случае, если полезного подкровельного пространства с высотой 2,5 м насчитается более 50%, и если потолок над баней устроен так, что по верхней плоскости его можно без опасений ходить. При наличии перечисленных предпосылок утепление мансарды позволит превратить ее в отличный жилой отсек.

Общие рекомендации по теплоизоляции
- Начнем с того, что конфигурация кровли далека от формы классического куба. Монтировать утеплитель придется на наклонные поверхности. А так как мы рассматриваем утепление мансарды изнутри, то не учесть сложность установки мягких и гибких рулонных материалов невозможно.
- Вспомним, что преобладающее большинство площади верхнего ограждения представляет собой кровельную конструкцию со стропильной системой. Выполнено ее покрытие из предельно легких материалов с высокими гидроизоляционными качествами, но и с немалой теплопроводностью. Деревянные элементы обрешетки стропильной конструкции укладываются с зазорами, не формирующими теплового барьера.
- Учтем, что в мансардном этаже есть не только поверхность кровли, но и как минимум два фронтона и ендова. Оставить без утепления или плохо утеплить их – значит свести к нулю вообще все усилия.
- Не забудем о том, что кровельный материал, не пропускающий атмосферную влагу, одновременно препятствует выводу наружу испарений, естественных для бани и не только для нее.
- Обеспечим безопасность использования жилого помещения, выполнив утепление крыши мансарды материалами с требующимися для обустройства жилья экологическими и гигиеническими характеристиками.

Суммируя вышеизложенные критерии, составим своеобразную формулу из требований, которым должна отвечать сооружаемая система теплоизоляции. Согласно поставленным перед утеплением задачам подберем материал и выясним все технологические нюансы. Для эффективной работы теплоизоляции необходимо, чтобы:
- слой утепления полностью покрывал внутренние поверхности без «прорех» в своеобразном ковре, чтобы в теплоизоляционной системе не было слабых мест в виде незащищенного конька и незакрытых изолятором фронтонов;
- изоляционный материал, противостоящий атакам холодного атмосферного фронта снаружи и теплого влажного фронта изнутри, был защищен от конденсата, образованного в результате их противоборства;
- на наружной поверхности теплоизоляционного слоя не скапливалась влага, не пропущенная наружу гидроизоляционным кровельным покрытием, чтобы избыток увлажнения удалялся через вентиляционные каналы;
- легкий кровельный утеплитель был оснащен ветрозащитой, исключающей выдувание из мансарды тепла в ветреные дни;
- материал подходит по техническим, технологическим и санитарно-гигиеническим параметрам.
Перечисленные требования – развернутый ответ на вопрос «как правильно утеплить мансарду». Если система теплоизоляции будет соответствовать всем условиям, то и служить она будет долго и работать эффективно.
Выбор подходящего утеплителя
С технологической точки зрения для создания теплоизоляционной системы изнутри лучше всего подойдут плиты. Используя держащий форму материал проще, быстрее и удобнее выполнить утепление мансарды своими руками с минимальным количеством дополнительных фиксирующих устройств. Для их правильной установки к стропилам прибивают продольные бруски с размерами, позволяющими обеспечить вентиляционный зазор. Внешняя плоскость брусков должна совпадать с внешней плоскостью элементов стропильной системы, внутренняя плоскость теплоизоляционного материала должна совпадать с внутренней плоскостью стропил.

Обратите внимание. Если мощность выбранного утеплителя будет больше ширины стропила, к каждому из элементов стропильной системы придется прибить или установить на шурупы дополнительный брус. Деревянные дополнения перед установкой обязательно обрабатываются антисептиком.
В любом случае, как при достаточной, так и при недостаточной ширине стропил вентиляционное пространство между утеплителем и кровельным материалом должно быть оставлено.
Показатели теплотехнических качеств материала определяют климатические особенности региона. Выяснить их поможет сборник строительных нормативов под номером 23-02-2003. Согласно указанному в СНиПе показателю нужно подбирать материал.
Чем рекомендуют утеплять мансарды? Давайте разберемся:
- Пенопласт – бюджетный материал и удобный способ утепления. Легковесные плиты несложно будет установить, теплоизоляционная система несущественно увеличит вес кровли. Однако слабая способность проводить пар и привлекательность в качестве лакомого блюда для мышей заставляют задуматься о том, стоит ли проводить утепление мансарды пенопластом.
- Минвата – тоже удобный и демократичный вариант. Раскроенные в размер на пару см больше промежутка между стропилами плиты легко устанавливаются. Перед монтажом элемент утепления нужно немного сжать и расположить в требующемся месте. Расправившись, упругая минеральная вата будет прочно «сидеть» в своем гнезде. В качестве практически равнозначной альтернативы может быть применена стекловата.
- Пенополистирол укладывают обычно поверх стропильной системы, формируя вентиляционный зазор путем установки контрообрешетки между плитами утеплителя и кровельным покрытием. Для утепления кровельной системы изнутри он не подойдет, но может использоваться для утепления фронтонов.
- Пенополиуретан – без проблем наносимый на поверхность любой сложности путем напыления. Исполнителю с портативной установкой, поставляющей под давлением вспененное утепляющее вещество, подвластны плоскости с любым уклоном. Утепление мансарды пенополиуретаном позволит создать монолитный слой без малейших зазоров. К тому же не нужен будет пароизоляционный слой, защищающий внутреннюю отделку от воздействия конденсата.
- Эковата – теплоизолятор из разряда напыляемых материалов. По свойствам аналогична древесине, в составе ее есть антисептик, препятствующий порче утепляющего слоя и контактирующей с ним древесины. Также как предыдущий аналог создает сплошной покров, не проседающий в процессе многолетнего использования. Для утепления эковатой необходимо будет смонтировать подшивной потолок и установить обрешетку для крепления к ней пароизоляционного материала.
- Фольгированные материалы, работающие не только в качестве утеплителя, но и в качестве зеркального отражателя стремящегося выйти наружу тепла. Для того чтобы фольгированный теплоизолятор выполнял работу на «отлично», развернуть его при установке нужно алюминиевым слоем внутрь помещения и оставить между ним и пароизоляционным слоем расстояние в 5 см.

Список вполне достаточный, чтобы было на чем остановить внимание, но наиболее востребованными материалами для утепления изнутри признают минеральную вату. Напыление пенополиуретаном популярно, но не всем доступно из-за отсутствия аппарата, который, впрочем, можно взять на время в аренду в строительной организации. Осталось только выяснить, как утеплить мансарду своими руками и получить отменный результат.

Каким должен быть правильный конструктивный пирог?
Утрированно теплоизоляционная система представляет собой следующий конструктивный пирог, если начать перечисление слоев со стороны обустраиваемого пространства:
- Облицовка из плит гипсокартона.
- Пароизоляционный слой, предпочтительно вариант типа мембраны. Представляется собой сплошную оболочку, созданную из уложенных с 10-сантиметровым нахлестом полос рулонного материала. Полотна крепятся по горизонтальным и вертикальным стыкам специальной клейкой лентой.
- Обрешетка, выполняющая три функции. Прикрепленные поперек стропил рейки удерживают утеплитель, служат основой для фиксации пароизоляции и формируют вентиляционное пространство, особенно необходимое при использовании фольгированного материала.
- Утеплитель, уложенный в один или несколько слоев в зависимости от создаваемого теплотехнического эффекта. При утеплении мансарды со стороны помещения монтируется между стропилами.
- Гидроизоляционная прослойка, защищающая утеплитель от намокания, следствием которого является уменьшение теплотехнических свойств.

Обратите внимание. Строители, досконально знающие, как утеплить мансарду, настоятельно советуют оставлять вентиляционный зазор между теплоизоляционным материалом и гидроизоляцией. По технологическим нормативам его отсутствие считается грубейшей ошибкой.
- Очередная контробрешетка, создающая вентилируемое пространство между гидроизоляцией и кровельным материалом. Вентиляция в данном случае необходима для удаления влаги, скапливающейся на гидроизоляционной мембране. Для отвода влаги обеспечиваются отверстия в зоне основания скатов и в районе ендовы. Ширину зазора для вентиляции определяет кровельный материал. Если крыша покрыта черепицей, шифером, профнастилом или волнистым ондулином, достаточно оставить 25 мм, если плоским материалом без профильного рельефа нужно оставить 50 мм.
- Ветрозащитная пароизоляция, оснащающая вентиляционное пространство. Нужна она для сохранения тепла в случае активной вентиляции в вентзазоре. Укладывается над стропильными ногами, крепится рейками, поверх которых монтируют кровельное покрытие.

Выполняя утепление мансарды своими руками с соблюдением всех тонкостей, собственник бани с мансардой обеспечит себя комфортабельным жилым пространством, устраняющим необходимость возводить на дачном участке дом. Для обустройства мансардной кровли под жилье не нужно получать разрешений и испрашивать согласия соседей. Зато польза и экономический эффект очевиден.
Оцените статью: Поделитесь с друзьями!stroy-banya.com
Утепление мансарды изнутри своими руками для зимнего проживания
Для увеличения жилой площади загородного дома совсем необязательно закладывать дополнительные квадратные метры на этапе проектирования или сооружать дополнительную пристройку. Достаточно обратить внимание на чердачное помещение — там можно обустроить удобный кабинет, бильярдную, игровую комнату для детей или гостевую спальню. А чтобы использовать это место и в летний зной, и в зимнюю стужу, понадобится качественная теплоизоляция стен и кровли. О том, как правильно утеплить мансардный этаж и что для этого нужно, расскажем более подробно.
Особенности утепления мансардной крыши
Специфика мансардных помещений заключается в том, что они практически не имеют собственных стен — в их роли выступают тонкие перегородки, установленные на расстоянии не более 120–180 мм от крыши. Являясь отличным проводником тепла, кровля способствует чрезмерному нагреву помещения летом и быстрому остыванию при отрицательных температурах. Усугубляет ситуацию значительная площадь крыши, которая во многом определяет внешние контуры мансардного этажа.
Для устройства мансарды лучше всего подходит двухскатная крыша ломаного типа, которая полностью определяет габариты жилого подкровельного помещения
Сделать это помещение комфортным для круглогодичного проживания можно с помощью качественного утепления, способного предотвратить теплопередачу сквозь потолочные и стеновые панели. Не меньшего внимания требуют и участки чердачного перекрытия, которые находятся за пределами пола мансарды. Их следует утеплять не менее тщательно, чем стены и кровлю.
Для архитекторов и специалистов мансарда — это не просто обустроенный в жилых целях чердак, а помещение, отвечающее определённым критериям. Так, высота мансардного этажа не может быть ниже 2,4 м, а его потолок обязательно должен формировать наклонный скат крыши.
Представляя себе трудности, с которыми придётся столкнуться, не следует забывать о том, что монтировать утеплитель нужно на поверхностях, сформированных элементами стропильной системы крыши. А это не только неудобство в укладке теплоизоляции, но и возможность появления мостиков холода. Даже неспециалисту понятно, что при соприкосновении тёплого воздуха с холодной поверхностью будет появляться влага, вызывающая образование грибка, гниение материалов и т. д. К слову, влаго- и пароизоляция помещения является не менее важным мероприятием чем утепление. Повышенная влажность не только приводит к гниению большинства утеплителей, но и является причиной снижения их теплоизоляционных свойств. По этой причине слой утеплителя следует обязательно защищать гидробарьером со стороны кровли и пароизоляционной мембраной со стороны жилого помещения.
Для защиты утеплителя от намокания со стороны кровли и жилого помещения используется гидроизоляционная плёнка и паронепроницаемая мембрана
Выполняя утепление потолка мансарды, не следует забывать о необходимости организации вентиляционного зазора между слоем теплоизоляции и влагонепроницаемой плёнкой. Он необходим для своевременного удаления конденсата, образующегося при соприкосновении горячего и влажного воздуха, прошедшего через утеплитель, с холодной поверхностью плёнки и снижения температуры в зоне расположения этих материалов, что способствует увеличению их долговечности.
При проведении работ по теплоизоляции мансардного этажа нужно учитывать следующие моменты:
- выбор утеплителя в значительной степени зависит от особенностей стропильной системы кровли;
- чтобы избежать лишних затрат, понадобится точный расчёт толщины слоя теплоизоляции;
- технология монтажа зависит как от типа материала, так и от способа теплоизоляции (наружная или внутренняя), а также конструкции кровли;
- для защиты утеплителя от грибка и плесени, а также сохранения его эксплуатационных свойств используют влаго- и пароизоляцию;
- чтобы обеспечить проветривание подкровельного пространства, необходимо предусмотреть вентиляционный зазор.
При утеплении мансарды не следует забывать о необходимости вентиляционного зазора между теплоизоляционным материалом и кровлейРассчитывать на качественное утепление и долговечность теплоизоляционных материалов можно только при выполнении всех пунктов из этого списка. Далее мы расскажем о том, как это сделать с минимальными затратами.
Если устройство мансарды предусматривается ещё на этапе проектирования, то чаще всего контуры помещения задают, устанавливая двухскатную ломаную крышу. В этом случае покатые поверхности кровли играют роль потолка, а более отвесные скаты формируют стены. В случае обустройства мансарды под обычной двухскатной крышей с углом наклона от 45 до 60 градусов со стороны скатов устанавливают стены высотой не менее 1,20 м. При этом ширина и высота комнаты должна быть не менее 2,20 и 2,40 м соответственно.
Какие материалы лучше всего подходят для утепления мансарды
Для теплоизоляции мансардного помещения подходит большинство утеплителей, которые можно использовать в жилых помещениях. Главное, чтобы выбранный материал отвечал следующим требованиям.
- Устойчивость к критическим температурам. Утеплитель должен выдерживать многочисленные циклы замерзания и оттаивания в холодное время и не разрушаться в летнюю жару.
- Срок эксплуатации утеплителя должен превышать долговечность других материалов кровельного пирога — это связано со сложностью его замены.
- Теплопроводность не ниже 0,05 Вт/м*К. Столь низкое значение обусловлено тем, что каждый дополнительный сантиметр утеплителя уменьшает полезный объём помещения.
- Влагостойкость. Материал должен иметь гидрофобные свойства и сохранять их при высокой влажности.
- Плотность не более 50 кг/м3, иначе будет превышена допустимая нагрузка на элементы стропильной системы.
- Пожаробезопасность. Теплоизолирующий слой должен быть устойчивым к воспламенению и не поддерживать горение.
В большинстве случаев утеплитель укладывается на покатые поверхности, поэтому он в течение всего срока службы должен сохранять первоначальную конфигурацию, не комковаться и не сползать вниз. Всем рассмотренным критериям в той или иной мере отвечает несколько совершенно разных по составу и способу укладки материалов. Чтобы сделать правильный выбор, рассмотрим их особенности и возможности использования для того или иного способа теплоизоляции.
Пенопласт
Популярность таких газонаполненных пластмасс, как пенопласт или пенополистирол, обусловлена доступной ценой, низкой теплопроводностью и повышенной устойчивостью к влажной среде. Они имеют небольшой вес и легко монтируются, однако быстро воспламеняются и горят с выделением ядовитого дыма. Пенопласт является не лучшим вариантом для утепления кровли и стен мансарды, но его можно использовать там, где он будет скрыт под слоем стяжки или штукатурки, например, на полу помещения или фронтоне.
Пенопласт чаще всего используется в целях экономии, поэтому нередко его сочетают с другими теплоизоляционными материалами
Экструдированный пенополистирол
В отличие от обычного пенопласта, экструдированный пенополистирол (ЭППС) имеет более высокую плотность и поэтому не крошится при монтаже. Он не загорается даже от открытого пламени, не боится влаги и обладает высокой теплоизоляционной способностью. Для утепления требуется довольно тонкий слой ЭППС, поэтому его можно использовать для укладки поверх обрешётки.
Высокая жёсткость пенополистирольных плит позволяет использовать их для утепления как изнутри, так и снаружи мансардного помещения
Пенополиуретан
Являясь всё той же газонаполненной пластмассой, пенополиуретан (ППУ) имеет преимущество перед любым другим утеплителем. Всё дело в том, что его напыляют на поверхность в виде жидкой пены — это позволяет заполнить все щели и зазоры. После схватывания материал становится жёстким и во время всего срока службы сохраняет первоначальную форму. ППУ не боится влаги и не горит, однако его низкая паропроницаемость вынуждает принимать меры по устройству искусственной вентиляции.
Монтаж пенополиуретановой теплоизоляции требует специального оборудования, поэтому его лучше поручить профессионалам
Искусственные ватные утеплители
Основными преимуществами стекловаты и минеральной ваты является экологическая безопасность, высокая звуко- и теплоизоляционная способность, пожаробезопасность и низкая стоимость. Искусственные ватные утеплители хорошо держат форму и способны прослужить не один десяток лет. Эти материалы устойчивы к высокой температуре и замерзанию, но боятся влажной среды. Конечно же, у них есть и значительные минусы. Так, при намокании ватные утеплители теряют более 60% свойств и не восстанавливают их после высыхания. Тем не менее при правильном монтаже с использованием гидро- и пароизоляции минеральную и стеклянную вату можно считать одним из лучших материалов для утепления мансарды изнутри.
Минеральная вата является одним из лучших вариантов для утепления чердачного помещения изнутри
При теплоизоляции мансардных помещений приходится иметь дело в основном с наклонными или вертикальными поверхностями. По этой причине лучше всего использовать утеплители не рулонного, а плитного типа.
Эковата
Эковата имеет все достоинства рассмотренных выше искусственных теплоизоляционных материалов. В её состав входит до 80% целлюлозного волокна — оно-то и делает эковату экологически безопасной и наделяет способностями, недоступными для других утеплителей. Так, при увлажнении минеральной или стеклянной ваты всего на 1% их теплопроводность вырастает на 10%. Достичь такого же падения теплоизоляционных свойств эковаты можно лишь при насыщении материала влагой практически на 50%. Важно и то, что при высыхании утеплителя практически полностью восстанавливаются его теплофизические свойства. А это значит, что эковату не потребуется менять даже в случае протечек, связанных с повреждением кровельного покрытия.
Самостоятельно эковатой можно утеплить только основание пола — для теплоизоляции стен и потолка понадобится специальное оборудование
Видео: как выбрать утеплитель для мансарды
Способы теплоизоляции крыши, стен и пола
В зависимости от типа крыши внутреннюю конфигурацию мансардного помещения могут формировать исключительно кровельные скаты и фронтоны или совместно с ними ещё и стеновые перегородки. В отличие от перекрытия, теплоизоляция которого выполняется со стороны чердака, крышу и фронтоны можно утеплять не только изнутри, но и снаружи. Для того чтобы выбрать оптимальный способ, разберёмся с каждым из них в деталях.
Теплоизоляция поверх стропильной системы
Утепление по несущему каркасу применяют тогда, когда теплоизоляция дома выполняется по фасаду, а элементы стропильной системы используются в качестве декоративных элементов мансарды. Этот способ обустройства чердачного пространства возможен на этапе строительства (утепление крыши и стен мансарды выполняют одновременно с теплоизоляцией внешних стен здания) или после демонтажа кровельного покрытия.
Утепление поверх стропил может выполняться только до укладки кровельного покрытия
Достоинства такого способа очевидны:
- не скрадывается внутреннее пространство мансарды, что особенно важно при ограниченной площади чердака;
- исключается провисание и деформация используемых материалов;
- сплошная укладка утеплителя обеспечивает отсутствие мостиков холода;
- снижается трудоёмкость монтажа;
- повышается качество и надёжность укладки всех слоёв защитного покрытия.
При закладке утеплителя поверх стропильной системы экономится полезная площадь мансарды и повышается качество теплоизоляции кровли
Для утепления мансарды поверх стропильной системы лучше всего подходит экструдированный пенополистирол в виде жёстких плит, поскольку для других материалов требуется установка контрреек. Немаловажно и то, что влагостойкость ЭППС позволяет использовать его без паронепроницаемой мембраны, а это не только упрощает монтаж, но и снижает его стоимость. В этом случае пирог теплоизоляции выглядит так:
- листовая обшивка;
- плиты экструдированного пенополистирола;
- диффузная гидроизоляция.
Для монтажа кровельного материала в остальных случаях используется контробрешётка и обрешётка, которая устанавливается поверх слоя теплоизоляции. Такая схема позволяет обеспечить требуемые размеры вентиляционного зазора, необходимого для длительной эксплуатации конструкции.
Теплоизоляционный материал, уложенный поверх стропил, вентилируется через щели в карнизных свесах, коньковый узел и специальный воздушный промежуток до гидроизоляционной плёнки
Утепление внутри несущего каркаса
Установку теплоизоляции в пространство между стропилами можно проводить в любое время — как на этапе строительства, так в уже эксплуатируемом доме. И в том и в другом случае для утепления мансарды лучше всего подходят ватные материалы. Обусловлено это тем, что жёсткая конструкция стропильной системы не позволяет монтировать плитную теплоизоляцию без зазоров. Даже если плиты будут подогнаны идеально, со временем между ними и стропилами появятся щели, которые вызывают как усыхание древесины, так и термические деформации всех составляющих конструкции.
Укладку теплоизоляционного слоя между стропилами можно осуществлять как при строительстве кровли, так и после его окончания
В общем случае кровельный пирог, обустроенный внутри кровельного каркаса, включает в себя следующие слои:
- обшивка из вагонки или других отделочных материалов;
- контробрешётка;
- паронепроницаемая мембрана;
- утеплитель;
- диффузная гидроизоляция;
- обрешётка.
Необходимость в верхней контробрешётке в этом случае отпадает — для вентиляции будет достаточно зазора между утеплителем и кровлей, равного толщине реек обрешётки. Не менее очевидно и то, что при монтаже теплоизоляции со стороны кровли можно использовать как рулонную, так и плитную теплоизоляцию. В случае когда работы проводятся со стороны чердака, удобнее всего работать с утеплителями в виде плит. К слову, если вы по той или иной причине решите всё же использовать пенополистирол, то можете отказаться от установки паронепроницаемой мембраны по ранее изложенным причинам.
При утеплении кровли со стороны помещения удобнее всего использовать теплоизоляцию плитного типа
Если расчётный слой утеплителя превышает толщину стропил, то на каждый опорный элемент набивают дополнительный брус. Как и другие деревянные элементы конструкции, он должен быть обязательно обработан антисептиком.
Монтаж утеплителя изнутри поверх несущего каркаса
Выше мы уже отмечали, укладка теплоизоляционного материала внутри кровельного каркаса имеет существенный минус из-за возможности образования мостиков холода. Как правило, они спровоцированы двумя факторами. Первый — это необходимость в посекционном размещении полотнищ или плит изоляционного слоя — подобный способ укладки не позволяет полностью устранить все зазоры и щели. Второй проистекает из различия в коэффициентах теплопроводности древесины кровельного каркаса и утеплителя. Для того чтобы переместить точку росы за пределы теплоизоляционного пирога, утеплитель монтируют поверх стропил.
Способ утепления, при котором утеплитель монтируется поверх внутренней стороны стропил, позволяет устранить мостики холода, однако уменьшает объём помещения
Преимущества этого способа очевидны:
- монолитная укладка утеплителя позволяет устранить зоны температурных перепадов;
- образуется свободное пространство между стропильными ногами, которое улучшает вентиляцию теплоизоляционного слоя;
- появляется возможность использования металлических элементов кровельной системы.
Укладка утеплителя с полным перекрытием стропил является весьма удачным решением, хотя и применяется намного реже двух предыдущих способов. Причиной этому является смещение стен и потолка внутрь помещения. Тем не менее, если уменьшение габаритов мансарды на 10–30 см с каждой стороны для вас некритично, описанный здесь вариант позволит создать для кровельной конструкции более комфортные условия.
Особенности утепления пола и фронтонов
Для теплоизоляции пола мансардного этажа лучше всего подходят материалы, которые можно без труда уложить в пространство между лагами или поверх черновой стяжки. Сверху утеплитель закрывают шпунтованной доской, плитами ДСП, фанерой или ламинатом. При этом со стороны черновой стяжки необходимо уложить слой гидроизоляции. Если же для утепления используется эковата или керамзит, то на подшивном потолке выполняют сплошную обрешётку, закрытую пароизоляционной мембраной.
Для утепления пола мансарды удобно использовать плитные материалы, уложенные на гидроизоляционную плёнку
Для снижения стоимости строительных работ пол мансарды можно утеплять обычными опилками. Для этого поверх перекрытия раскатывают слой рубероида, а сверху насыпают 15–20 см мелких древесных отходов, смешанных с известью. Её добавляют для того, чтобы в слое утеплителя не заводились грызуны.
В тех случаях, когда роль боковых стен играют не кровельные скаты, а вертикальные перегородки, чердачное перекрытие дополнительно утепляют не только со стороны мансарды, но и как минимум на 0,5 м в каждую сторону. Если часть потолка обустраивается отдельно от кровли, то его утепление проводят одновременно со стенами. Подобная практика даёт возможность снизить утечки тепла в тех местах, где потолок стыкуется с кровельными скатами.
Стены мансарды, роль которых играют фронтоны или торцевые части крыши, должны утепляться независимо от того, какие материалы использовались для их сооружения. Лучше всего, если их утепление будет выполняться в рамках работ по теплоизоляции фасада — в этом случае точка росы будет смещаться наружу здания. При невозможности монтажа защитных материалов снаружи их крепят со стороны помещения. Для этого на расстоянии от фронтона устанавливается каркас из оцинкованного металлопрофиля или деревянных брусков, а сам утеплитель укладывается между слоями гидро- и пароизоляции.
Для утепления фронтона изнутри на нём сооружают каркас из деревянных брусков или металлопрофиля, внутрь которого закладываются плиты теплоизоляционного материала
Видео: устройство и утепление мансардной крыши
Технология утепления мансардного помещения
Перед тем как описывать технологию утепления мансарды, ещё раз отметим, что в зависимости от типа выбранного материала теплоизоляцию можно выполнять двумя способами — поверх несущего каркаса и в пространстве между стропилами. Для первого варианта подходит только жёсткая пенополистирольная теплоизоляция, тогда как второй позволяет использовать любой рулонный или плитный материал.
Пошаговая инструкция по монтажу теплоизоляции поверх несущего каркаса
- По стропилам монтируют сплошную обрешётку из досок или листов OSB (можно заменить влагостойкой фанерой). Для крепления деревянного основания используют оцинкованные саморезы.
- Чтобы предотвратить сползание теплоизоляции, к нижней части стропильных ног прибивают брус или рейку.
Предотвратить сползание утеплителя поможет стартовая доска (фиксирующий брус), которую крепят на уровне внешних стен здания - На подготовленную обрешётку укладывают плиты из экструдированного пенополистирола. Работу начинают от фиксирующего бруса, а для крепления используют дюбельный крепёж с широкими шляпками. Лучше всего брать плиты ЭППС с пазогребневой кромкой — в сочетании с укладкой в шахматном порядке плотный стык исключит возможность малейших зазоров.
Для утепления кровли лучше всего подходит пенополистирол с пазогребневой кромкой — в этом случае исключаются любые зазоры и неплотности - Поверх ЭППС укладывают гидроизоляционную мембрану. Полотнища плёнки расстилают перпендикулярно стропилам, начиная от стартового бруса. Для предотвращения возможных протечек каждую полосу влагозащитного материала напускают на предыдущее полотно не менее чем на 10–15 см, а стыки между ними герметизируют специальным скотчем.
- Для того чтобы создать вентиляционный зазор, к стропилам крепят брус контробрешётки сечением 40х40 мм или 50х50 мм, а поверх него — обрешётку.
Расстояние между досками обрешётки должно учитывать тип используемой кровли. При этом такие материалы, как шифер, ондулин, кровельное железо и металлочерепица крепят непосредственно к деревянным элементам кровельного каркаса. Если же будет использоваться мягкое покрытие из битумной черепицы, то под него устанавливают такое же основание, которое ранее выполнялось для утеплителя. В этом случае можно отказаться от гидроизоляционной мембраны, а плиты OSB, фанеру или доски можно прикрепить прямо к брусу контробрешётки.
Опытные строители рекомендуют оставлять вентилируемый зазор не только под кровлей, но ещё и между слоями гидроизоляции и утеплителя. Именно такой вариант предусматривается производителями волокнистых материалов и оговаривается в существующих строительных нормах.
Инструкция по укладке утеплителя внутри несущего каркаса
Если для теплоизоляции снаружи кровли используются плиты из минеральной ваты, базальтового волокна или стекловаты, то порядок работ немного меняется.
- На нижний срез стропильных ног набивается стартовая доска. Её ширина должна равняться толщине уплотнителя — это защитит волокнистый материал от внешнего воздействия и не даст ему смещаться под действием силы гравитации.
- Если утепление мансарды выполняется на ранних этапах строительства, то с внутренней стороны в стропила вкручивают саморезы с шагом 40–50 мм. Натянув между ними тонкую оцинкованную проволоку или прочный капроновый шнур, можно предотвратить чрезмерное провисание теплоизоляции.
- Начиная от стартовой доски, по стропилам раскатывают полотнища пароизоляционной мембраны. Очень важно правильно ориентировать материал и не забывать о нахлёстах и проклейке стыков скотчем.
- Ориентируясь на шаг стропил, волокнистый материал обрезают с запасом по ширине в 3–5 см. Хотя при закладке утеплителя и придётся прикладывать небольшие усилия, за счёт упругости материала удастся устранить все щели, а кроме того, плиты минеральной или стеклянной ваты не будут проваливаться вниз.
- После того как весь утеплитель будет уложен в пространстве между стропилами, его укрывают слоем гидроизоляции. Подробно этот процесс был описан ранее.
Если толщина уплотнителя превышает ширину стропил, то для обеспечения вентиляционного зазора следует использовать контробрешёткуНеобходимый для вентиляции подкровельного пирога зазор обеспечат доски обрешётки. По этой причине конструкция с укладкой утеплителя между стропилами в контробрешётке не нуждается. Исключение составляет только один случай — когда стропила поднимаются над уровнем уплотнителя менее чем на 30 мм.
Видео: утепление кровли мансарды деревянного дома
Особенности утепления мансарды со стороны помещения
Работы по теплоизоляции стен и кровли мансардного помещения имеют много общего с описанными выше способами. Единственное, что при этом меняется — это порядок укладки отдельных слоёв теплоизоляционного пирога. Для мягких утеплителей работу ведут по следующей схеме.
- В обход деревянных конструкций кровельного каркаса крепится диффузионная гидроизоляция. Отдельные полосы материала укладывают внахлёст, закрепляя скотчем. Для крепления плёнки можно использовать степлер и тонкие деревянные рейки.
- В пространство между стропилами укладывается один или несколько слоёв теплоизоляции. Для поддержки плит минеральной или стеклянной ваты можно использовать капроновый шнур, натянутый между вбитыми в стропила гвоздями.
Для фиксации утеплителя используют шнур, который можно прикрепить к стропилам - На нижнюю сторону теплоизоляции накладываются полотна пароизоляционной мембраны, обеспечивая необходимый нахлёст и тщательно проклеивая стыки. Для крепления мембраны к стропилам используют строительный степлер и тонкие прокладки из плотного материала.
- Устанавливаются отделочные панели.
Способ монтажа декоративных материалов выбирают исходя из их особенностей. Так, гипсокартонные плиты можно крепить как непосредственно к стропилам (древесина обязательно должна быть сухой), так и на предусмотренные технологией оцинкованные профили. Для обшивки вагонкой может понадобиться обрешётка, а такие материалы, как пробковые или бамбуковые обои, потребуют соорудить сплошное основание из фанеры или OSB.
Видео: утепление мансарды изнутри
Следуя предоставленным выше инструкциям и рекомендациям, вы сможете получить для своего удобства и комфорта ещё одну жилую комнату. Не забывайте только о технике безопасности и обязательно используйте защитную спецодежду, респиратор и перчатки, если будете работать с минеральной и стеклянной ватой.
Благодаря разносторонним увлечениям пишу на разные темы, но самые любимые – техника, технологии и строительство. Возможно потому, что знаю множество нюансов в этих областях не только теоретически, вследствие учебы в техническом университете и аспирантуре, но и с практической стороны, так как стараюсь все делать своими руками. Оцените статью: Поделитесь с друзьями!masterok.guru
Утепление мансарды изнутри своими руками
На одном только строительстве мансарды дело не заканчивается. Если пришла пора утеплять — изучите этот материал, в нем мы приведем перечень советов по профессиональному монтажу и коснемся таких специфичных вопросов, как составление пирога кровли и защита сложных узлов примыканий.

Подготавливаем мансарду к утеплению
На все время проведения работ очень важно по максимуму освободить и без того не слишком просторные помещения, оставив только необходимый инструмент и приспособления. Стройматериалы лучше подавать на мансарду по мере необходимости.
Обходим и тщательно изучаем изнаночную сторону кровли. Сметаем пыль, паутину, делаем полную уборку помещения. Стропила и обрешетку покрываем из распылителя антисептиком, даже если древесина уже была обработана.

Теперь вы можете приступать к работе, но только при условии, что подкровельная вентиляция основательно продумана и будет функционировать так, как надо. В ином случае повышенная влажность сведет на нет всю пользу от утепления, но срывом обшивки и перезакладкой утеплителя в этот раз отделаться не получится. Если сомневаетесь, обратите внимание на системы коньковых вентиляторов и навесное утепление фронтонов, чтобы снизить риск неудачи.
Помните также, что не любую кровлю можно переделать под цели мансарды, не срывая настил. Основное ограничение — ширина вентиляционного зазора непосредственно под кровельным покрытием, который составляет от 35 до 100 мм в зависимости от уклона конкретного ската.
Обойдемся без контробрешетки
Теплоизоляция мансарды будет выполняться в два этапа. На первом все пространство между стропилами заполняется минераловатным утеплителем. Часто застройщик предлагает изнутри набить контробрешетку, чтобы сделать этот слой толще, но в случае с основательно утепленной мансардой это не имеет смысла. Суть в том, что подкровельная изоляция не учитывается в схеме утепления, она установлена лишь для исключения границ со слишком высокой разницей температур, где обычно и образуется конденсированная влага.
Слой подкровельной изоляции выполняется толщиной 100–150 мм со смещением внутрь. Обычно толщина стропил составляет 200–250 мм, поэтому оставшегося пространства с лихвой хватит для вентиляции. Толщина вентиляционного слоя должна соблюдаться непременно, даже в ущерб теплоизоляции.

На практике это реализовать несложно: по углам между стропилами и обрешеткой кровли прибиваются дистанционные рейки, толщина которых равна вентиляционному зазору. На этих рейках монтируется ограничивающая плоскость, используйте для этого пластиковую садовую сетку, дранку или растяжки из тонкой проволоки. Утеплитель не нужно крепить основательно, гораздо важнее дистанцировать его от гидроизоляции под кровельным покрытием.
Нужно ли капитальное утепление
Мансарда не всегда устраивается как жилое помещение. Если речь о теплом чердаке, то все дальнейшие усилия сводятся к обшивке помещения изнутри стружечными плитами или ДВП прямо по стропилам.
Если же мансарда должна быть действительно теплой, следует прибегнуть к одной хитрости. Суть ее в том, чтобы создать внутри отдельный контур утепления, отделенный от подкровельного глухим гидробарьером. Для его устройства по стропилам горизонтально пробиваются тонкие (15–20 мм) рейки с межосевым шагом, равным ширине рулонного материала. Именно на этих рейках выполняется склеивание горизонтальных рядов пленки и ее качественная фиксация. Распространенная техника герметизации алюминиевым скотчем не обеспечивает достаточной надежности.
Гидробарьер накрывается обшивкой из ОСП или фанеры, по ходу монтажа нужно намечать места установки стропил. В области мауэрлата монтируются вертикальные подпорки к стропилам. Они должны образовывать вертикальную плоскость, являющуюся продолжением ограждающих стен. Смещая эту перегородку внутрь, можно сделать мансарду более теплой в ущерб полезной площади и общим теплопотерям дома. Образовавшаяся клиновидная полость заполняется обрезками подкровельного утеплителя.
1 — кровельное покрытие; 2 — подкровельная пленка; 3 — стропила; 4 — пароизоляция; 5 — плиты ОСП; 6 — утеплитель
Далее на плоскости обшивки монтируется каркас, который крепится насквозь к стропильным балкам. Можно отдать предпочтение дюймовой доске шириной в 50, 80 или 100 мм под толщину используемой минваты. Доски устанавливаются горизонтально на ребро и закрепляются стальными уголками.
Возможно использование и стоечных профилей для ГКЛ сортамента 50 мм. Первый ряд набивается горизонтально, все последующие — перпендикулярно предыдущему. При таком монтаже меняется направление укладки утеплителя, а значит, исключаются сплошные мостики холода.
Укладываем и защищаем утеплитель
Для утепления мансарды не рекомендуется применять пенопласт или пенополистирольные плиты. Наилучшие показатели имеет контур из пеностекла, которое, впрочем, с успехом заменяется минеральной ватой. Плотность ее должна быть достаточно высокой, чтобы материал держал форму.
Перед закладкой утеплителя пройдитесь с баллоном монтажной пены по всем щелям и стыкам обшивки, особое внимание уделяйте углам у фронтонов, внешним углам на ендовах и примыканиям мансардных окон.

Если каркас многорядный, утеплитель следует закладывать поэтапно. После монтажа утеплителя его нужно накрыть двухслойным паробарьером, выполняя проклейку по деревянным рейкам или профилю, никакого скотча и крепления скобами. В результате вы получаете внутреннюю теплоизолированную капсулу, гарантированное отсутствие утечек влаги под кровлю и надежный каркас, пригодный для отделки гипсокартоном, ОСП или любым другим материалом.
Угловые примыкания — в чем специфика
Прежде чем приступить к внутренней отделке, убедитесь, что утеплитель уложен непрерывным контуром. Приобретая вату высокой плотности, вы столкнетесь с трудностью фигурных подрезок, а слишком мягкий утеплитель со временем собьется и осядет. Лучше всего использовать каменную вату 60–100 кг/м3. Ее не сложно стыковать, а небольшие зазоры легко заполняются полиуретановой пеной.
Из наиболее сложных участков вы, вероятно, встретите:
- Переход от плоского потолка к наклонным стенам.
- Сопряжение утеплителя стен с откосами.
- Примыкание наклонных стен к сплошному остеклению фронтона.
- Стыки между разнородными материалами.

Тонкости подкровельной вентиляции
Проветривание утеплителя под кровлей — тема для отдельного разговора. Однако базовые принципы и физика процессов предельно просты.
Наиболее эффективной считается схема, когда приточной воздух заходит под кровлю через карнизный свес или мауэрлат. Движение воздуха происходит естественным путем благодаря гравитации. Естественно, что чем больше отклонение от вертикали, тем труднее воздуху проходить, а значит, зазор должен быть больше.

Вывод вентиляции находится в зоне конька. Обычно на этом участке устраивают так называемый «холодный треугольник» и устанавливают аэраторы. Важно помнить, что основным источником влаги являются внутренние помещения, особенно при наличии ванной или душевой, либо постоянной сушке белья на мансарде. Поэтому нужно во что бы то ни стало предупредить проникновение влаги сплошным барьером и правильно разнести гидроизоляцию на две зоны, избегая условий, при которых может образовываться и скапливаться конденсат.
рмнт.ру
rmnt.mirtesen.ru
Утепление мансардной крыши: технология, материалы, инструменты
Возможность комфортного проживания в мансардном помещении непосредственно связана с правильно устроенным теплоизоляционным слоем.
Утепление дает возможность сохранять стабильное тепло внутри помещения, а во время летней жары создает в мансарде комфортную прохладу.
Однако для устройства действительно эффективной и надежной теплоизоляции кровли мансарды необходимы определенные знания, понимание процесса утепления и, конечно, навыки обращения с обычными инструментами.
Технология, схема процесса утепления крыши мансарды, его значение
Технология проведения утепления в основном аналогична утеплению обычной кровли. Разница состоит в том, что к утеплению мансардного помещения требования более жесткие.
А вы всё знаете о ендовах – обязательном элементе крыши?
Найти советы по правильному монтажу профнастила на крыше можно здесь.
Это связано с некоторыми особенностями конструкции мансарды. Дело в том, что стены внутреннего помещения вплотную прилегают к крыше, а в отдельных конструкциях представляют собой единое целое. По этой причине сохранять внутри стабильный температурный режим достаточно трудно: зимой помещение быстро охлаждается, а в летнюю жару очень сильно прогревается.
Схема утепления кровли мансарды напоминает пирог, который состоит из таких слоев:
- слой пароизоляционного материала;
- теплоизоляция;
- вентиляционные зазоры;
- слой гидроизоляции;
Все указанные элементы непременно должны присутствовать, поскольку у каждого из них свое назначение. Особое внимание следует сконцентрировать на слое теплоизоляционного материала и устройстве вентиляционных зазоров: от данных деталей в значительной степени зависит создание комфортной атмосферы внутри помещения.
Основной целью проведения теплоизоляции является, конечно же, сохранение максимально возможного количества тепла в холодное время года. Вторая функция процесса утепления – препятствование чрезмерному повышению температуры в жару.
Для того чтобы соответствовать перечисленным требованиям, используемый материал должен обладать низкой теплопроводностью. Чем ниже теплопроводность, тем меньше тепла может проникать через слой теплоизоляции и, соответственно, можно обойтись меньшей толщиной материала для достижения наиболее оптимальных характеристик.
Важность проведения теплоизоляции очень велика. Как уже было сказано, мансардные стены зачастую представляют единое целое с кровлей. Зимой, когда помещение отапливают, тепло поднимается наверх, где передается кровельному материалу.
При выпадении снега его слой на кровле начинает играть роль природного утеплителя в силу своей структуры и благодаря создаваемым внутри воздушным карманам. Однако относится это лишь к низкому температурному режиму (около минус 2 градусов и ниже).
Если теплоизоляционный слой изготовлен из материала с недостаточно низким уровнем теплопроводности, то под воздействием внутреннего тепла снеговой слой тает, превращается в лед, который уже не способствует сохранению тепла, а, наоборот, охлаждает помещение. Кроме того, лед повышает нагрузку на кровлю и становится причиной повреждения или разрушения кровельного покрытия.
Всего этого можно избежать при правильном выполнении теплоизоляции: в этом случае снежный слой будет равномерно лежать на поверхности кровли и не растает.
Относительно роли теплоизоляции в жаркое время года: тут все значительно проще.
При отсутствии слоя теплоизоляционного материала или высокой степени теплопроводности используемого материала помещение чрезмерно перегревается, и находиться в нем становится невозможно.
Наличие необходимого материала с достаточно низкой теплопроводностью обеспечит сохранение умеренной температуры, которая лишь на несколько градусов будет превосходить среднюю температуру внутри дома.
Для правильного выполнения работы следует учитывать конструкцию крыши и знать о ее влияние на качество проводимой теплоизоляции.
Разница между обычной и мансардной кровлей состоит в параметрах вентиляционного пространства, расположенного между крышей и жилым помещением.
Кровля обычного типа оснащена чердаком со слуховыми окнами, в то время как у мансардного типа кровли размеры вентиляционного пространства составляют 10-15 см.
Для правильного выполнения работ грамотно сделанная вентиляция не менее важна, чем величина показателя теплопроводности используемого материала.
Важность вентиляции обусловлена несколькими причинами.
- Первая причина: наличие вентиляции позволяет избавляться от избытка влаги в подкровельном пространстве, что способствует сохранению конструкции и продлению срока ее службы.
- Вторая: зимой, когда помещение отапливается, вентиляция предохраняет крышу от перегревания и является профилактикой образования ледяного слоя.
- Третья причина: в летнюю жару благодаря наличию вентиляции часть тепла уходит из подкровельного пространства, что предупреждает перегрев деталей кровельной конструкции и значительное повышение температуры во внутреннем помещении.
Какой материал выбрать?
До начала работ необходимо определиться с выбором материала утеплителя, поскольку от него зависит, сколько слоев будет в теплоизоляционном пироге, а также какова толщина его слоя.
На сегодняшний день на рынке стройматериалов представлен широчайший выбор материалов для устройства теплоизоляции.
Особенной популярностью пользуются стекловата, минеральная вата, вспененное стекло, экструдированный пенополистирол, пенополиуретан, пенопласт. Не надо игнорировать и природные утеплители: солому, древесную стружку, бумагу.
При выборе того или иного материала для утепления мансардной кровли надо обращать внимание на четыре основных показателя.
- Первым и самым важным является коэффициент теплопроводности. Оптимальным выбором является теплоизолятор, коэффициент которого не больше 0,05 Ватт на квадратный метр.
- Вторым параметром является влагоустойчивость. Чем выше данный показатель, тем материал качественнее.
- Третий показатель: огнестойкость.
- Четвертый: экологическая безопасность.
Особенно надо концентрироваться на первых двух характеристикам: устойчивость к возгоранию и экологичность не являются решающими факторами при выборе.
Выбирая стекловату или минеральную вату, надо иметь в виду, что с течением времени теплоизоляционные качества этих материалов значительно ухудшаются. Данный процесс обусловлен двумя причинами.
- Первая состоит в том, что материал может слежаться или рассыпаться.
- Второй причиной является превышение допустимых норм уровня влажности, поскольку вата впитывает воду.
- К недостаткам материала относится и то, что он не отличается особой прочностью, плохо справляется с механическими нагрузками и под их влиянием разрушается.
- Другим минусом ваты является то, что при ее использовании появляется необходимость создавать толстый пирог, состоящий из 3 или 4 слоев утеплителя для достижения необходимой теплоизоляции. Кроме того, надо устраивать несколько слоев гидро- и пароизоляции.
- Положительными качествами минеральной ваты и стекловаты являются их общедоступность и умеренная цена.
Возможно также произвести утепление пенопластом. Его основными преимуществами являются влагостойкость и отличные теплоизоляционные качества. Однако при выборе следует быть внимательным, поскольку для данной цели подходит не любой вид этого утеплителя.
Почему с техниколь кровля будет предметом зависти соседей?
Определиться с ценой и выгодно купить подшивку свесов для крыши помогут наши советы.
Если вы решаете вопрос, чем лучше покрыть крышу гаража, ответы можно найти в статье по адресу https://rooffs.ru/vidy-krysh/sovety/chem-pokryt-garazh.html.
Экструзионный пенополистирол максимально близок по качественным характеристикам к пенопласту. Он тоже отличается высокой водостойкостью, класс его горючести – от Г1 до Г4, а коэффициент теплопроводности составляет 0,05 Вт/м*К.
- Отрицательным качеством пенополистирола является его высокая цена, а также синтетическое происхождение.
Для сторонников экологичных материалов прекрасным выбором являются пеностекло, гранулированная бумага, солома, камыш, трапы на основе морских водорослей.
- Данные теплоизоляторы обладают низким уровнем теплопроводности и соответствуют всем экологическим требованиям.
- Однако каждый из них имеет свои минусы. Пеностекло чрезвычайно хрупкое, а солома, камыши, морские водоросли пожароопасны. Кроме того, укладка теплоизоляции на основе натуральных материалов требует определенных умений. При использовании гранулированной бумаги, кроме навыков, понадобится также специальное оборудование.
Инструкция по утеплению кровли мансарды
Работы по утеплению заключаются в подготовке необходимого для создания теплоизоляции пространства, укладки заранее подготовленного материала и его фиксации.
- Еще во время возведения стропильной системы учитывать шаг для их установки. Величина шага должна быть такой, чтобы обеспечить надежность кровельной конструкции и дать возможность размещения между стропилами впритирку матов и плит теплоизоляционного материала.
При применении влагоустойчивого материала укладку пароизоляции можно не осуществлять. При низкой устойчивости к воздействию воды и пара (например, при использовании стекловаты) необходимо поверх стропил уложить слой пароизоляции.
- Сначала надо набить контробрешетку и обрешетку, на них уложить слой паропрозрачной водонепроницаемой пленки (мембраны). Полученный между контробрешеткой и утеплителем зазор выполняет роль вентиляции. В качестве дополнительной меры рекомендуется в крыше устроить вентиляционные продухи.
- С внутренней стороны, между стропильными балками, необходимо уложить и зафиксировать теплоизоляцию. При этом надо помнить об одном важном моменте: стропильные ноги изготавливаются из дерева или металла. В обоих случаях коэффициент теплопроводности материала, послужившего основой для стропил, значительно выше, чем у теплоизоляционного слоя. Поэтому стропильные балки становятся мостиками холода. Для исправления данного недостатка поверх устроенной теплоизоляции и стропильной системы нужно обустроить еще один целостный сплошной слой теплоизоляции. Это не очень удобно, поскольку скрывает стропильные брусы, к которым надо будет крепить другие детали мансардной конструкции.
- Для облегчения проведения будущих работ следует отметить места расположения стропил.
- Над слоем теплоизоляции укладывается паропроницаемая пленка, после чего все фиксируется при помощи внутренней обрешетки.
ВЫВОДЫ:
- В домах с мансардным помещением проведение теплоизоляции является необходимостью.
- Утепление выполняет две функции: сохраняет тепло и предупреждает перегрев помещения.
- Техника утеплительных работ в основном аналогична технике утепления обычных кровель.
- При проведении работ надо учитывать конструкцию кровли.
- Устройство вентиляции – очень важный момент при создании теплоизоляционного слоя.
- Каждый из теплоизоляционных материалов имеет свои преимущества и недостатки.
- Для правильного выбора надо учитывать коэффициент теплопроводности материала и его влагоустойчивость.
- Утеплительные работы заключаются в подготовке пространства и укладке материала.
Видео урок по утеплению мансардной крыши.
rooffs.ru

При закладке утеплителя поверх стропильной системы экономится полезная площадь мансарды и повышается качество теплоизоляции кровли
Предотвратить сползание утеплителя поможет стартовая доска (фиксирующий брус), которую крепят на уровне внешних стен здания
Для утепления кровли лучше всего подходит пенополистирол с пазогребневой кромкой — в этом случае исключаются любые зазоры и неплотности
Для фиксации утеплителя используют шнур, который можно прикрепить к стропилам